Водонагреватели Gorenje GBK 100 ORLNB6 - инструкция пользователя по применению, эксплуатации и установке на русском языке. Мы надеемся, она поможет вам решить возникшие у вас вопросы при эксплуатации техники.
Если остались вопросы, задайте их в комментариях после инструкции.
"Загружаем инструкцию", означает, что нужно подождать пока файл загрузится и можно будет его читать онлайн. Некоторые инструкции очень большие и время их появления зависит от вашей скорости интернета.

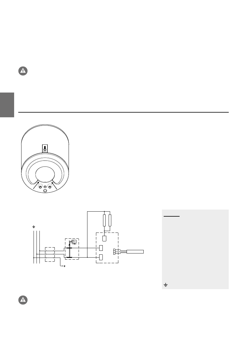
ПОДКЛЮЧЕНИЕ К ЭЛЕКТРОСЕТИ
Перед подключением к электросети необходимо к водонагревателю
необходимо подключить соединительный шнур с минимальным
сечением 1,5 мм
2
(H05VV-F 3G 1,5 мм
2
). Для этого следует снять
предохранительную крышку.
Между водонагревателем и сетью электропитания должно быть
предусмотрено соответствующе национальными стандартами монтажа
электроустановок устройство, позволяющее полностью отключить прибор
от сети.
ЛЕГЕНДА
1
Соединительная скоба
2
Биметаллический
предохранитель
3
Электронный регулятор
4
Нагревательный элемент
(2 x 1000 Вт)
5
Температурный датчик
L
Фазовый проводник
N
Нейтральный провод
Защитный проводник
ВНИМАНИЕ: Перед тем как производить любые действия по уходу, ремонту или очистке
обязательно отключите водонагреватель от электросети! Все действия должны выполнять
специалисты, имеющие необходимую квалификацию!
Рис. 5:
Снятие предохранительной крышки
Рисунок 6:
Электросхема
Водонагреватель GBK, также может подключить к циркуляционному водопроводу горячей воды.
Циркуляционный водопровод горячей вода позволяет, чтоб на всех точках потребления одновременно
была доступна горячая вода. Возвратную трубу горячей воды установите на разъем на верхней
части водонагревателя. Перед подключением необходимо снять пластиковую крышку и открутить
уплотнительный колпачок на верхней части водонагревателя. Элементы обратной воды может быть
дополнительно приобрести в официальных сервисных центрах нашей продукции.
ВНИМАНИЕ: Возвратную трубу горячей воды установите до заполнения водонагревателя
водой. Использование циркуляционного водопровода приводит к дополнительным
потерям тепла в водонагревателе.
1
N
230 V~
H1
K1
1
2
3
T1
T2
L
N
L
5
3
2
4
26
RU
548806