Водонагреватели DEXP WH-ER100MNAN/W - инструкция пользователя по применению, эксплуатации и установке на русском языке. Мы надеемся, она поможет вам решить возникшие у вас вопросы при эксплуатации техники.
Если остались вопросы, задайте их в комментариях после инструкции.
"Загружаем инструкцию", означает, что нужно подождать пока файл загрузится и можно будет его читать онлайн. Некоторые инструкции очень большие и время их появления зависит от вашей скорости интернета.

.
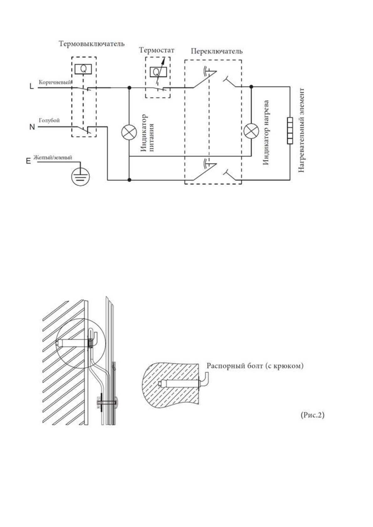
Электрическая схема
Установка водонагревателя
1.
Данный водонагреватель должен устанавливаться на несущую стену. Если стена не способна
выдерживать двойной вес водонагревателя, наполненного водой, необходимо установка
дополнительного усиления. Если в кирпичной стене имеются отверстия, заполните их
цементным раствором.
2.
После выбора подходящего места установки определите положение двух отверстий для
распорных болтов с крюком (определяется согласно спецификации устройства). Просверлите два
отверстия соответствующей глубины в стене с помощью ударной дрели по размеру распорных
болтов, идущих в комплекте с водонагревателем, вкрутите болты крюком вверх, закрутите гайки
плотно, после этого повесьте водонагреватель на крюки (см. рис. 2).
3.
Установите электрическую розетку на стену. Требования к розетке следующие: 250 В/10 А,
однофазная, трехконтактная. Рекомендуется устанавливать розетку справа от водонагревателя.
Высота установки розетки до пола не менее 1.8 м. (см. рис. 3). Если шнур питания поврежден,
необходимо использовать специальный кабель питания, указанный производителем, который
должен быть заменен квалифицированным специалистом.