Buderus Logalux SU200/5E W 8718543079 - Инструкция по эксплуатации - Страница 99

Водонагреватели Buderus Logalux SU200/5E W 8718543079 - инструкция пользователя по применению, эксплуатации и установке на русском языке. Мы надеемся, она поможет вам решить возникшие у вас вопросы при эксплуатации техники.

Если остались вопросы, задайте их в комментариях после инструкции.

"Загружаем инструкцию", означает, что нужно подождать пока файл загрузится и можно будет его читать онлайн. Некоторые инструкции очень большие и время их появления зависит от вашей скорости интернета.
Страница:
/ 108
Загружаем инструкцию
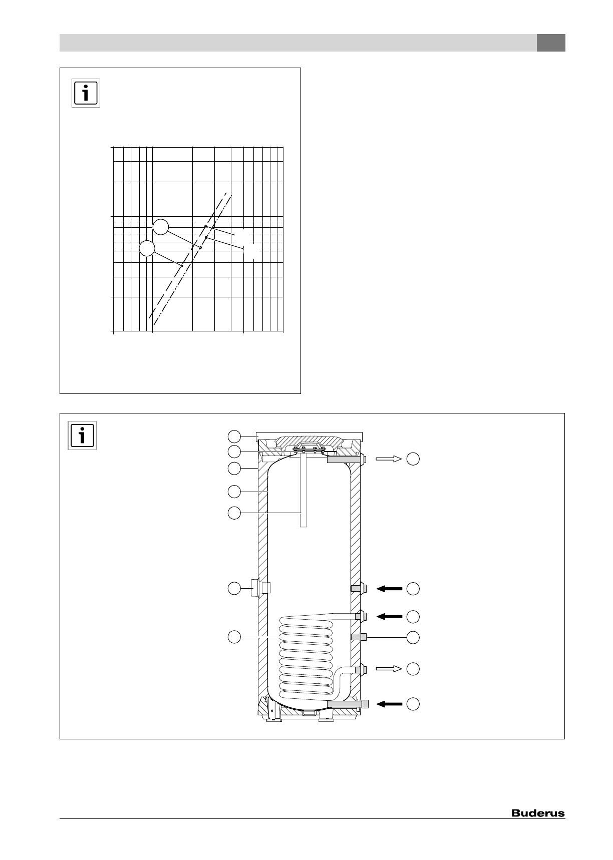
background image

 

SU120/5, SU160/5, SU200/5, SU200/5E – 6 720 801 756 (2012/06)

99

2

[1]

SU120/5

[2]

SU160/5, SU200/5, SU200/5E

[A]

67 mbar
2600 kg/h

[B]

82 mbar
2600 kg/h

3

6 720 

8

01 707-03.1ITL

m

[kg/h]

Δp

[mbar]

10

20

100

400

500

1000

5000

10000

1

B

A

2

6 720 

8

01 707-02.1ITL

11

13

12

10

9

8

7

1

5

3

6

2

4

Полезные видео

Характеристики

Оцените статью
tehnopanorama.ru
Остались вопросы?

Не нашли свой ответ в руководстве или возникли другие проблемы? Задайте свой вопрос в форме ниже с подробным описанием вашей ситуации, чтобы другие люди и специалисты смогли дать на него ответ. Если вы знаете как решить проблему другого человека, пожалуйста, подскажите ему :)

Задать вопрос

Часто задаваемые вопросы
Как посмотреть инструкцию к Buderus Logalux SU200/5E W 8718543079?
Необходимо подождать полной загрузки инструкции в сером окне на данной странице
Руководство на русском языке?
Все наши руководства представлены на русском языке или схематично, поэтому вы без труда сможете разобраться с вашей моделью
Как скопировать текст из PDF?
Чтобы скопировать текст со страницы инструкции воспользуйтесь вкладкой "HTML"