Водонагреватели Bosch SK 1000 ZB 7747312198 - инструкция пользователя по применению, эксплуатации и установке на русском языке. Мы надеемся, она поможет вам решить возникшие у вас вопросы при эксплуатации техники.
Если остались вопросы, задайте их в комментариях после инструкции.
"Загружаем инструкцию", означает, что нужно подождать пока файл загрузится и можно будет его читать онлайн. Некоторые инструкции очень большие и время их появления зависит от вашей скорости интернета.

16
|
Техническое обслуживание
6 720 641 560 (2009/09)
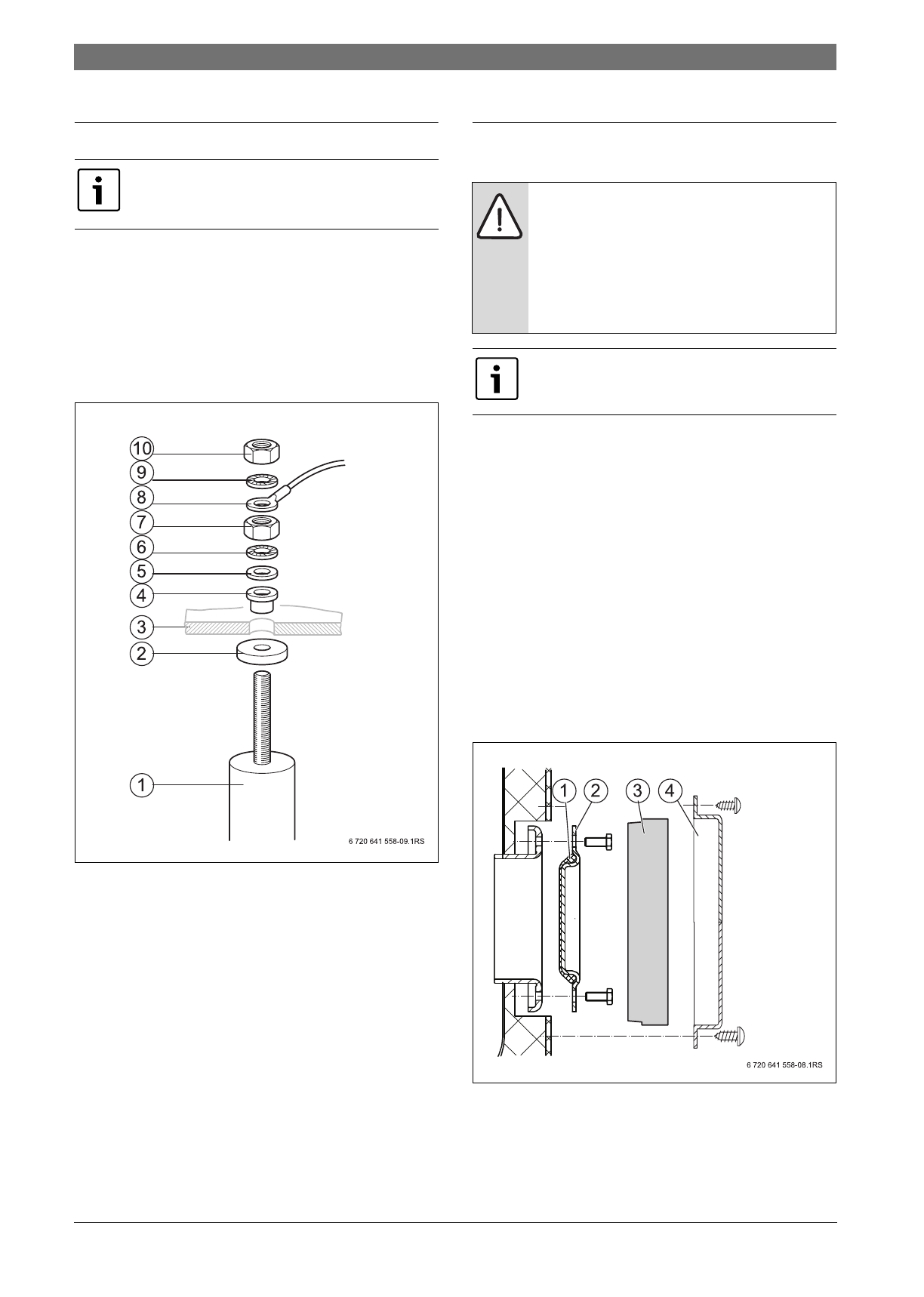
6.4
Замена магниевого анода
B
Отверните гайку M8 [10] и снимите ушко
заземляющего провода [8].
B
Отверните гайку M8 [7].
B
Снимите крышку люка [3] с магниевого анода [1].
B
Замените магниевый анод.
B
Смонтируйте новый магниевый анод с
прилагаемыми деталями.
Рис. 14 Замена магниевого анода
1
Магниевый анод
2
Уплотнение
3
Крышка люка
4
Изолирующая втулка
5
U-образная шайба
6
Зубчатая шайба
7
Гайка (M8)
8
Ушко заземляющего провода
9
Зубчатая шайба
10
Гайка (M8)
6.5
Включение бойлера после
технического обслуживания
B
Установите на прежнее место крышку смотрового
люка [2] с новым уплотнением [1].
B
Заверните винты крепления крышки люка [2]
сначала вручную, а затем затяните
динамометрическим ключом с моментом 35 -
40 Нм.
B
Заполните бойлер и включите отопительную
установку.
B
Проверьте отсутствие протечек во всех
соединениях, магниевом аноде и крышке
смотрового люка.
B
Установите теплоизоляционный элемент [3] крышку
[4].
B
Уложите верхнюю теплоизоляцию и оденьте крышку
на бойлер (
Æ
Рис. 15 Монтаж крышки смотрового люка
1
Уплотнение
2
Крышка смотрового люка
3
Теплоизоляционный элемент
4
Крышка люка
Используйте цепной анод, если высоты
помещения недостаточно для установки
нового цепного анода.
УВЕДОМЛЕНИЕ:
Возможен выход
бойлера из строя из-за поврежденного
уплотнения!
B
Чтобы избежать неплотностей в
бойлере, после чистки и технического
обслуживания установите новое
уплотнение крышки люка.
При установке уплотнения учитывайте
обозначение "Сторона крышки"!













