VITEK VT-1635 VT - Инструкция по эксплуатации

VITEK VT-1635 VT

Соковыжималка VITEK VT-1635 VT - инструкция пользователя по применению, эксплуатации и установке на русском языке. Мы надеемся, она поможет вам решить возникшие у вас вопросы при эксплуатации техники.

Если остались дополнительные вопросы — свяжитесь с нами через контактную форму.

1 Страница 1
2 Страница 2
3 Страница 3
4 Страница 4
5 Страница 5
6 Страница 6
7 Страница 7
8 Страница 8
9 Страница 9
10 Страница 10
11 Страница 11
12 Страница 12
13 Страница 13
14 Страница 14
15 Страница 15
16 Страница 16
17 Страница 17
18 Страница 18
19 Страница 19
20 Страница 20
21 Страница 21
22 Страница 22
23 Страница 23
24 Страница 24
25 Страница 25
26 Страница 26
27 Страница 27
28 Страница 28
29 Страница 29
30 Страница 30
31 Страница 31
32 Страница 32
33 Страница 33
34 Страница 34
35 Страница 35
36 Страница 36
37 Страница 37
38 Страница 38
39 Страница 39
40 Страница 40
Страница: / 40

Содержание:

  • Страница 12 – РУССКИЙ
  • Страница 13 – Подготовка к работе
  • Страница 14 – ВНИМАНИЕ
  • Страница 15 – • Храните прибор в сухом прохладном месте, недоступном для детей.; Неисправность; Соковыжималка не работает; Технические характеристики:; Срок службы прибора - 3 года
Загрузка инструкции

1635.indd 1

1635.indd 1

07.12.2010 14:13:41

07.12.2010 14:13:41

"Загрузка инструкции" означает, что нужно подождать пока файл загрузится и можно будет его читать онлайн. Некоторые инструкции очень большие и время их появления зависит от вашей скорости интернета.

Краткое содержание

Страница 12 - РУССКИЙ

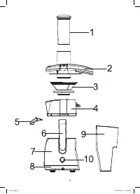
12 СОКОВЫЖИМАЛК А ОПИСАНИЕ ПРИБОРА 1. Толкатель2. Крышка3. Фильтр-терка4. Сокосборник5. Носик для слива сока6. Фиксаторы крышки 7. Клавиша включения/выключения «0/I»8. Противоскользящие ножки 9. Моторный блок 10. Контейнер для отжимок МЕРЫ ПРЕ ДОСТОРОЖНОСТИПрежде чем начать пользоваться элек-троприб...

Страница 13 - Подготовка к работе

13 РУССКИЙ безопасность, даны соответствующие и понятные им инструкции о безопасном ис-пользовании устройства и тех опасностях, которые могут возникать при его непра-вильном использовании. • Запрещается погружать моторный блок в воду или другие жидкости, а также промывать его под струей воды. Для оч...

Страница 14 - ВНИМАНИЕ

14 РУССКИЙ ВНИМАНИЕ : Максимально допустимое вре- мя непрерывной работы соковыжималки - не более 2 минут с последующим перерывом не менее 2 минут. • После использования соковыжималки вы- ключите ее, установив клавишу (7) в поло-жение выключено «O», дождитесь полной остановки вращения фильтра-терки (...

Характеристики

Другие модели - Соковыжималки VITEK

Все соковыжималки VITEK