Винные шкафы Smeg CVF318XS - инструкция пользователя по применению, эксплуатации и установке на русском языке. Мы надеемся, она поможет вам решить возникшие у вас вопросы при эксплуатации техники.
Если остались вопросы, задайте их в комментариях после инструкции.
"Загружаем инструкцию", означает, что нужно подождать пока файл загрузится и можно будет его читать онлайн. Некоторые инструкции очень большие и время их появления зависит от вашей скорости интернета.

Описание
162
2 Описание
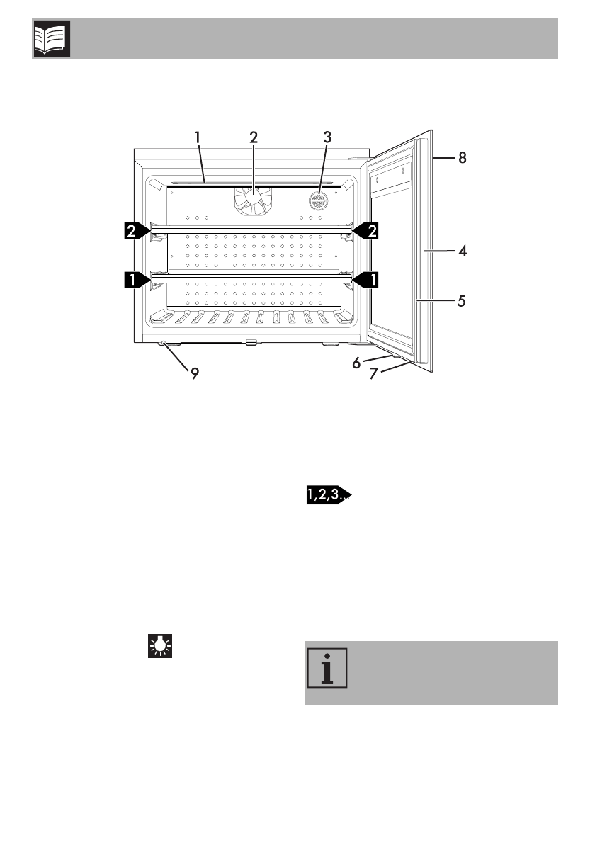
2.1 Общее описание
1 Внутреннее освещение
2 Вентилятор (скрытый)
3 Угольный фильтр
4 Дверца
5 Уплотнитель дверцы
6 Магнит
7 Блок закрытия
8 Панель управления
9 Механизм push-pull
Съемная полка
2.2 Определение частей
Внутреннее освещение
Внутреннее освещение прибора
включается при открытии дверцы
(максимальная яркость) или при нажатии
кнопки освещения
на панели
управления (средняя яркость).
Угольный фильтр
Обеспечивает оптимальное качество
воздуха для хранения вин.
Вентилятор (скрытый)
Необходим для распределения
температуры и уменьшения конденсата
на опорных поверхностях.
Во время работы вентилятора
потребление электроэнергии
увеличивается.
Характеристики
Остались вопросы?Не нашли свой ответ в руководстве или возникли другие проблемы? Задайте свой вопрос в форме ниже с подробным описанием вашей ситуации, чтобы другие люди и специалисты смогли дать на него ответ. Если вы знаете как решить проблему другого человека, пожалуйста, подскажите ему :)