Видеомагнитофоны Panasonic NV-HS1000EGC - инструкция пользователя по применению, эксплуатации и установке на русском языке. Мы надеемся, она поможет вам решить возникшие у вас вопросы при эксплуатации техники.
Если остались вопросы, задайте их в комментариях после инструкции.
"Загружаем инструкцию", означает, что нужно подождать пока файл загрузится и можно будет его читать онлайн. Некоторые инструкции очень большие и время их появления зависит от вашей скорости интернета.

7
Видеомагнитофон
Телевизор
Питание
включено
Режим
VTR
Выбран
входной
сигнал
AV
Режим
TV
Выбран
входной
сигнал
от
тюнера
телевизора
*
Питание
выключено
-
Выбран
входной
сигнал
от
тюнера
телевизора
*
Когда
видеомагнитофон
установлен
в
режим
TV
и
выбран
канал
платного
телевидения
,
сигналы
будут
продолжать
оставаться
зашифрованными
,
даже
когда
канал
платного
телевидения
выбран
на
тюнере
телевизора
.
В
таком
случае
либо
установите
видеомагнитофон
в
режим
VTR ,
либо
переключите
режим
входного
сигнала
на
телевизоре
в
режим
AV.
(
стр
. 8)
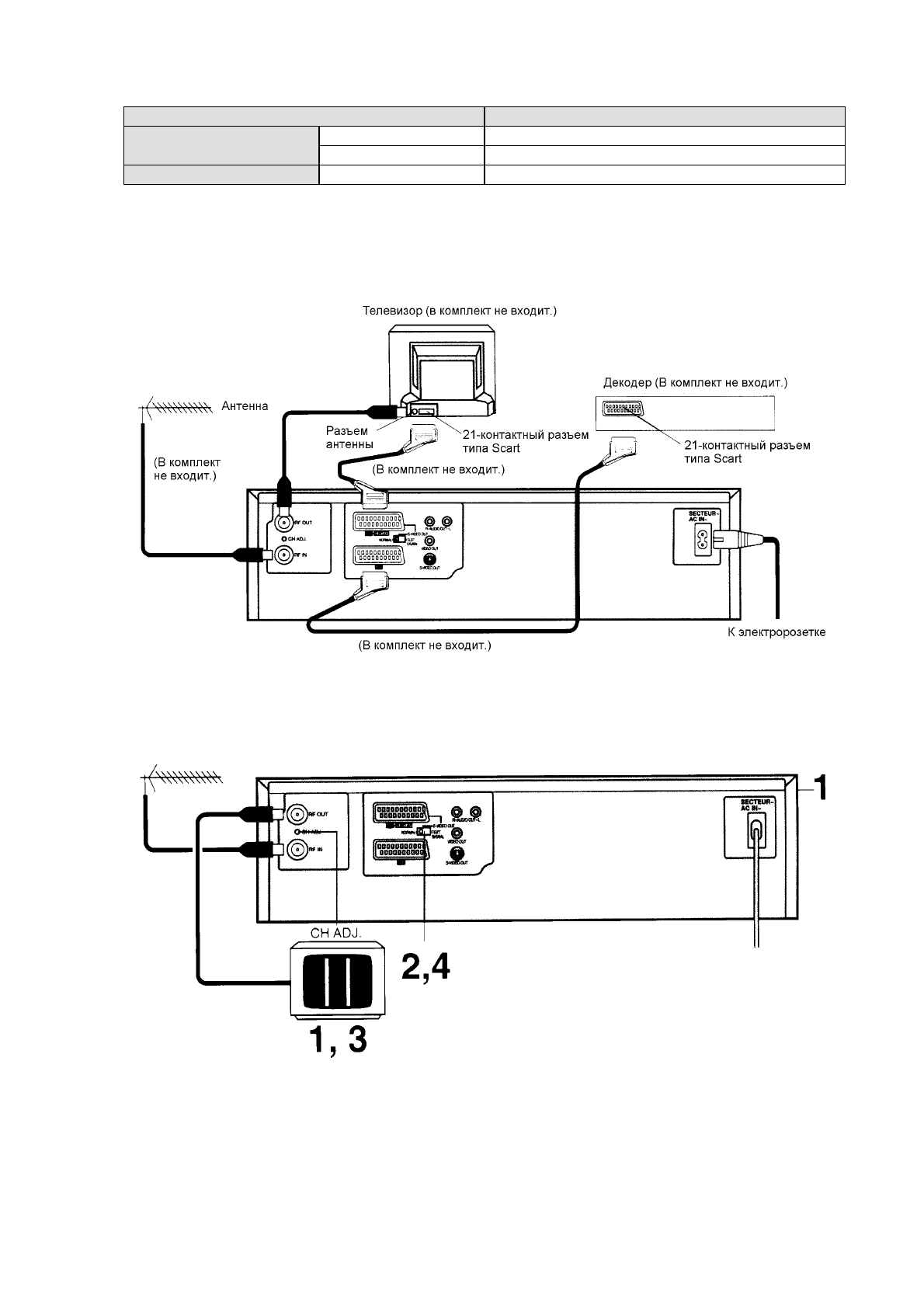
Настройка
телевизора
для
подключения
вашего
видеомагнитофона
Видеомагнитофон
передает
сигнал
на
телевизор
по
коаксиальному
кабелю
RF
на
канал
36.
Это
обеспечивает
возможность
просмотра
видеоизображения
на
экране
телевизора
точно
также
,
как
вы
просматриваете
телевещание
.
Если
вы
подсоединили
видеомагнитофон
к
телевизору
через
2
1
-
контактный
разъем
типа
Scart,
или
через
гнезда
AUDIO/VIDEO/S-VIDEO,
вам
не
нужно
следовать
процедуре
,
приведенной
ниже
.
Процедура