Видеомагнитофоны Panasonic NV-HS1000EGC - инструкция пользователя по применению, эксплуатации и установке на русском языке. Мы надеемся, она поможет вам решить возникшие у вас вопросы при эксплуатации техники.
Если остались вопросы, задайте их в комментариях после инструкции.
"Загружаем инструкцию", означает, что нужно подождать пока файл загрузится и можно будет его читать онлайн. Некоторые инструкции очень большие и время их появления зависит от вашей скорости интернета.

55
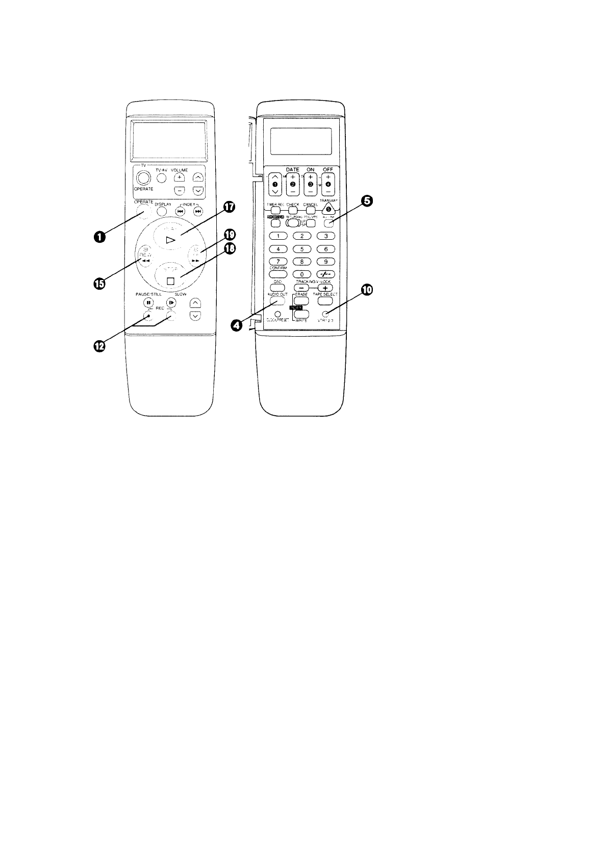
(5) AV
LINK
Для
выбора
режима
VTR
или
TV
для
AV LINK.
(6) PAL/MESECAM
Устанавливайте
в
соответствии
с
телевизионной
системой
передачи
цвета
,
использованной
при
записи
или
воспроизведении
.
(7)
Индикатор
S-VHS
Загорается
,
когда
переключатель
S-
VHS
установлен
в
позицию
ON.
(
стр
. 5
1
)
(8) S-VHS
При
записи
на
кассету
S-VHS
выбирайте
желаемый
формат
записи
с
помощью
данного
переключателя
.
ON:
Запись
будет
произведена
в
формате
S-VHS.
Загорается
индикатор
S-VHS.
OFF:
Запись
будет
произведена
в
формате
VHS.
Индикатор
S-VHS
гореть
не
будет
.
(
Существует
возможность
записи
в
формате
VHS
на
кассете
S-VHS
для
последующего
воспроизведения
кассеты
на
другом
видеомагнитофоне
формата
VHS.)
•
При
использовании
кассет
VHS
запись
будет
произведена
в
формате
VHS,
независимо
от
позиции
,
в
которую
установлен
переключатель
.
•
Для
воспроизведения
устанавливать
данный
переключатель
нет
необходимости
.
•
Когда
кассета
,
которая
была
записана
в
формате
S-VHS,
воспроизводится
на
обычном
видеомагнитофоне
формата
VHS,
воспроизводимое
изображение
не
может
быть
получено
.
(9)
Дисплей
.
(
1
0)
Режим
дистанционного
управления
(VTR
1
/2/3)
VTR
1
:
Установите
в
данную
позицию
на
пульте
дистанционного
управления
и
на
видеомагнитофоне
для
обычного
использования
одного
видеомагнитофона
.
VTR2 :
Устанавливайте
в
данную
позицию
при
использовании
двух
видеомагнитофонов
Panasonic.
VTR3 :
Устанавливайте
в
данную
позицию
при
использовании
трех
видеомагнитофонов
Panasonic.
Это
позволяет
настраивать
пульт
для
управления
в
режимах
VTR
1
, VTR2
или
VTR3.
(
11
)
\/ (-) /\ (+)
Для
выбора
требуемой
программной
позиции
(
телевизионной
станции
).
Для
настройки
часов
и
режима
записи
по
таймеру
.
(
1
2) REC
Для
включения
начала
записи
.
(
1
3) SP/LP
(NEXT)
Для
выбора
скорости
перемещения
пленки
,
необходимой
для
записи
.
Режим
SP
дает
лучшее
качество
изображения
.
Режим
LP
обеспечивает
большее
время
записи
.
Также
используется
для
перехода
к
следующей
позиции
при
процедуре
настройки
.
(
1
4) RESET
Для
установки
счетчика
пленки
(
прошедшего
времени
)
на
значение
"0:00.00".
•
Счетчик
пленки
автоматически
устанавливается
на
значение
"0:00.00",
когда
загружается
видеокассета
.
(
1
5) REW
(REWIND)
В
режиме
остановки
:
Для
перемотки
пленки
назад
.