Видеомагнитофоны Panasonic AG-8600E_AG-8700E - инструкция пользователя по применению, эксплуатации и установке на русском языке. Мы надеемся, она поможет вам решить возникшие у вас вопросы при эксплуатации техники.
Если остались вопросы, задайте их в комментариях после инструкции.
"Загружаем инструкцию", означает, что нужно подождать пока файл загрузится и можно будет его читать онлайн. Некоторые инструкции очень большие и время их появления зависит от вашей скорости интернета.

Р
-24
ПРИМЕЧАНИЕ
•
Настройка
корректора
временной
развертки
при
помощи
экранного
меню
TBC SET
невоз
-
можна
в
режиме
остановки
.
[3]
Произведите
настройку
различных
параметров
корректора
Производите
настройку
параметров
корректора
так
,
чтобы
на
экранах
контрольного
ос
-
циллографа
и
вектроскопа
появились
приводимые
ниже
картинки
:
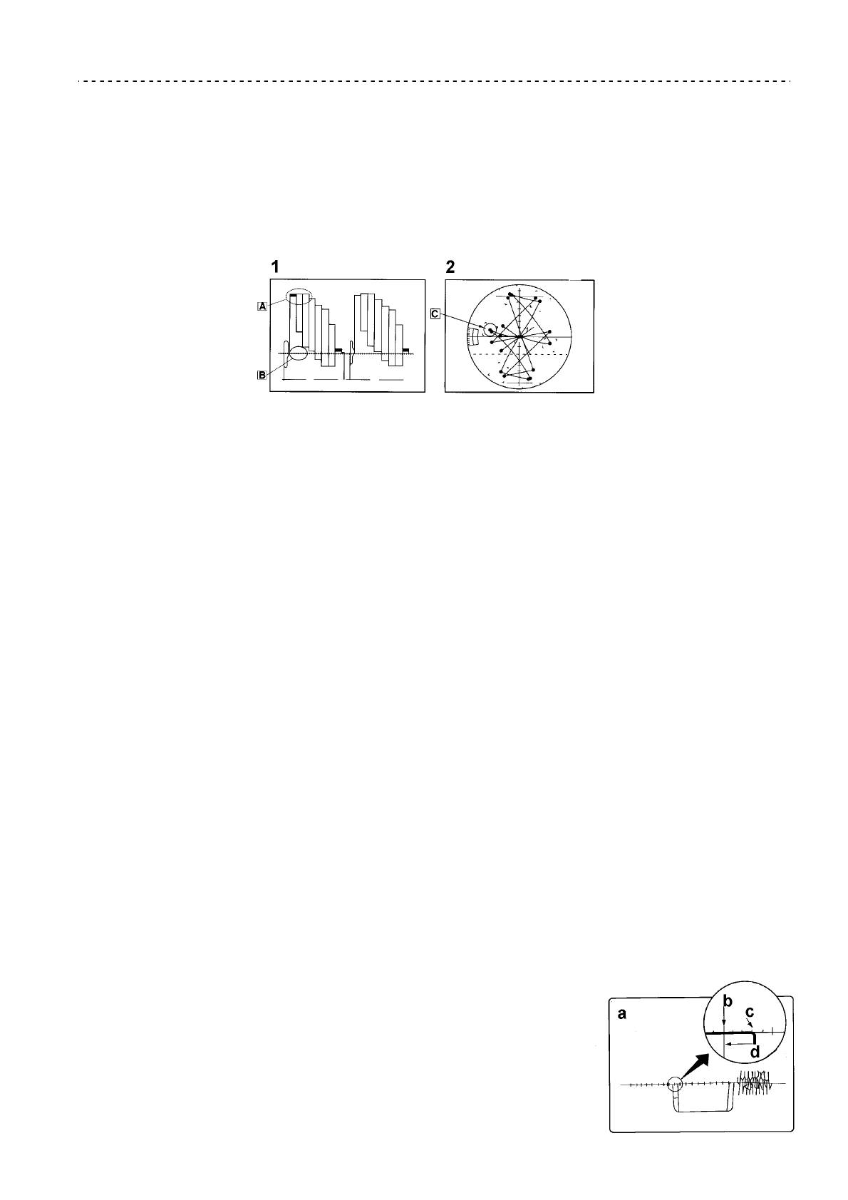
1
.
Форма
сигнала
на
экране
контрольного
осциллографа
2.
Форма
сигнала
на
экране
вектроскопа
[A]
Видео
уровень
Настраивается
на
1
В
.
[B]
Уровень
черного
Настраивается
так
,
чтобы
не
было
никаких
отклонений
(
девиаций
)
[C]
Уровень
сигнала
цветности
Настраивается
так
,
чтобы
был
достигнут
заданный
уровень
Фаза
сигнала
цветности
Настраивается
так
,
чтобы
траектория
вектора
формы
сигнала
располагалась
в
преде
-
лах
отметки
[+]
на
экране
вектроскопа
.
[4]
Настройка
компенсатора
цветового
сдвига
(
задержки
YC-
сигнала
) YC DELAY
(
обычно
не
требуется
)
Компенсирует
цветовой
сдвиг
(
задержку
YC-
сигнала
)
воспроизводимой
кассеты
.
Каждый
шаг
настройки
компенсатора
соответствует
примерно
70
нс
.
[5]
Настройка
регуляторов
системных
фаз
SYSTEM PHASE
#
Начните
воспроизведение
пленки
с
записанными
стандартными
контрольными
цве
-
товыми
полосами
на
плеере
1
(
Р1
).
$
Настройте
регуляторы
системных
фаз
так
,
чтобы
на
экране
контрольного
осцилло
-
графа
появилась
приводимая
ниже
форма
сигнала
:
!"
Форма
сигнала
на
экране
контрольного
осциллографа
a) (
точность
до
0,
1
мк
с
)
b)
В
режиме
INT
c)
В
режиме
EXT
d)
Настраивать
здесь
Содержание
- 3 Введение
- 4 WIDE
- 6 INSERT AUDIO CH
- 8 DIAL MODE
- 11 Включение; Нажмите
- 12 MEMO
- 13 CH2 METER
- 14 REC
- 15 Воспроизведение; PLAY; ПРИМЕЧАНИЯ
- 17 Поиск; Режим
- 18 Автостоп; RESET
- 19 Установки; СН; Установки
- 24 ПРИМЕЧАНИЕ; SYSTEM PHASE
- 25 Описание
- 26 FRAME LOCK; TRACKING; FRAME
- 28 MEMORY
- 29 AUTO
- 30 EDIT; Раздельный; AUDIO CH
- 33 МЕМО
- 34 Опции; Опция
- 35 Имя
- 47 Способы
- 48 Адресно; Пленка; Пользовательские; L U B R
- 50 Переключатель
- 51 UB; ТС
- 52 Блок
- 54 только
- 55 BNC
- 57 0 OTHER TYPES
- 61 Устранение
- 65 гнезда
- 66 IEC
- 68 Хранение; Спецификация












