Видеомагнитофоны Panasonic AG-8600E_AG-8700E - инструкция пользователя по применению, эксплуатации и установке на русском языке. Мы надеемся, она поможет вам решить возникшие у вас вопросы при эксплуатации техники.
Если остались вопросы, задайте их в комментариях после инструкции.
"Загружаем инструкцию", означает, что нужно подождать пока файл загрузится и можно будет его читать онлайн. Некоторые инструкции очень большие и время их появления зависит от вашей скорости интернета.

Р
-
11
Включение
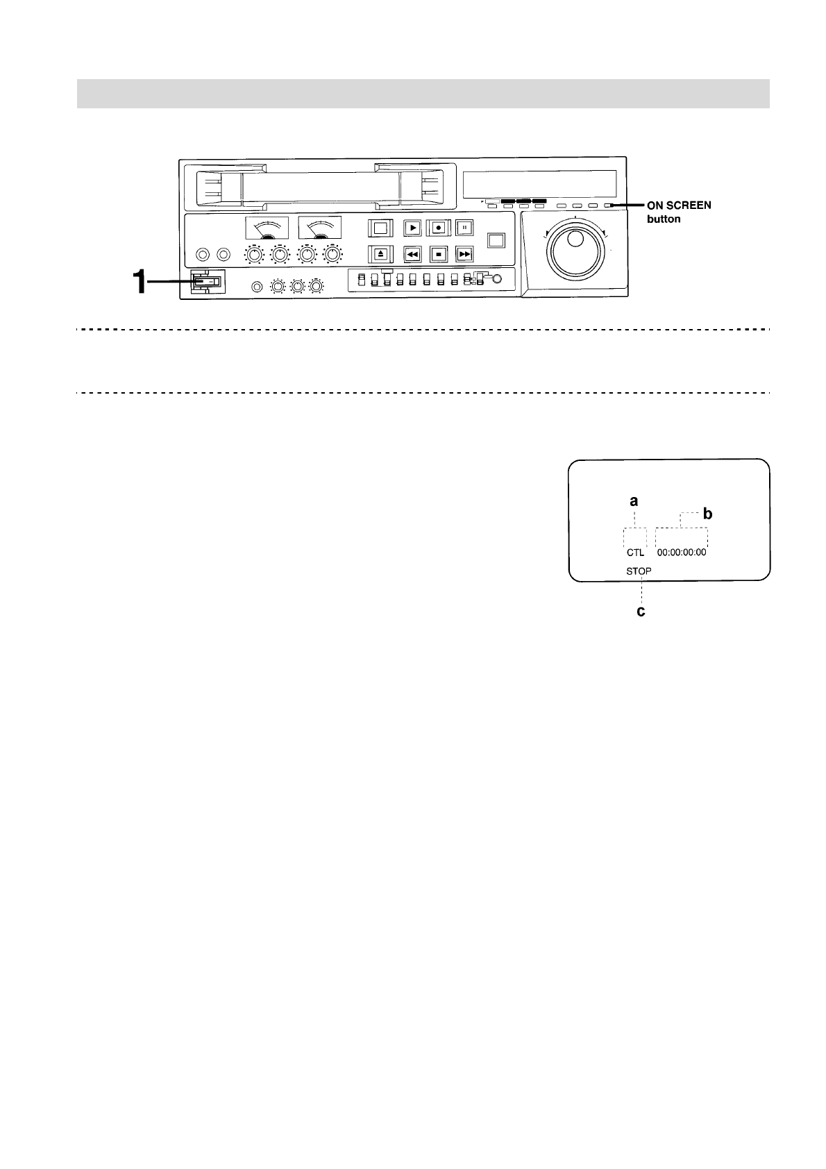
1.
Нажмите
кнопку
POWER.
Теперь
видеомагнитофон
включен
.
•
Если
нажать
кнопку
ON SCREEN,
на
экране
телемонитора
,
подключенного
через
разъем
VIDEO MONITOR OUT,
появятся
показания
экранного
дисплея
,
приводимые
на
рисунке
:
a)
Тип
адресно
-
временного
кода
b)
Показания
счетчика
хронометража
c)
Режим
работы
видеомагнитофона
Эти
данные
будут
выведены
на
экранный
дисплей
только
в
слу
-
чае
,
если
в
опции
№
4004
экранного
меню
была
задана
команда
ON.
•
Если
на
экранном
дисплее
появилось
какое
-
либо
сообщение
о
системной
ошибке
,
немед
-
ленно
прекратите
работу
видеомагнитофона
,
действуйте
далее
в
соответствии
с
указания
-
ми
,
приводимыми
в
таблице
расшифровки
сообщений
о
системных
ошибках
настоящей
ин
-
струкции
.
Содержание
- 3 Введение
- 4 WIDE
- 6 INSERT AUDIO CH
- 8 DIAL MODE
- 11 Включение; Нажмите
- 12 MEMO
- 13 CH2 METER
- 14 REC
- 15 Воспроизведение; PLAY; ПРИМЕЧАНИЯ
- 17 Поиск; Режим
- 18 Автостоп; RESET
- 19 Установки; СН; Установки
- 24 ПРИМЕЧАНИЕ; SYSTEM PHASE
- 25 Описание
- 26 FRAME LOCK; TRACKING; FRAME
- 28 MEMORY
- 29 AUTO
- 30 EDIT; Раздельный; AUDIO CH
- 33 МЕМО
- 34 Опции; Опция
- 35 Имя
- 47 Способы
- 48 Адресно; Пленка; Пользовательские; L U B R
- 50 Переключатель
- 51 UB; ТС
- 52 Блок
- 54 только
- 55 BNC
- 57 0 OTHER TYPES
- 61 Устранение
- 65 гнезда
- 66 IEC
- 68 Хранение; Спецификация












