Видеокамеры Sony HDR-XR550E (VE) - инструкция пользователя по применению, эксплуатации и установке на русском языке. Мы надеемся, она поможет вам решить возникшие у вас вопросы при эксплуатации техники.
Если остались вопросы, задайте их в комментариях после инструкции.
"Загружаем инструкцию", означает, что нужно подождать пока файл загрузится и можно будет его читать онлайн. Некоторые инструкции очень большие и время их появления зависит от вашей скорости интернета.

72
RU
По завершении операции
коснитесь [КНЦ]
[ДА] на
экране видеокамеры.
Отсоедините USB-кабель.
Создание диска с качеством
изображения стандартной
четкости (STD) с помощью
рекордера и т. п.
Вы можете перезаписать
воспроизводимые на видеокамере
изображения на диск или видеокассету,
подключив видеокамеру к рекордеру
дисков, устройству записи Sony DVD
и т. п., отличному от DVDirect Express,
с помощью соединительного кабеля
A/V. Подключите устройство способом
или
. См. также инструкции
по эксплуатации, прилагаемые к
подключаемому устройству.
Примечания
Подключите видеокамеру к сетевой
розетке с помощью прилагаемого адаптера
переменного тока (стр. 15).
В некоторых странах/регионах устройства
записи DVD компании Sony могут быть
недоступны.
Фильм с качеством изображения высокой
четкости (HD) будет перезаписываться
с качеством изображения стандартной
четкости (STD).
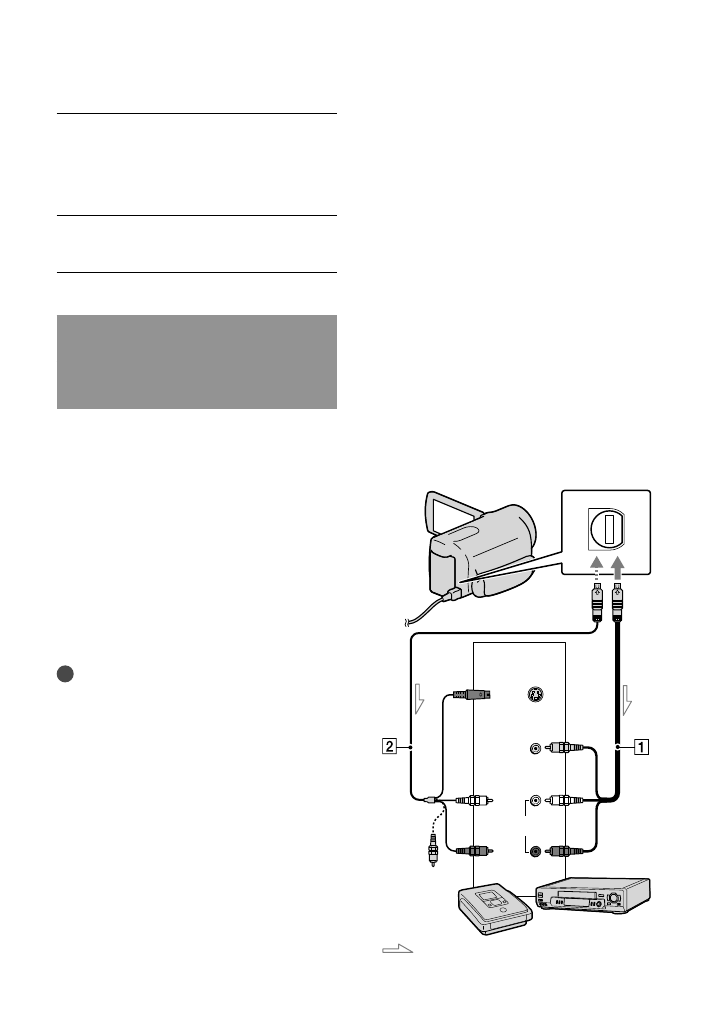
Соединительный кабель A/V
(прилагается)
Подключите соединительный кабель
A/V к входному гнезду другого
устройства.
Соединительный кабель A/V для
подключения к разъему S VIDEO
(продается отдельно)
Подключение к другому
устройству через разъем S VIDEO
с использованием соединительного
кабеля A/V с кабелем S VIDEO
(продается отдельно) может
обеспечить получение изображений
более высокого качества, чем при
использовании соединительного
кабеля A/V. Подключите белый и
красный штекеры (левый/правый
аудио) и штекер S VIDEO (канал S
VIDEO) соединительного кабеля
A/V к кабелю S VIDEO. При
подключении только штекера S VIDEO
звук воспроизводиться не будет.
Подключение желтого штекера (видео)
не обязательно.
Дистанционный соединитель A/V
Поток сигналов
S VIDEO
VIDEO
(Желтый)
(Белый)
AUDIO
(Красный)
Вход
(Желтый)
Содержание
- 2 Прилагаемые принадлежности; количество принадлежностей.; Использование видеокамеры; Видоискатель; видоискатель и объектив
- 3 Черные точки
- 6 Примечания по использованию; Примечание по использованию
- 7 Последовательность операций; Воспроизведение фильмов и фотографий
- 8 Совет для успешной записи; Для достижения хороших результатов записи
- 9 Полезные приемы съемки
- 10 Содержание; Подготовка к работе
- 11 Оптимальное использование видеокамеры
- 13 Действие 1: Зарядка аккумуляторной батареи
- 14 подключения к видеокамере.; Время зарядки; Аккумуляторная батарея
- 15 Извлечение аккумуляторной батареи; Зарядка аккумуляторной батареи за границей; Примечания об аккумуляторной батарее
- 16 Примечания относительно адаптера переменного тока
- 17 Действие 2: Включение питания и установка; Откройте экран ЖКД видеокамеры.; Видеокамера включается, и крышка объектива открывается.; Выберите нужный географический регион с помощью; Запускается отсчет времени.; Прикоснитесь к кнопке
- 18 Отключение питания; видоискателя
- 19 Изменение настройки языка; Коснитесь
- 20 Действие 3: Подготовка носителя записи; Внутренняя; Выбор носителя записи для фильмов
- 21 Носитель записи изменяется.; Проверка параметров носителя записи; Установка карты памяти; Типы карт памяти, которые можно использовать с видеокамерой; Размеры карт памяти, которые можно использовать с вашей камерой; Значок носителя
- 22 Извлечение карты памяти; Откройте крышку и слегка однократно нажмите на карту памяти.; Индикатор доступа
- 23 Запись/Воспроизведение; Запись; Закрепите ремешок для руки.; Кнопка MODE
- 24 Запись фильмов; STOP
- 25 0 градусов по отношению
- 26 Код данных во время записи; желаемая настройка; Фотосъемка; Индикация; Мигает; Светится
- 27 Если на фотографии появляются белые круглые пятна; изображении в виде белых округлых пятен.; Объект
- 28 Масштабирование; Панорамное
- 29 Распознавание лиц; Для отмены АВТОНАСТРОЙКА
- 30 Выбор режима записи; Высококачественная
- 31 Прикоснитесь к лицу, которое вы
- 32 Встроенный микрофон
- 33 Инфракрасный порт
- 34 Запись в зеркальном режиме; Элементы, которые можно назначить; Кнопка MANUAL
- 35 Назначение элемента меню для диска; Нажмите и удерживайте нажатой
- 36 Воспроизведение; на видеокамере; следующем носителе записи.; Фильмы отображаются и сортируются по дате записи.
- 37 Переход к экрану MENU; Воспроизведение фильмов; Видеокамера начнет воспроизведение выбранного фильма.
- 38 Регулировка громкости звука фильмов; Во время воспроизведения фильмов коснитесь; Просмотр фотографий; На экране видеокамеры отображается выбранная фотография.; Предыдущий
- 39 Полезные функции; Возврат к экрану VISUAL INDEX
- 41 Остановка воспроизведения
- 43 Вы можете увеличить фотографии в
- 44 Для отмены коснитесь; Слайд-шоу начинается с выбранной
- 45 Разъемы видеокамеры
- 46 Подключение к телевизору высокой четкости
- 47 Используйте 21-контактный адаптер; видеомагнитофон
- 48 Использование “BRAVIA” Sync
- 49 льзование вид; Удаление фильмов и; Вы можете освободить пространство на; Одновременное удаление всех; УДАЛИТЬ
- 50 Установка защиты для
- 52 Начинается воспроизведение; Воспроизведение фильма; Более точная регулировка момента
- 53 Захват фотографии из; Отрегулируйте более точно
- 54 Копирование фильмов; Оставшееся свободное пространство
- 55 Копирование фотографий
- 56 Использование
- 57 Одновременное добавление всех
- 58 Изменение порядка фильмов в; Полоса назначения
- 59 Настройка функции GPS
- 61 Закрытие экрана карты
- 62 Нажмите; Появляется экран VISUAL INDEX.; Указатель изображения становится
- 64 Сохранение изображений на внешнем устройстве; Сохранение; Вы можете сохранить фильмы и
- 65 на экране; При подключении внешнего; Кабель адаптера
- 66 Завершение подключения внешнего; Оставшийся объем на внешнем носителе
- 67 Выбор способа создания диска; Обычное DVD-устройство
- 69 Настройка диска с помощью ФУНК.
- 70 Воспроизведение диска на
- 72 Соединительный кабель A/V; Дистанционный соединитель A/V; Вход
- 74 Индивидуальная настройка видеокамеры; наслаждение от использования видеокамеры.; РУЧНАЯ НАСТР. (Элементы, которые настраиваются для соответствия; Использование меню; Коснитесь элемента меню, который нужно изменить.
- 75 Использование МОЕ МЕНЮ
- 76 Использование OPTION MENU; Позиция меню
- 77 Списки меню; Категория
- 79 ВЫБОР СЦЕНЫ; Можно эффективно записывать
- 80 ФЕЙДЕР; ВЫКЛ; Исчезновение; АВТО
- 82 ТОЧЕЧН ФОКУС; ЭКСПОЗИЦИЯ; ФОКУСИРОВКА
- 83 ТЕЛЕМАКРО
- 85 Изменение параметра; Точка, где была нажата
- 86 STEADYSHOT; АКТИВНЫЕ; КОНТР РАМКА
- 87 LOW LUX
- 88 ЧУВСТВИТ К УЛЫБ; регулировка масштабирования и
- 89 чувствительности микрофона); НОРМАЛЬНАЯ; АУДИОРЕЖИМ; Зона цифрового масштабирования; ВКЛ
- 90 СВЕТ NIGHTSHOT
- 91 АВТОЗАПУСК; РАЗМ СНИМК; РЕЖ ВСПЫШКИ
- 93 VISUAL INDEX; УКАЗАТЕЛЬ ДАТ; ВЫБРАННЫЕ
- 94 КОД ДАННЫХ; Во время воспроизведения видеокамера; Фильм
- 95 ДРУГИЕ; Закрытие экрана информации о
- 96 Закрытие этого экрана; Для предотвращения
- 97 ГРОМКОСТЬ; ЯРКОСТЬ LCD; УР ПОДСВ LCD (уровень подсветки; НОРМАЛЬНЫЙ
- 98 ЦВЕТ LCD; ТИП ЭКРАНА; Фильмы и
- 99 КОМПОНЕНТ; СОХРАНЕНО В HD
- 100 ЖКД; УСТАН ЧАСОВ; АВТОВЫКЛ (Автоматическое; НИКОГДА
- 101 РЕЖИМ ДЕМО; КАЛИБРОВКА
- 103 Дополнительная информация; Устранение; Если при использовании видеокамеры
- 105 Батареи/источники питания
- 106 См. также раздел “Карта памяти”
- 111 Подключение к компьютеру
- 115 При появлении на экране сообщений; Носитель записи; Ошибка форматирования
- 117 Прочие; Дальнейший выбор невозможен.; Время записи
- 118 Время воспроизведения; Приблизительное время работы при; Внутренняя память; Качество изображения высокой четкости (HD) в ч; Режим записи
- 119 Качество изображения стандартной четкости (STD) в; Внутренний жесткий диск; Карта памяти; Качество изображения высокой четкости (HD)
- 120 Качество изображения стандартной четкости (STD); Внутренний носитель записи; Можно записать не более 9999
- 121 Эксплуатация; Источники питания
- 122 О системах цветного телевидения; Система
- 123 Установка местного времени; задать часовой пояс. Коснитесь; Разница во времени в различных регионах мира
- 124 О формате AVCHD; Что представляет собой формат
- 125 Об ошибках триангуляции
- 127 О карте памяти; Об адаптере карты памяти
- 128 Эта видеокамера работает только
- 129 Об индикаторе оставшегося времени
- 130 Об обращении с видеокамерой; Использование и уход
- 131 Конденсация влаги
- 133 Примечание об утилизации/
- 134 Примечания к лицензии
- 135 О прикладном программном
- 136 Краткое справочное руководство; Индикаторы экрана; Левый верхний угол
- 137 Детали и элементы
- 141 Замена батареи в беспроводном; Изоляционное полотно
- 142 Алфавитный указатель
Характеристики
Остались вопросы?Не нашли свой ответ в руководстве или возникли другие проблемы? Задайте свой вопрос в форме ниже с подробным описанием вашей ситуации, чтобы другие люди и специалисты смогли дать на него ответ. Если вы знаете как решить проблему другого человека, пожалуйста, подскажите ему :)