Видеокамеры Sony HDR-XR550E (VE) - инструкция пользователя по применению, эксплуатации и установке на русском языке. Мы надеемся, она поможет вам решить возникшие у вас вопросы при эксплуатации техники.
Если остались вопросы, задайте их в комментариях после инструкции.
"Загружаем инструкцию", означает, что нужно подождать пока файл загрузится и можно будет его читать онлайн. Некоторые инструкции очень большие и время их появления зависит от вашей скорости интернета.

2
RU
Разделение фильма
на сцены
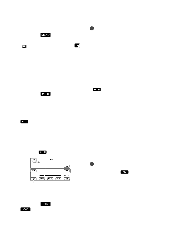
1
Коснитесь
(MENU)
[Показать др.]
[
РАЗДЕЛИТЬ] (в категории
[РЕД.]).
2
Коснитесь фильма, который
нужно разделить на сцены.
Начинается воспроизведение
выбранного фильма.
3
Коснитесь
в точке, где
требуется разделить фильм на
сцены.
Воспроизведение фильма
приостанавливается. При нажатии
выполняется переключение
между режимами воспроизведения
и паузы.
4
Коснитесь
[ДА]
.
Примечания
После разделения фильма на сцены
восстановить его невозможно.
Вы не можете разделить защищенный
фильм. Прежде чем пытаться разделить
защищенный фильм снимите с него защиту
(стр. 50).
Во время разделения фильма не отключайте
аккумуляторную батарею или адаптер
переменного тока от видеокамеры. Это
может привести к повреждению носителя
записи. При разделении фильмов на сцены
на карте памяти не извлекайте карту памяти.
Момент, в который была нажата кнопка
, может слегка отличаться от
действительного момента разделения,
так как момент разделения выбирается
видеокамерой через промежутки, равные
половине секунды.
При разделении оригинального фильма
на сцены фильм, добавленный в список
воспроизведения, также будет разделен.
Если разделенный фильм был включен в
сохраненный сценарий воспроизведения
выбранных (стр. 42), этот фильм удаляется
также из сценария.
На видеокамере доступно только простое
редактирование. Для более сложного
редактирования используйте прилагаемое
программное обеспечение “PMB”.
Советы
Вы можете разделить фильм на экране
воспроизведения в
OPTION MENU.
Более точная регулировка момента
разделения после его выбора с
помощью
.
Возврат к началу выбранного фильма
Содержание
- 2 Прилагаемые принадлежности; количество принадлежностей.; Использование видеокамеры; Видоискатель; видоискатель и объектив
- 3 Черные точки
- 6 Примечания по использованию; Примечание по использованию
- 7 Последовательность операций; Воспроизведение фильмов и фотографий
- 8 Совет для успешной записи; Для достижения хороших результатов записи
- 9 Полезные приемы съемки
- 10 Содержание; Подготовка к работе
- 11 Оптимальное использование видеокамеры
- 13 Действие 1: Зарядка аккумуляторной батареи
- 14 подключения к видеокамере.; Время зарядки; Аккумуляторная батарея
- 15 Извлечение аккумуляторной батареи; Зарядка аккумуляторной батареи за границей; Примечания об аккумуляторной батарее
- 16 Примечания относительно адаптера переменного тока
- 17 Действие 2: Включение питания и установка; Откройте экран ЖКД видеокамеры.; Видеокамера включается, и крышка объектива открывается.; Выберите нужный географический регион с помощью; Запускается отсчет времени.; Прикоснитесь к кнопке
- 18 Отключение питания; видоискателя
- 19 Изменение настройки языка; Коснитесь
- 20 Действие 3: Подготовка носителя записи; Внутренняя; Выбор носителя записи для фильмов
- 21 Носитель записи изменяется.; Проверка параметров носителя записи; Установка карты памяти; Типы карт памяти, которые можно использовать с видеокамерой; Размеры карт памяти, которые можно использовать с вашей камерой; Значок носителя
- 22 Извлечение карты памяти; Откройте крышку и слегка однократно нажмите на карту памяти.; Индикатор доступа
- 23 Запись/Воспроизведение; Запись; Закрепите ремешок для руки.; Кнопка MODE
- 24 Запись фильмов; STOP
- 25 0 градусов по отношению
- 26 Код данных во время записи; желаемая настройка; Фотосъемка; Индикация; Мигает; Светится
- 27 Если на фотографии появляются белые круглые пятна; изображении в виде белых округлых пятен.; Объект
- 28 Масштабирование; Панорамное
- 29 Распознавание лиц; Для отмены АВТОНАСТРОЙКА
- 30 Выбор режима записи; Высококачественная
- 31 Прикоснитесь к лицу, которое вы
- 32 Встроенный микрофон
- 33 Инфракрасный порт
- 34 Запись в зеркальном режиме; Элементы, которые можно назначить; Кнопка MANUAL
- 35 Назначение элемента меню для диска; Нажмите и удерживайте нажатой
- 36 Воспроизведение; на видеокамере; следующем носителе записи.; Фильмы отображаются и сортируются по дате записи.
- 37 Переход к экрану MENU; Воспроизведение фильмов; Видеокамера начнет воспроизведение выбранного фильма.
- 38 Регулировка громкости звука фильмов; Во время воспроизведения фильмов коснитесь; Просмотр фотографий; На экране видеокамеры отображается выбранная фотография.; Предыдущий
- 39 Полезные функции; Возврат к экрану VISUAL INDEX
- 41 Остановка воспроизведения
- 43 Вы можете увеличить фотографии в
- 44 Для отмены коснитесь; Слайд-шоу начинается с выбранной
- 45 Разъемы видеокамеры
- 46 Подключение к телевизору высокой четкости
- 47 Используйте 21-контактный адаптер; видеомагнитофон
- 48 Использование “BRAVIA” Sync
- 49 льзование вид; Удаление фильмов и; Вы можете освободить пространство на; Одновременное удаление всех; УДАЛИТЬ
- 50 Установка защиты для
- 52 Начинается воспроизведение; Воспроизведение фильма; Более точная регулировка момента
- 53 Захват фотографии из; Отрегулируйте более точно
- 54 Копирование фильмов; Оставшееся свободное пространство
- 55 Копирование фотографий
- 56 Использование
- 57 Одновременное добавление всех
- 58 Изменение порядка фильмов в; Полоса назначения
- 59 Настройка функции GPS
- 61 Закрытие экрана карты
- 62 Нажмите; Появляется экран VISUAL INDEX.; Указатель изображения становится
- 64 Сохранение изображений на внешнем устройстве; Сохранение; Вы можете сохранить фильмы и
- 65 на экране; При подключении внешнего; Кабель адаптера
- 66 Завершение подключения внешнего; Оставшийся объем на внешнем носителе
- 67 Выбор способа создания диска; Обычное DVD-устройство
- 69 Настройка диска с помощью ФУНК.
- 70 Воспроизведение диска на
- 72 Соединительный кабель A/V; Дистанционный соединитель A/V; Вход
- 74 Индивидуальная настройка видеокамеры; наслаждение от использования видеокамеры.; РУЧНАЯ НАСТР. (Элементы, которые настраиваются для соответствия; Использование меню; Коснитесь элемента меню, который нужно изменить.
- 75 Использование МОЕ МЕНЮ
- 76 Использование OPTION MENU; Позиция меню
- 77 Списки меню; Категория
- 79 ВЫБОР СЦЕНЫ; Можно эффективно записывать
- 80 ФЕЙДЕР; ВЫКЛ; Исчезновение; АВТО
- 82 ТОЧЕЧН ФОКУС; ЭКСПОЗИЦИЯ; ФОКУСИРОВКА
- 83 ТЕЛЕМАКРО
- 85 Изменение параметра; Точка, где была нажата
- 86 STEADYSHOT; АКТИВНЫЕ; КОНТР РАМКА
- 87 LOW LUX
- 88 ЧУВСТВИТ К УЛЫБ; регулировка масштабирования и
- 89 чувствительности микрофона); НОРМАЛЬНАЯ; АУДИОРЕЖИМ; Зона цифрового масштабирования; ВКЛ
- 90 СВЕТ NIGHTSHOT
- 91 АВТОЗАПУСК; РАЗМ СНИМК; РЕЖ ВСПЫШКИ
- 93 VISUAL INDEX; УКАЗАТЕЛЬ ДАТ; ВЫБРАННЫЕ
- 94 КОД ДАННЫХ; Во время воспроизведения видеокамера; Фильм
- 95 ДРУГИЕ; Закрытие экрана информации о
- 96 Закрытие этого экрана; Для предотвращения
- 97 ГРОМКОСТЬ; ЯРКОСТЬ LCD; УР ПОДСВ LCD (уровень подсветки; НОРМАЛЬНЫЙ
- 98 ЦВЕТ LCD; ТИП ЭКРАНА; Фильмы и
- 99 КОМПОНЕНТ; СОХРАНЕНО В HD
- 100 ЖКД; УСТАН ЧАСОВ; АВТОВЫКЛ (Автоматическое; НИКОГДА
- 101 РЕЖИМ ДЕМО; КАЛИБРОВКА
- 103 Дополнительная информация; Устранение; Если при использовании видеокамеры
- 105 Батареи/источники питания
- 106 См. также раздел “Карта памяти”
- 111 Подключение к компьютеру
- 115 При появлении на экране сообщений; Носитель записи; Ошибка форматирования
- 117 Прочие; Дальнейший выбор невозможен.; Время записи
- 118 Время воспроизведения; Приблизительное время работы при; Внутренняя память; Качество изображения высокой четкости (HD) в ч; Режим записи
- 119 Качество изображения стандартной четкости (STD) в; Внутренний жесткий диск; Карта памяти; Качество изображения высокой четкости (HD)
- 120 Качество изображения стандартной четкости (STD); Внутренний носитель записи; Можно записать не более 9999
- 121 Эксплуатация; Источники питания
- 122 О системах цветного телевидения; Система
- 123 Установка местного времени; задать часовой пояс. Коснитесь; Разница во времени в различных регионах мира
- 124 О формате AVCHD; Что представляет собой формат
- 125 Об ошибках триангуляции
- 127 О карте памяти; Об адаптере карты памяти
- 128 Эта видеокамера работает только
- 129 Об индикаторе оставшегося времени
- 130 Об обращении с видеокамерой; Использование и уход
- 131 Конденсация влаги
- 133 Примечание об утилизации/
- 134 Примечания к лицензии
- 135 О прикладном программном
- 136 Краткое справочное руководство; Индикаторы экрана; Левый верхний угол
- 137 Детали и элементы
- 141 Замена батареи в беспроводном; Изоляционное полотно
- 142 Алфавитный указатель
Характеристики
Остались вопросы?Не нашли свой ответ в руководстве или возникли другие проблемы? Задайте свой вопрос в форме ниже с подробным описанием вашей ситуации, чтобы другие люди и специалисты смогли дать на него ответ. Если вы знаете как решить проблему другого человека, пожалуйста, подскажите ему :)