Видеокамеры Sony HDR-CX760E (VE) - инструкция пользователя по применению, эксплуатации и установке на русском языке. Мы надеемся, она поможет вам решить возникшие у вас вопросы при эксплуатации техники.
Если остались вопросы, задайте их в комментариях после инструкции.
"Загружаем инструкцию", означает, что нужно подождать пока файл загрузится и можно будет его читать онлайн. Некоторые инструкции очень большие и время их появления зависит от вашей скорости интернета.

RU
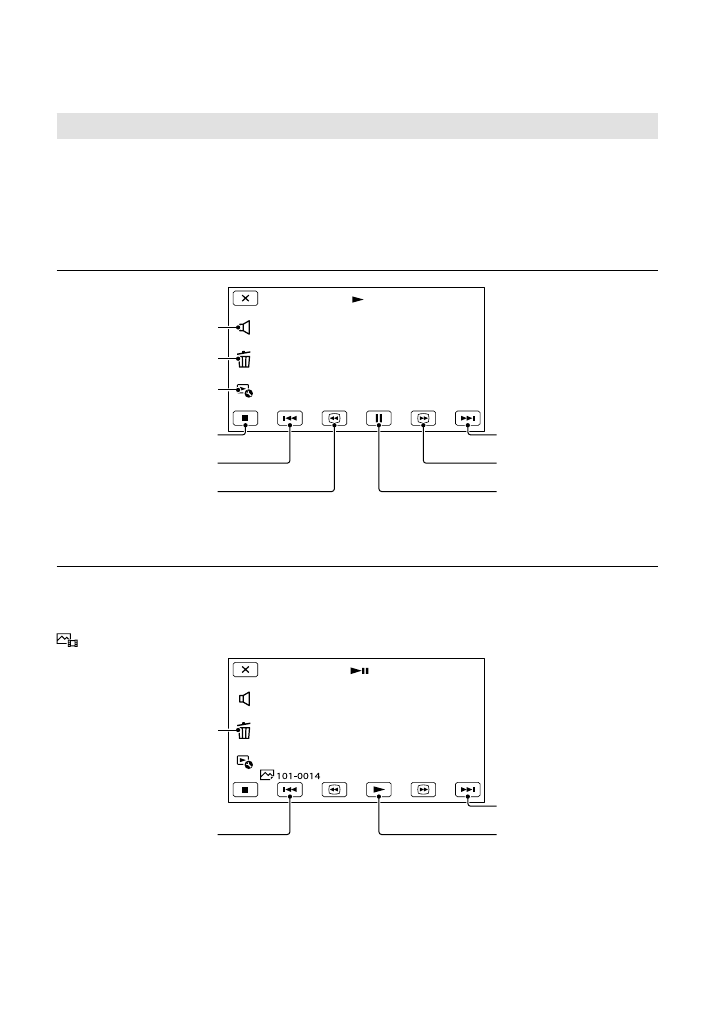
Кнопки, используемые во время воспроизведения
Если камера не используется в течение нескольких секунд, элементы на экране LCD
перестанут отображаться. Для повторного отображения элементов коснитесь экрана
LCD.
При воспроизведении фильма
При просмотре фотографий
Кнопки, используемые при просмотре фотографий, варьируются в зависимости от
настройки кнопки переключения типа изображения (стр. 32).
(Фильм/фото) (по умолчанию)
Громкость
Удалить
Содержание
Предыдущее
Быстрое перемещение
назад
Далее
Быстрое перемещение
вперед
Пауза/воспроизведение
Остановка
Удалить
Предыдущее
Далее
Воспроизведение/пауза
фильмов и фотографий в
порядке их записи
Содержание
- 2 Батарейный блок
- 3 Дата изготовления изделия.; буквенно-цифровых символов; ДЛЯ ПОЛЬЗОВАТЕЛЕЙ В ЕВРОПЕ; Внимание
- 7 ополнительная информация
- 8 одержание; Подготовка к работе; Запись/Воспроизведение; Расширенные функции
- 9 ание; Редактирование
- 11 Встроенный микрофон
- 16 Беспроводной пульт дистанционного управления (1); Примечания
- 17 те; Зарядка аккумуляторной батареи
- 18 Аккумуляторная батарея
- 19 Извлечение аккумуляторной батареи; аккумуляторную батарею (; Использование сетевой розетки в качестве источника питания
- 20 Зарядка аккумуляторной батареи за границей
- 21 Изменение настройки языка; Выберите
- 22 Отключение питания; Если индикатор
- 23 Регулирование угла наклона панели LCD; отрегулируйте угол наклона(; Отключение звуковых сигналов
- 24 Подготовка носителя записи; Карта памяти
- 25 Извлечение карты памяти; Типы карт памяти, которые можно использовать с видеокамерой
- 26 Запись; Внутренняя память
- 27 Для отображения элементов на экран LCD; GPS-состояние триангуляции
- 28 Увеличение, оставшийся заряд батареи; Запись в зеркальном режиме
- 29 Если на фотографиях появляются белые круглые пятна
- 30 величение
- 31 Воспроизведение; на видеокамере
- 33 Когда вы используете картографические данные в первый раз
- 35 Для воспроизведения изображений на других устройствах
- 36 асширенные функции; Коснитесь требуемого лица.
- 38 Распознавание дрожания камеры:
- 40 Режим записи; О качестве изображения
- 44 Запись информации о местоположении
- 46 Состояние
- 48 Нажмите; Видеокамера еще раз выполняет
- 50 Ваша видеокамера
- 52 О кабеле HDMI
- 53 Использование“BRAVIA” Sync; Вкл “Photo TV HD”
- 56 едактирование; Удаление части фильма
- 59 Сохранение фильмов и фотографий на компьютере; Для Windows; Сетевые сервисы
- 60 ля Mac
- 61 Microsoft Windows XP SP3
- 63 Создание диска Blu-ray
- 66 охранение изображений на внешнем устройстве; Руководство по копированию; Внешние устройства
- 67 Устройства, на которых можно воспроизводить созданный диск
- 68 оздание диска
- 70 ставьте носитель записи в
- 72 оспроизведение на видеокамере
- 74 Индивидуальная настройка видеокамеры; Использование меню; Камера/Микрофон (Элементы для индивидуальной настройки съемки)
- 76 Списки меню; Режим съемки
- 78 Установка
- 81 ль; Видеокамера нагревается.
- 83 Время записи
- 84 Время воспроизведения
- 86 арта памяти; Качество изображения высокой четкости (HD)
- 87 Использование и уход
- 89 Конденсация влаги
- 90 Разъем активного интерфейса
- 91 ПРЕДУПРЕЖДЕНИЕ; Экран LCD
- 93 Настройки
- 94 Спецификации; Система
- 95 Общие технические характеристики
- 97 О товарных знаках
- 99 АВТОРСКОЕ ПРАВО
- 102 Индикаторы экрана; Индикация
- 103 Центр; EV
- 104 лфавитный указатель












