Видеокамеры Sony HDR-CX270E - инструкция пользователя по применению, эксплуатации и установке на русском языке. Мы надеемся, она поможет вам решить возникшие у вас вопросы при эксплуатации техники.
Если остались вопросы, задайте их в комментариях после инструкции.
"Загружаем инструкцию", означает, что нужно подождать пока файл загрузится и можно будет его читать онлайн. Некоторые инструкции очень большие и время их появления зависит от вашей скорости интернета.

UA
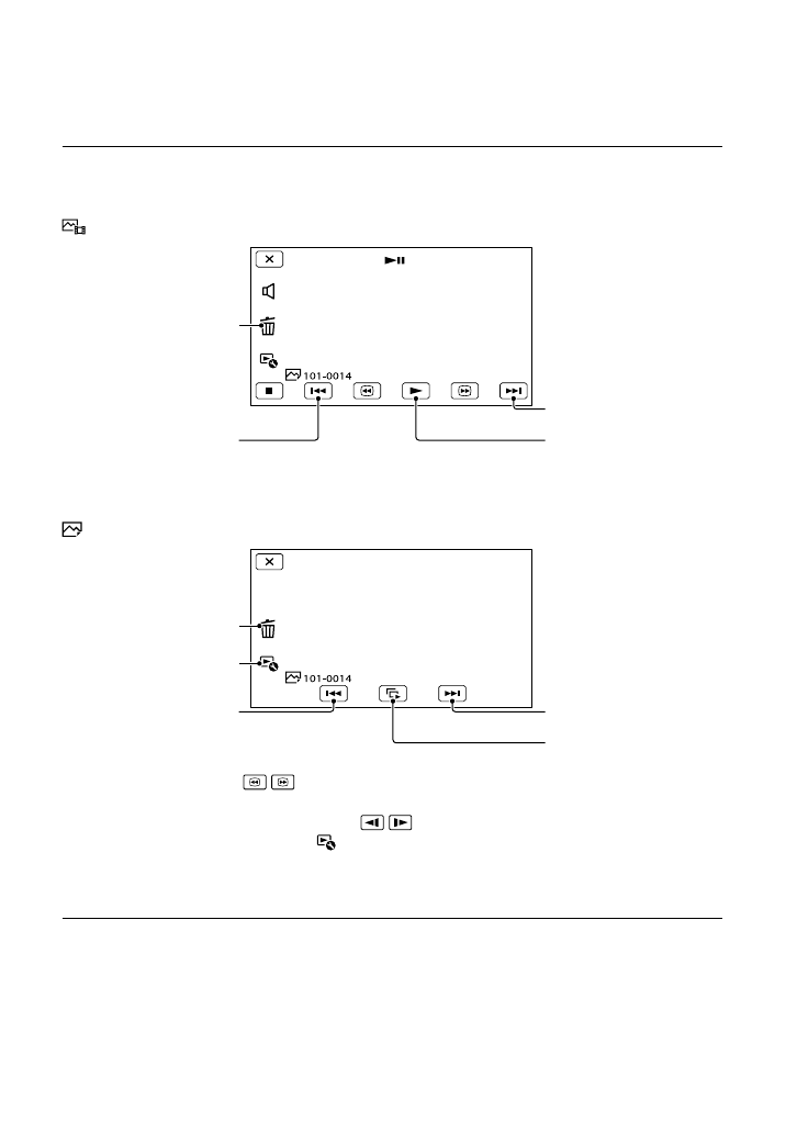
Перегляд фотографій
Кнопки керування, що відображаються під час перегляду фотографій, залежать від
налаштувань, вибраних за допомогою кнопки перемикання типу зображень (стор. 33).
(Відео/фото) (за промовчанням)
(Фото)
Повторний вибір кнопки
/
під час відтворення збільшує швидкість відтворення приблизно
у 5 разів
приблизно в 10 разів
приблизно у 30 разів
приблизно в 60 разів.
Для повільного відтворення відео виберіть
/
під час паузи.
Щоб повторити слайд-шоу, виберіть
[Slideshow Set].
Відтворення зображень на інших пристроях
Нормальне відтворення зображень, записаних відеокамерою, може бути неможливим на інших
пристроях. Також, може бути неможливим відтворення на відеокамері зображень, записаних за
допомогою інших пристроїв.
Відео стандартної чіткості (STD), записані на картки пам’яті SD, неможливо відтворити на аудіо/
відео обладнанні інших виробників.
Наступний
Початок/зупинення
показу слайдів
Видалити
Контекст
Попередній
Видалити
Попередній
Наступний
Відтворення/
призупинення
відеозаписів і фотографій
у порядку їх записування
Содержание
- 2 ПРЕДУПРЕЖДЕНИЕ; Батарейный блок
- 3 ДЛЯ ПОЛЬЗОВАТЕЛЕЙ В ЕВРОПЕ; Примечание для покупателей в
- 7 Содержание; Подготовка к работе; Запись/Воспроизведение; Расширенные функции
- 9 Сохранение изображений на внешнем устройстве
- 14 Закрепление ремешка для руки
- 16 Прилагаемые; Беспроводной пульт дистанционного управления
- 17 Зарядка аккумуляторной батареи
- 19 Извлечение аккумуляторной батареи; Использование сетевой розетки в качестве источника питания
- 20 Зарядка аккумуляторной батареи за границей
- 21 Включение питания и установка даты и
- 22 Изменение настройки языка; Отключение питания; Отключение звуковых сигналов
- 23 Подготовка носителя записи; Карта памяти
- 24 Типы карт памяти, которые можно использовать с видеокамерой
- 26 Запись; Запись фильмов
- 27 Для отображения элементов на экран LCD; GPS-состояние триангуляции
- 28 Увеличение, оставшийся заряд батареи; Запись в зеркальном режиме
- 30 Увеличение
- 31 Воспроизведение; на видеокамере; Выберите изображение.
- 32 Отображение на дисплее экрана просмотра события
- 33 Когда вы используете картографические данные в первый раз
- 35 При просмотре фотографий
- 36 Четкая съемка; Коснитесь требуемого лица.
- 38 Распознавание дрожания камеры:
- 39 О качестве изображения
- 41 Запись информации; Запись информации о местоположении
- 44 Насладитесь; Нажмите
- 45 Видеокамера еще раз выполняет
- 47 Ваша видеокамера
- 49 О кабеле HDMI
- 51 Использование
- 53 Редактирование; Редактирование на; Удаление части фильма
- 56 Сохранение фильмов и фотографий на компьютере; При подключении видеокамеры к; Для Windows; Загрузить; Сетевые сервисы
- 57 Для Mac
- 60 Создание диска Blu-ray
- 63 Руководство по созданию дисков
- 64 Устройства, на которых можно воспроизводить созданный диск
- 68 Сохранение
- 71 Индивидуальная настройка видеокамеры; Использование меню; Камера/Микрофон (Элементы для индивидуальной настройки съемки)
- 73 Списки меню; Режим съемки
- 75 Установка
- 77 Устранение; Отключите источник питания
- 79 Отображение
- 81 Время записи
- 82 Время воспроизведения
- 84 Качество изображения высокой четкости (HD) в ч; Качество изображения стандартной четкости (STD) в; Качество изображения стандартной четкости (STD) в
- 85 Качество изображения высокой четкости (HD)
- 86 Качество изображения стандартной четкости (STD)
- 87 Обращение с; Использование и уход; Экран LCD
- 89 Конденсация влаги
- 91 Замена батареи в беспроводном пульте
- 92 Об обращении с корпусом
- 93 Настройки
- 94 Спецификации; Система
- 95 Разъемы входных/выходных сигналов
- 96 Подзаряжаемая аккумуляторная; О товарных знаках
- 99 АВТОРСКОЕ ПРАВО
- 102 Индикаторы экрана
- 103 Центр
- 104 Алфавитный указатель












