Видеокамеры Sony HDR-CX130E Red - инструкция пользователя по применению, эксплуатации и установке на русском языке. Мы надеемся, она поможет вам решить возникшие у вас вопросы при эксплуатации техники.
Если остались вопросы, задайте их в комментариях после инструкции.
"Загружаем инструкцию", означает, что нужно подождать пока файл загрузится и можно будет его читать онлайн. Некоторые инструкции очень большие и время их появления зависит от вашей скорости интернета.

UA
Робота з відеокамерою під час відтворення відео
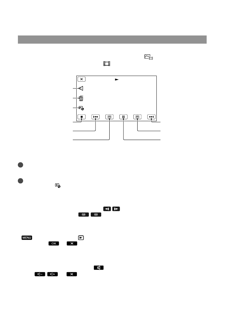
Під час відтворення відео можна користуватися функціями, які вказані на малюнку
нижче. Цей екран буде відображено, якщо обрано режим [
MOVIE/PHOTO]
(налаштування за промовчанням) або [
MOVIE] шляхом торкання кнопки
перемикання типу зображень на екрані Iндексу за подією.
*
Цими кнопками можна користуватися лише під час відтворення відео.
Примітки
Відтворення зображень може бути неможливим на інших пристроях, крім відеокамери.
Поради
Торкання кнопки на екрані відтворення викличе відображення функцій, які можна
використовувати, та дозволить зручно оперувати цими функціями.
Коли під час відтворення від вибраного зображення досягнуто останнього зображення,
відбувається повернення до екрана INDEX.
Для повільного відтворення відео торкніть
/
під час паузи.
Повторне натиснення кнопки
/
під час відтворення збільшить швидкість відтворення
приблизно у 5 разів
приблизно в 10 разів
приблизно у 30 разів
приблизно в 60 разів.
Дата, час і умови зйомки записуються автоматично під час записування. Ця інформація не
відображається під час записування, але її можна відобразити під час відтворення, торкнувши
(MENU)
[Setup]
[ (Playback Settings)]
[Data Code]
потрібне значення
параметра
.
За промовчанням захищене демонстраційне відео попередньо записано (HDR-CX160E/CX180E).
Налаштування гучності звуку відео
Під час відтворення відео торкніть
відрегулюйте рівень гучності за допомогою
кнопок
/
.
Пауза
*
/відтворення
Швидке перемотування вперед
*
Delete
Next
Швидке перемотування
назад
*
Зупинення
*
Попередній
Регулювання гучності
Контекст
Содержание
- 2 ПРЕДУПРЕЖДЕНИЕ; Батарейный блок
- 3 Дата изготовления изделия.; ДЛЯ ПОЛЬЗОВАТЕЛЕЙ В ЕВРОПЕ; Примечание для покупателей в; Внимание
- 5 Прилагаемые принадлежности; CD-ROM “Handycam” Application; Использование видеокамеры; Экран LCD; Элементы меню, панель LCD и; Черные точки
- 8 Примечания по использованию
- 9 Содержание; Подготовка к работе; Запись/Воспроизведение; Расширенные функции
- 11 Действие 1: Зарядка аккумуляторной батареи
- 12 Зарядка батареи с использованием компьютера; Этот способ удобен при отсутствии адаптера переменного тока.
- 13 Время зарядки; Извлечение аккумуляторной батареи
- 14 Примечания относительно адаптера переменного тока; Зарядка аккумуляторной батареи за границей
- 15 Действие 2: Включение питания и установка; Откройте экран LCD видеокамеры.; Видеокамера включается и крышка объектива открывается.; Выберите нужный географический регион с помощью
- 16 Запускается отсчет времени.
- 17 Отключение питания; Изменение настройки языка
- 18 Действие 3: Подготовка носителя записи; Коснитесь; Фильмы и фотографии будут записываться на выбранный носитель.; Проверка параметров носителя записи
- 19 Установка карты памяти; Типы карт памяти, которые можно использовать с видеокамерой
- 20 Извлечение карты памяти; Откройте крышку и слегка однократно нажмите на карту памяти.
- 21 Запись; Закрепите ремешок для руки.
- 22 Запись фильмов; Для повторного отображения элементов на экране LCD
- 23 Для съемки улыбок
- 24 Код данных во время записи; требуемая; Фотосъемка
- 25 Выбор режима записи
- 26 Нажмите; Через несколько секунд появится экран просмотра событий.; Переход к экрану MENU
- 27 Коснитесь изображения, которое вы хотите просмотреть.
- 28 Эксплуатация камеры во время воспроизведения фильма; Регулирование громкости звука фильмов; Во время воспроизведения фильмов коснитесь
- 29 Просмотр фотографий; Сохранение Воспроизведения выбранных
- 30 Разъемы выхода видеокамеры; Список подключений; Подключение к телевизору высокой
- 32 или компонентного кабеля AV
- 33 Удаление фильмов и; Коснитесь и установите метку
- 34 В действии 2 коснитесь [Все в
- 35 Сохранение фильмов и фотографий на компьютере; При подключении видеокамеры к компьютеру; Простота загрузки, когда вы далеко от дома; Вид
- 36 Использование Macintosh
- 37 Отобразится экран установки.; Выберите страну или регион.
- 38 Отключение видеокамеры от
- 39 Запуск PMB
- 40 Запуск “PMB Portable”; Запустится “PMB Portable”.
- 41 Примечания по “PMB Portable”
- 43 Сохранение изображений на внешнем устройстве; Выбор способа сохранения изображений на
- 44 Типы носителей, на которых сохраняются изображения; Устройства, на которых можно воспроизводить созданный диск
- 47 на экране; При подключении устройства
- 49 Для выполнения [Прямое; Создание диска с; Диски, которые можно использовать
- 53 на
- 54 Создание диска; или
- 56 Индивидуальная настройка видеокамеры; Режим съемки (Элементы для выбора режима съемки); Использование меню
- 58 Списки меню; Режим съемки
- 59 Установка
- 62 Дополнительная информация; Устранение; При нажатии кнопки
- 65 Время записи; Время воспроизведения; Качество изображения высокой четкости (HD) в ч
- 66 Качество изображения стандартной четкости (STD) в; Качество изображения высокой четкости (HD)
- 68 Использование и уход
- 70 Технические; Система
- 71 Разъемы входных/выходных сигналов
- 72 Подзаряжаемая аккумуляторная; О товарных знаках
- 74 Краткое справочное руководство; Индикаторы экрана; Левая часть
- 75 Нижняя часть; Детали и элементы
- 77 Алфавитный указатель













