Видеокамеры Sony DSR-450WSL (WSPL) - инструкция пользователя по применению, эксплуатации и установке на русском языке. Мы надеемся, она поможет вам решить возникшие у вас вопросы при эксплуатации техники.
Если остались вопросы, задайте их в комментариях после инструкции.
"Загружаем инструкцию", означает, что нужно подождать пока файл загрузится и можно будет его читать онлайн. Некоторые инструкции очень большие и время их появления зависит от вашей скорости интернета.

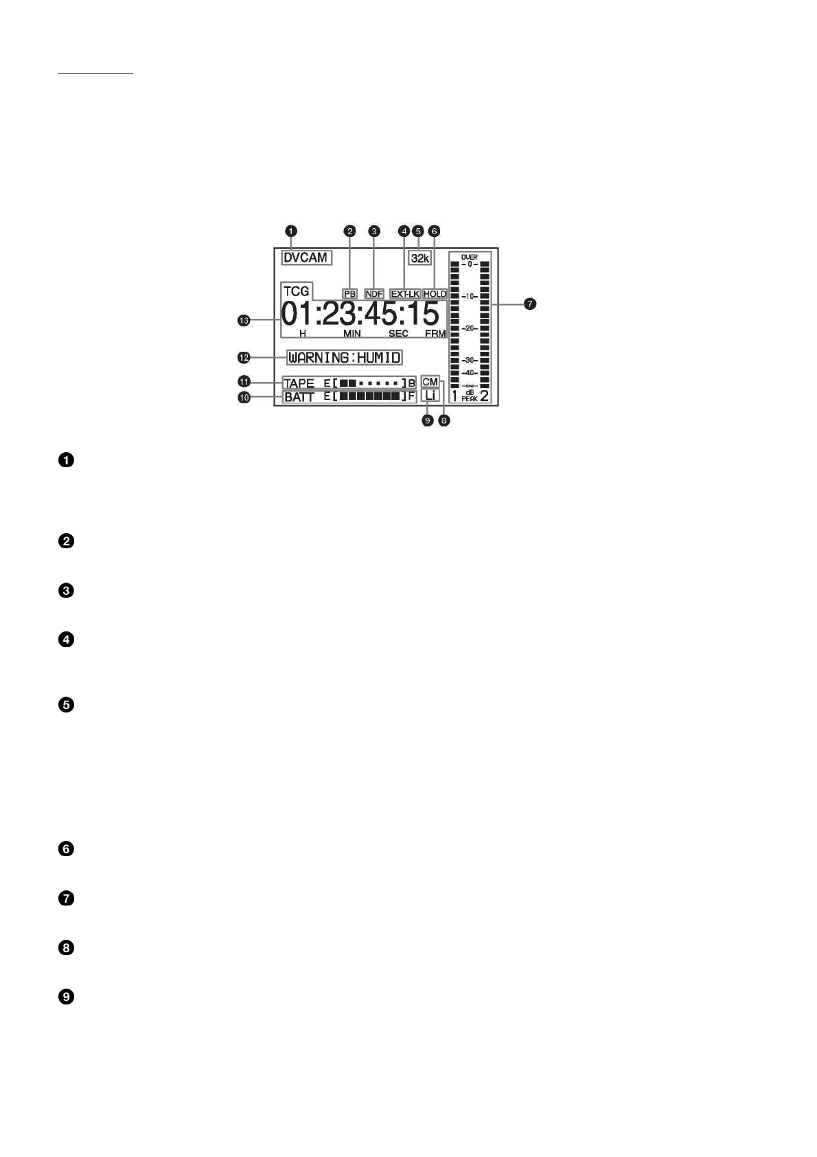
DSR-400/450
16:9
я
DSR-450WS/ 450WSP.
-
щ
DISP SEL
я
)
STATUS (
).
Р
О
а
и
с а уса
а
ЖК
-
и
щ я
я
я я
я
,
я
я
К
(
В
В
я
.
M.
V SP:
DV-SP.
DVCAM:
DVCA
D
я я
я
я
я
.
я я
я
non-drop frame mode (
).
я я
я
,
я
,
TC IN (
).
я
я
.
)
8k:
16
,
Fs = 48
(2-
)
16
/32
16
/44,1
.
32k:
12
,
Fs = 32
(4-
)
44.1k:
16
,
Fs = 44,1
(2-
4
я я
я
,
.
я
1 2.
CM (
)
я я
я
я
.
я я
я
,
я
(CR2032),
щ
я
,
я
.
я я
я
я
,
-
(
.
а у
2).
1 - 24
Характеристики
Остались вопросы?Не нашли свой ответ в руководстве или возникли другие проблемы? Задайте свой вопрос в форме ниже с подробным описанием вашей ситуации, чтобы другие люди и специалисты смогли дать на него ответ. Если вы знаете как решить проблему другого человека, пожалуйста, подскажите ему :)












