Видеокамеры Sony DSR-450WSL (WSPL) - инструкция пользователя по применению, эксплуатации и установке на русском языке. Мы надеемся, она поможет вам решить возникшие у вас вопросы при эксплуатации техники.
Если остались вопросы, задайте их в комментариях после инструкции.
"Загружаем инструкцию", означает, что нужно подождать пока файл загрузится и можно будет его читать онлайн. Некоторые инструкции очень большие и время их появления зависит от вашей скорости интернета.

DSR-400/450
,
AUDIO (
З
)
К
Р
я
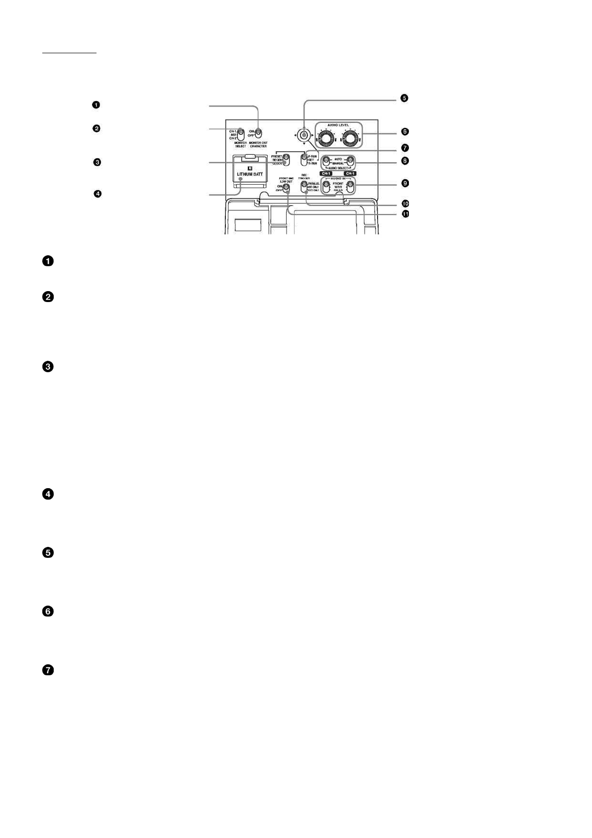
AUDIO LEVEL
. F-RUN/SET/R-RUN
AUDIO
SELECT (
В
)
AUDIO IN
(
В
)
.
REC TRIGGER
FRONT MIC
LOW CUT (
ВЧ
)
MONITOR
OUT CHARACTER
MONITOR
SELECT (
В
я
)
PRESET/
REGEN/CLOCK (
-
/
Р
я
/
Ч
)
MONITOR OUT CHARACTER (
В
,
)
В
я
я
.
MONITOR SELECT (
В
)
В
,
.
CH-1:
1
MIX (
М
):
М
(
1 2)
CH-2:
2
PRESET/REGEN/CLOCK (
/
/
Ч
)
В
щ
щ
.
PRESET (
):
я
.
REGEN (
):
В
я
щ
щ
,
-
.
Н
я
F-RUN/SET/R-RUN (
Н
-
/
/
)
R-RUN (
).
CLOCK (
Ч
):
,
.
Н
-
я
F-RUN (
Н
)/SET (
)/R-RUN (
-
)
R-RUN (
).
В
CR2032,
ящ
.
,
я
,
.
2,
«
-
».
К
я
я
.
Н
,
,
.
Н
щ
,
.
AUDIO LEVEL (CH1/CH-2) (
,
1/2)
я
AUDIO IN CH-1/CH-2 (
В
,
1/2),
-
1 2
,
AUDIO SELECT (CH-1/CH-2) (
В
я
,
1, 2) (
.
)
MANUAL (
Р
).
F-RUN/SET/R-RUN (
/
/
)
В
.
Р
я
,
–
я
я
.
F-RUN (
):
я
я я
ВМ
.
я
-
.
SET (
):
я
.
R-RUN (
):
В
я
я
я
.
-
я
.
1 - 12
Характеристики
Остались вопросы?Не нашли свой ответ в руководстве или возникли другие проблемы? Задайте свой вопрос в форме ниже с подробным описанием вашей ситуации, чтобы другие люди и специалисты смогли дать на него ответ. Если вы знаете как решить проблему другого человека, пожалуйста, подскажите ему :)












