Видеокамеры Sony DCR-HC16E - инструкция пользователя по применению, эксплуатации и установке на русском языке. Мы надеемся, она поможет вам решить возникшие у вас вопросы при эксплуатации техники.
Если остались вопросы, задайте их в комментариях после инструкции.
"Загружаем инструкцию", означает, что нужно подождать пока файл загрузится и можно будет его читать онлайн. Некоторые инструкции очень большие и время их появления зависит от вашей скорости интернета.

Ko
pi
eri
ng/
red
iger
in
g
Kopiering/redigering
71
4
Peka på
(paus) igen vid den
punkt där du vill starta
ljudinspelningen.
Uppspelningen gör paus.
5
Välj [PAGE3] genom att peka på
.
6
Peka på [A DUB CTRL].
7
Peka på [AUDIO DUB].
Ett grönt
X
märke visas på LCD-
skärmen.
8
Tryck på
(uppspelning) och
starta samtidigt uppspelningen av det
ljud som du vill spela in.
Ett rött
märke visas på LCD-skärmen
när ljudet spelas in.
Det nya ljudet spelas in i stereo 2 ([ST2])
under uppspelning av bandet.
9
När du vill avbryta inspelningen
trycker du på
(stopp)
Om du vill spela in ytterligare ljud för andra
avsnitt väljer du önskat avsnitt genom att
upprepa steg 3 och 4 och pekar sedan på
[AUDIO DUB].
10
Peka på [
RET.], sedan på
.
För att ange slutpunkt för ljudtillägg
Under DCR-HC18E/HC20E:
Under uppspelning trycker du på ZERO SET
MEMORY på fjärrkontrollen vid det avsnitt där
du vill avbryta inspelningen av tilläggsljudet.
Utför sedan steg 4 till 8. Inspelningen avbryts
automatiskt vid det valda avsnittet.
b
Obs!
• Du kan bara spela in tilläggsljud på band som spelats
in med den här videokameran. Ljudkvaliteten kan
försämras när du spelar in tilläggsljud på ett band
som spelats in med en annan videokamera (gäller
även andra videokameror av modellen DCR-
HC16E/HC18E/HC20E).
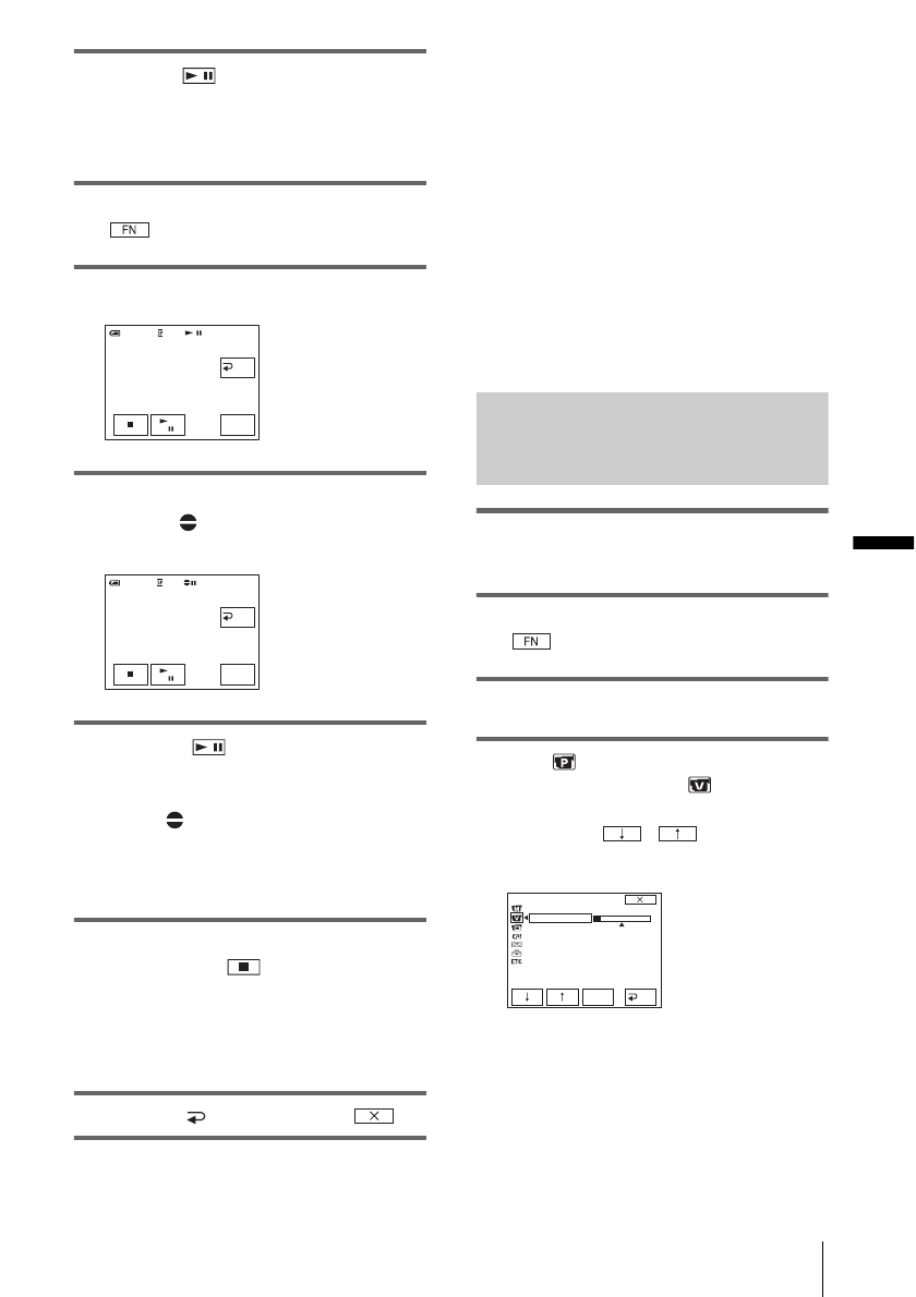
Kont rollera oc h just era det
inspelade ljudet
1
Spela upp bandet som du spelat in
ljudet på ”Inspelning av ljud” (sid. 70).
2
Visa [PAGE1] genom att peka på
.
3
Peka på MENU.
4
Välj
(PLAYER SET) för DCR-
HC16E/HC18E eller
(VCR SET)
för DCR-HC20E, välj sedan [AUDIO
MIX] med
/
, peka därefter
på [EXEC].
0 : 0 0 : 0 0 : 0 0
6 0 min
A DUB CTRL
AUDIO
DUB
RET.
RET.
0 : 0 0 : 0 0 : 0 0
6 0 min
AUDIO
DUB
0 : 0 0 : 0 0 : 0 0
6 0 min
A DUB CTRL
ST1
ST2
VCR SET
HiFi SOUND
AUDIO MIX
EXEC
RET.
,
forts.
Содержание
- 102 ПРЕДУПРЕЖДЕНИЕ; Дата изготовления фотоаппарата; ДЛЯ ПОКУПАТЕЛЕЙ В ЕВРОПЕ
- 105 Содержание
- 106 Воспроизведение; Простое выполнение операций воспроизведения
- 108 Краткое руководство; Запись фильмов; Вставьте кассету в видеокамеру.; Передвиньте батарейный блок в направлении стрелки до щелчка.
- 109 Кр; Начните запись, глядя на экран LCD для контроля снимаемого
- 110 Простая запись и воспроизведение; шрифта увеличивается (
- 111 Подготовка к эксплуатации
- 112 Можно зарядить; батарейный блок; Примечания; на штекере постоянного
- 113 После зарядки батареи; Примечание
- 114 Время зарядки; Время воспроизведения
- 115 ПРЕДОСТЕРЕЖЕНИЕ; • CAMERA: запись на кассету
- 116 Выключение питания; видоискателя; Регулировка панели LCD
- 117 чтобы; Советы; Регулировка видоискателя; Выдвиньте видоискатель.
- 118 Совет
- 119 Нажмите
- 120 Извлечение кассеты; Передвиньте рычажок OPEN/
- 121 экране; Включите видеокамеру.
- 122 Запись
- 123 Кнопка функции
- 124 Съемка панорамных изображений; Запись в зеркальном режиме
- 125 Появится индикация; Отмена времени выдержки; Выполните пункты 1 и 2.; изображений; Фотосъемка на ленту
- 126 Простая запись; – Easy Handycam; Можно записывать только фильмы.
- 127 Кнопка EASY загорится синим цветом.; Нажмите кнопку EASY еще раз.; Запуск режима
- 129 будет
- 130 Запись в темноте; NightShot plus; Появятся индикаторы
- 131 Фокусировка
- 132 Автоматическая фокусировка; Ручная фокусировка
- 134 Отмена операции
- 135 Ручной поиск – EDIT SEARCH
- 137 кассету; Регулировка громкости; Остановка воспроизведения; Установка паузы
- 138 В режиме остановки нажмите; Индикатор движения ленты; Продолжайте нажимать; Выберите режим воспроизведения.; Цель
- 139 воспроизведения; Easy Handycam
- 140 Воспроизведите кассету.; с помощью
- 141 и выберите
- 142 экране телевизора
- 143 на
- 144 Нажмите кнопку
- 147 Усовершенствованные; Настройка видеокамеры; Изменение
- 149 . После выбора установки; ПРОГР АЭ
- 151 АВТОЗАТВОР
- 153 Эта функция служит для компенсации подрагивания видеокамеры.; МОНТ ПОИСК
- 155 После выбора установки; На этом экране
- 157 . Набор настраиваемых; ТИТР; с функцией; Чтобы удалить символ:; нажмите
- 158 Цвет; С помощью кнопок
- 159 Можно просмотреть титр во время воспроизведения изображения.; ПОИСК CM
- 160 Выберите
- 161 АУДИОРЕЖИМ
- 162 ОСТАЛОСЬ
- 163 Начнет мигать индикатор
- 164 Набор настраиваемых; ПОТОК USB
- 166 АВТЗТВ ВЫК
- 167 ПУЛЬТ ДУ; ДИСПЛЕЙ
- 170 видеокамеры
- 171 эпизодов с кассеты; – Цифровой монтаж программы
- 172 При использовании кабеля i.LINK; Выберите i.LINK с помощью
- 174 затем
- 176 Удаление программ
- 178 Подготовка к записи звука; • используя встроенный микрофон
- 179 Запись звука; Воспроизведение остановится.
- 181 Устранение неполадок; Общие функции; Неполадка
- 182 Батарея/источники питания
- 183 Кассеты
- 184 Съемка
- 188 сообщения; Индикация самодиагностики/Предупреждающие индикаторы; Индикация
- 190 Предупреждающие сообщения; Тематики
- 192 Дополнительная информация; Подача питания; Система
- 193 является торговой маркой.; Сигнал авторского права; При воспроизведении; Примечания по эксплуатации
- 194 После использования кассеты
- 195 Зарядка батарейного блока
- 196 О хранении батарейного блока
- 198 О требуемом кабеле i.LINK
- 199 Конденсация влаги; Если произошла конденсация влаги
- 200 Видеоголовка; Очистка экрана LCD
- 201 Прикоснитесь к знаку “; Очистка корпуса; трех месяцев
- 202 Спецификации; Видеокамера; Экран LCD
- 203 Общие характеристики; Типы различий; Имеется
- 204 Краткий справочник
- 205 Гнездо; Гнездо управления; Кнопка RESET
- 206 Рычаг привода трансфокатора
- 207 Ремень для захвата; Упрощает переноску видеокамеры.; извлеките его через кольцо (
- 208 Кнопки
- 209 ВНИМАНИЕ
- 210 Индикаторы экрана LCD и видоискателя; Индикаторы












