Видеокамеры Sony DCR-HC16E - инструкция пользователя по применению, эксплуатации и установке на русском языке. Мы надеемся, она поможет вам решить возникшие у вас вопросы при эксплуатации техники.
Если остались вопросы, задайте их в комментариях после инструкции.
"Загружаем инструкцию", означает, что нужно подождать пока файл загрузится и можно будет его читать онлайн. Некоторые инструкции очень большие и время их появления зависит от вашей скорости интернета.

Воспроизведение
38
Ускоренная перемотка ленты
вперед или назад
В режиме остановки нажмите
(ускоренная перемотка вперед) или
(ускоренная перемотка назад).
Просмотр фильмов в
видоискателе
Закройте панель LCD. Затем выдвиньте
видоискатель.
Индикаторы, отображаемые во
время воспроизведения
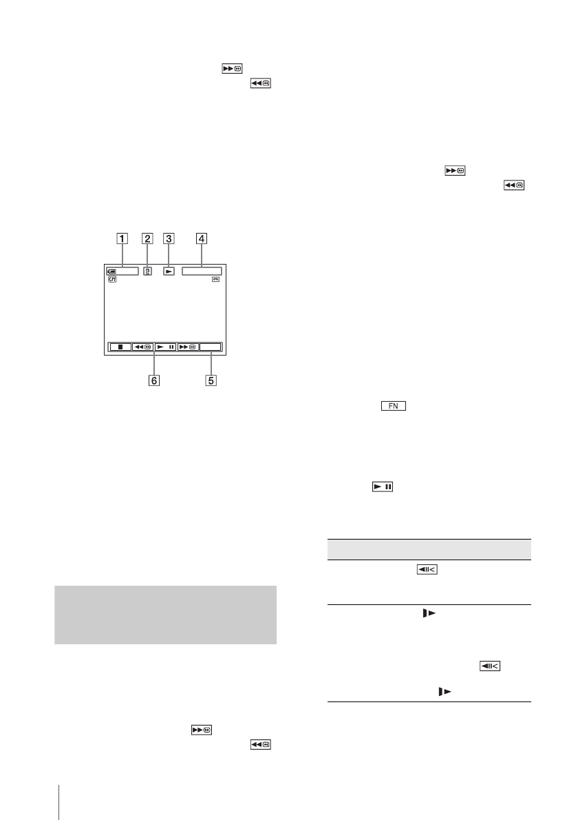
A
Индикатор оставшегося времени
работы батареи
B
Режим записи (SP или LP)
C
Индикатор движения ленты
D
Код времени (час: минуты: секунды:
кадр) или счетчик ленты (час:
минуты: секунды)
E
Кнопка функции
F
Кнопки управления
видеоизображением
Воспроизведение в различных
режимах
Ускоренная перемотка ленты
вперед или назад во время
воспроизведения – Поиск
изображения
Продолжайте нажимать
(ускоренная перемотка вперед) или
(ускоренная перемотка назад) во время
воспроизведения.
Для перехода в обычный режим
воспроизведения отпустите кнопку.
Просмотр изображения при
ускоренной перемотке ленты
вперед или назад – Поиск
методом прогона
Продолжайте нажимать
(ускоренная перемотка вперед) или
(ускоренная перемотка назад) во время
ускоренной перемотки ленты вперед или
назад.
Для возобновления обычной перемотки
ленты вперед или назад отпустите
кнопку.
Воспроизведение в различных
режимах
Записанный звук не будет слышен. На
экране могут остаться мозаичные
элементы ранее воспроизведенного
изображения.
1
В режиме воспроизведения или паузы
нажмите
и выберите [СТР.3].
2
Нажмите [ИЗМ. СКОР.].
3
Выберите режим воспроизведения.
Для возврата в обычный режим
воспроизведения дважды нажмите
кнопку
(воспроизведение/
пауза) (один раз для возврата из
режима покадрового
воспроизведения).
0 : 0 0 : 0 0 : 1 5
60мин
60мин
FN
Цель
Нажмите
изменение
направления
воспроизведения*
(по кадрам) во
время
воспроизведения.
замедленное
воспроизведение**
[
МЕДЛ.] во время
воспроизведения.
Изменение
направления
1
Нажмите
(по
кадрам).
2
[
МЕДЛ.].
Содержание
- 102 ПРЕДУПРЕЖДЕНИЕ; Дата изготовления фотоаппарата; ДЛЯ ПОКУПАТЕЛЕЙ В ЕВРОПЕ
- 105 Содержание
- 106 Воспроизведение; Простое выполнение операций воспроизведения
- 108 Краткое руководство; Запись фильмов; Вставьте кассету в видеокамеру.; Передвиньте батарейный блок в направлении стрелки до щелчка.
- 109 Кр; Начните запись, глядя на экран LCD для контроля снимаемого
- 110 Простая запись и воспроизведение; шрифта увеличивается (
- 111 Подготовка к эксплуатации
- 112 Можно зарядить; батарейный блок; Примечания; на штекере постоянного
- 113 После зарядки батареи; Примечание
- 114 Время зарядки; Время воспроизведения
- 115 ПРЕДОСТЕРЕЖЕНИЕ; • CAMERA: запись на кассету
- 116 Выключение питания; видоискателя; Регулировка панели LCD
- 117 чтобы; Советы; Регулировка видоискателя; Выдвиньте видоискатель.
- 118 Совет
- 119 Нажмите
- 120 Извлечение кассеты; Передвиньте рычажок OPEN/
- 121 экране; Включите видеокамеру.
- 122 Запись
- 123 Кнопка функции
- 124 Съемка панорамных изображений; Запись в зеркальном режиме
- 125 Появится индикация; Отмена времени выдержки; Выполните пункты 1 и 2.; изображений; Фотосъемка на ленту
- 126 Простая запись; – Easy Handycam; Можно записывать только фильмы.
- 127 Кнопка EASY загорится синим цветом.; Нажмите кнопку EASY еще раз.; Запуск режима
- 129 будет
- 130 Запись в темноте; NightShot plus; Появятся индикаторы
- 131 Фокусировка
- 132 Автоматическая фокусировка; Ручная фокусировка
- 134 Отмена операции
- 135 Ручной поиск – EDIT SEARCH
- 137 кассету; Регулировка громкости; Остановка воспроизведения; Установка паузы
- 138 В режиме остановки нажмите; Индикатор движения ленты; Продолжайте нажимать; Выберите режим воспроизведения.; Цель
- 139 воспроизведения; Easy Handycam
- 140 Воспроизведите кассету.; с помощью
- 141 и выберите
- 142 экране телевизора
- 143 на
- 144 Нажмите кнопку
- 147 Усовершенствованные; Настройка видеокамеры; Изменение
- 149 . После выбора установки; ПРОГР АЭ
- 151 АВТОЗАТВОР
- 153 Эта функция служит для компенсации подрагивания видеокамеры.; МОНТ ПОИСК
- 155 После выбора установки; На этом экране
- 157 . Набор настраиваемых; ТИТР; с функцией; Чтобы удалить символ:; нажмите
- 158 Цвет; С помощью кнопок
- 159 Можно просмотреть титр во время воспроизведения изображения.; ПОИСК CM
- 160 Выберите
- 161 АУДИОРЕЖИМ
- 162 ОСТАЛОСЬ
- 163 Начнет мигать индикатор
- 164 Набор настраиваемых; ПОТОК USB
- 166 АВТЗТВ ВЫК
- 167 ПУЛЬТ ДУ; ДИСПЛЕЙ
- 170 видеокамеры
- 171 эпизодов с кассеты; – Цифровой монтаж программы
- 172 При использовании кабеля i.LINK; Выберите i.LINK с помощью
- 174 затем
- 176 Удаление программ
- 178 Подготовка к записи звука; • используя встроенный микрофон
- 179 Запись звука; Воспроизведение остановится.
- 181 Устранение неполадок; Общие функции; Неполадка
- 182 Батарея/источники питания
- 183 Кассеты
- 184 Съемка
- 188 сообщения; Индикация самодиагностики/Предупреждающие индикаторы; Индикация
- 190 Предупреждающие сообщения; Тематики
- 192 Дополнительная информация; Подача питания; Система
- 193 является торговой маркой.; Сигнал авторского права; При воспроизведении; Примечания по эксплуатации
- 194 После использования кассеты
- 195 Зарядка батарейного блока
- 196 О хранении батарейного блока
- 198 О требуемом кабеле i.LINK
- 199 Конденсация влаги; Если произошла конденсация влаги
- 200 Видеоголовка; Очистка экрана LCD
- 201 Прикоснитесь к знаку “; Очистка корпуса; трех месяцев
- 202 Спецификации; Видеокамера; Экран LCD
- 203 Общие характеристики; Типы различий; Имеется
- 204 Краткий справочник
- 205 Гнездо; Гнездо управления; Кнопка RESET
- 206 Рычаг привода трансфокатора
- 207 Ремень для захвата; Упрощает переноску видеокамеры.; извлеките его через кольцо (
- 208 Кнопки
- 209 ВНИМАНИЕ
- 210 Индикаторы экрана LCD и видоискателя; Индикаторы












