Видеокамеры Sony CCD-TRV428E - инструкция пользователя по применению, эксплуатации и установке на русском языке. Мы надеемся, она поможет вам решить возникшие у вас вопросы при эксплуатации техники.
Если остались вопросы, задайте их в комментариях после инструкции.
"Загружаем инструкцию", означает, что нужно подождать пока файл загрузится и можно будет его читать онлайн. Некоторые инструкции очень большие и время их появления зависит от вашей скорости интернета.

За
пи
сь
Запись
23
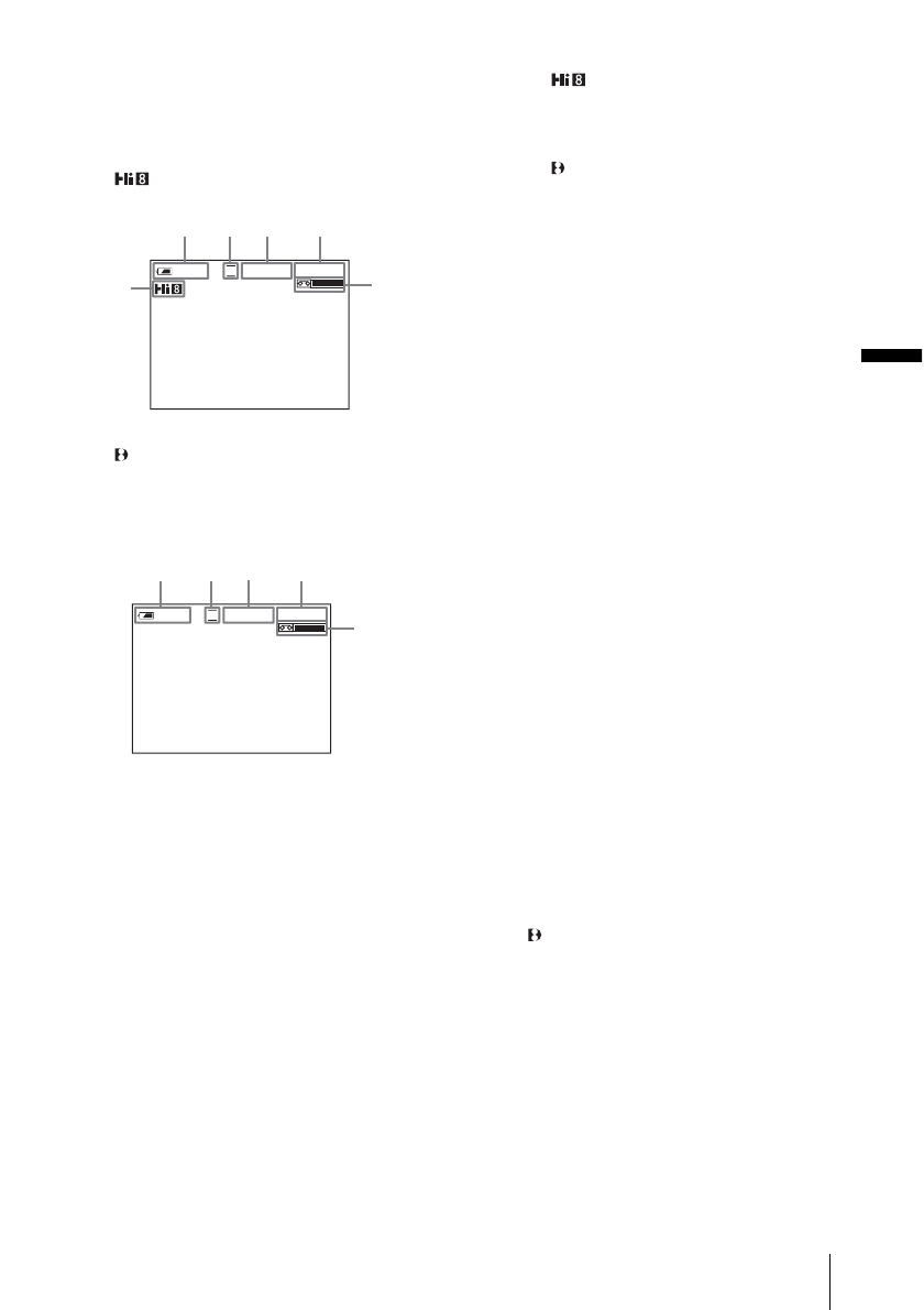
Индикаторы, отображаемые во
время записи
При записи на кассету индикаторы не
сохраняются в отснятом материале.
Для TRV228E/428E:
Для TRV255E/265E:
Дата/время записи и данные настройки
видеокамеры (стр. 41) не отображаются
во время записи.
A
Оставшееся время работы
батарейного блока
Отображаемое время может быть
неправильным и зависит от условий, в
которых выполняется запись. Если
открыть панель LCD или, закрыв ее,
затем вновь открыть, требуется
около 1 минуты, чтобы отобразить
точное оставшееся время работы
батарейного блока.
B
Режим записи (SP или LP)
C
Состояние записи ([ОЖИДАН]
(ожидание) или [ЗАПИСЬ] (запись))
D
Счетчик ленты (час: минуты:
секунды)
Чтобы установить счетчик на 0:00:00,
нажмите кнопку COUNTER RESET
(стр. 106).
E
Оставшееся время записи
Для TRV228E/428E:
Этот индикатор появляется после
установки кассеты и записи в течение
некоторого времени.
Для TRV255E/265E:
Этот индикатор появляется после
установки переключателя POWER в
положение CAMERA и вставки
кассеты.
F
Формат Hi8
Этот индикатор появляется во время
записи кассет формата Hi8.
G
Код времени или счетчик ленты (час:
минуты: секунды)/Фотосъемка на
кассету
b
Примечания
• Перед тем, как заменить батарейный блок,
передвиньте переключатель POWER в
положение (CHG) OFF.
• По умолчанию, если видеокамера не
используется более 5 минут, питание
автоматически отключается для экономии
энергии батарей (функция [АВТЗТВ ВЫК],
стр. 65). Чтобы вновь запустить запись,
передвиньте переключатель POWER вниз и
выберите CAMERA, а затем нажмите
кнопку REC START/STOP.
z
Советы
• Чтобы обеспечить плавный переход от
последнего записанного на кассете эпизода к
следующему, следуйте следующим правилам.
– Не извлекайте кассету. (Изображение
будет записано последовательно и без
перерывов, даже если производилось
выключение питания.)
– Не записывайте вместе на одной кассете
изображения в режимах SP и LP.
– Избегайте останавливать запись в режиме
LP.
• Для TRV255E/265E:
Дата и время записи, а также данные
настройки видеокамеры автоматически
записываются на носитель записи, не
отображаясь на экране. Данную
информацию можно просмотреть во время
воспроизведения, выбрав на экране
[КОДДАННЫХ] (стр. 64).
SP
0:00:01
60
мин
3AПИСЬ
2
2
5
4
6
1
1
3
3
SP
0:00:01
60
мин
3AПИСЬ
1
1
2
2 3
3
7
5
,
продолжение
Содержание
- 102 Примечание относительно кассет
- 104 Запись неподвижных изображений – Фотосъемка на кассету; Содержание
- 105 Поиск последнего эпизода самой последней записи; Воспроизведение; Поиск эпизода для воспроизведения на кассете
- 108 Краткое руководство; Запись фильмов; Присоедините заряженный батарейный блок к видеокамере.
- 109 Кра; Начните запись, глядя на экран LCD для контроля
- 110 шрифта увеличивается (
- 111 Подготовка к эксплуатации; Только для моделей со знаком
- 112 Можно зарядить; батарейный блок; Поднимите видоискатель.
- 113 После зарядки батареи
- 114 Время зарядки; Батарейный блок
- 115 Время воспроизведения; ПРЕДОСТЕРЕЖЕНИЕ
- 116 или монтаж изображений на кассете.; Выключение питания; видоискателя; Регулировка панели LCD
- 117 Регулировка видоискателя
- 119 и Hi8; Передвиньте рычажок
- 120 Нажмите кнопку; Извлечение кассеты; экране; Включите видеокамеру.
- 122 Запись
- 123 Оставшееся время записи
- 124 В меню
- 125 : автоматически включается; Запись в зеркальном режиме
- 127 изображений
- 128 Простая запись; Можно записывать только фильмы.; Нажмите кнопку EASY.; Нажмите кнопку EASY еще раз.; Запуск режима
- 129 На экране появится индикация; Нажмите кнопку EXPOSURE.
- 130 Запись в темноте; – NightShot plus; Появятся индикаторы
- 131 Ручная фокусировка; Автоматическая фокусировка
- 132 Это функция только для; Отмена операции
- 133 Наложение титра
- 135 последней записи
- 136 Нажмите кнопку END SEARCH еще раз.
- 137 кассету; Нажмите; Регулировка громкости; Пауза
- 138 Индикатор движения ленты
- 140 Воспроизведите кассету.; Можно использовать следующие; воспроизведения
- 141 Код данных
- 142 экране TV
- 143 на
- 144 кассете; Быстрый поиск эпизода
- 145 Поиск фото; Фотосканирование
- 147 Усовершенствованные; Настройка видеокамеры; Изменение; Отобразится экран меню.
- 148 . Набор настраиваемых; ПРОГР АЭ
- 150 АВТОЗАТВОР
- 153 для просмотра на экране широкоэкранного TV с размером экрана 16:9
- 154 Эта функция служит для компенсации подрагивания видеокамеры.
- 155 На этом экране; ЗВУК HiFi; МОНТАЖ
- 157 ЦВЕТ ЖКД
- 158 АУДИОРЕЖИМ
- 159 УСТАН ORC; ОСТАЛОСЬ
- 160 Поверните диск SEL/PUSH EXEC для выбора [; Загорится индикатор
- 161 Нажмите кнопку MENU, чтобы скрыть установки меню.; Начнет мигать индикатор
- 162 АВТОДАТА; ПОТОК USB
- 163 LANGUAGE
- 164 КОД ДАННЫХ
- 165 АВТЗТВ ВЫК; ПУЛЬТ ДУ; ДИСПЛЕЙ
- 167 ез
- 171 Нажмите кнопку EASY DUB.
- 173 Титр высветится на экране.
- 175 видеокамеры
- 176 эпизодов с кассеты
- 181 Можно удалить все программы.
- 182 Устранение неполадок; Общие функции; Неполадка
- 183 Кассеты
- 184 Экран LCD/видоискатель
- 188 сообщения; Индикация самодиагностики/Предупреждающие индикаторы; Индикация
- 189 Предупреждающие сообщения
- 190 Тема
- 191 Дополнительная информация; Подача питания; Система
- 192 Система Hi8; Эта система Hi8; Система Digital8; –кассета была извлечена во время; Сигнал авторского права; При воспроизведении; Примечания по эксплуатации
- 193 После использования кассеты; являются; Зарядка батарейного блока; • Перед использованием видеокамеры
- 194 О хранении батарейного блока
- 195 • Срок службы батарейного блока
- 196 О требуемом кабеле i.LINK
- 198 Конденсация влаги; Конденсация влаги. Извлеките; Примечания по конденсации влаги; Видеоголовка
- 199 Экран LCD; Очистка экрана LCD; Обращение с корпусом
- 200 Процедуры; Спецификации; Видеокамера
- 201 Для TRV
- 203 Типы различий
- 204 Краткий справочник; Динамик
- 205 Объектив
- 206 REW (ускоренная перемотка
- 207 Окуляр; Прикрепление плечевого ремня
- 208 Пульт дистанционного управления; Передатчик
- 209 ВНИМАНИЕ
- 210 Индикаторы экрана LCD и видоискателя; Индикаторы
- 211 Указатель












