Видеокамеры Panasonic AG-UX180 - инструкция пользователя по применению, эксплуатации и установке на русском языке. Мы надеемся, она поможет вам решить возникшие у вас вопросы при эксплуатации техники.
Если остались вопросы, задайте их в комментариях после инструкции.
"Загружаем инструкцию", означает, что нужно подождать пока файл загрузится и можно будет его читать онлайн. Некоторые инструкции очень большие и время их появления зависит от вашей скорости интернета.

- 206 -
∫
Обозначения при
воспроизведении
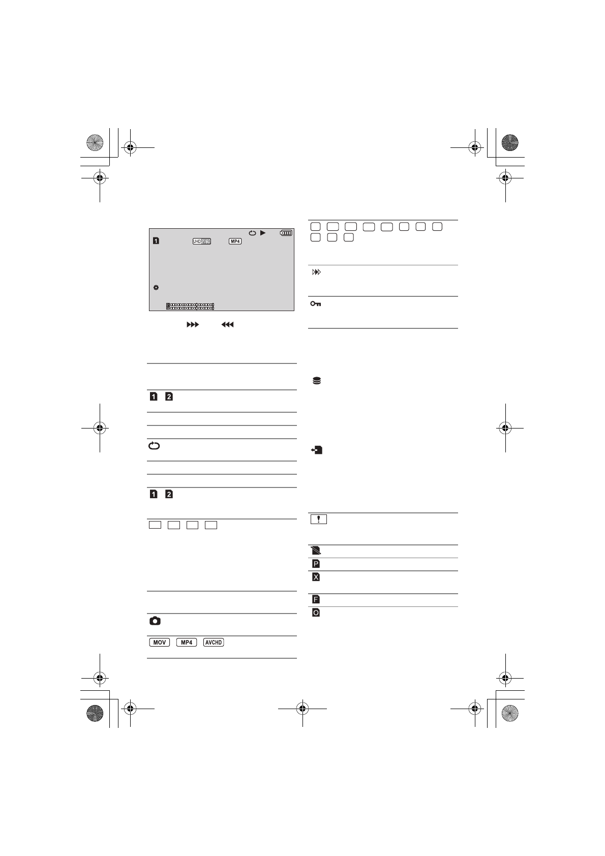
Пример: индикация на английском языке
∫
Индикация подключения к
внешнему устройству
хранения данных
∫
Индикация подключения к
другим устройствам
∫
Подтверждающие сообщения
1
,
;
,
5
,
,
6
,
,
7
,
8
,
9
,
:
,
D
,
E
,
;1
,
2;
Отображение во время воспроизведения
(
TC 00:00:00.00/TC 00:00:00:00
Дисплей счетчика (
)
,
(белый)
Номер гнезда для карты
памяти
No.0010
Номер сцены
100-0001
Имя папки/файла стоп-кадра
Повтор воспроизведения
(
)
15:30
Обозначение времени (
15 11 2016
Обозначение даты (
,
(белый)
Гнездо для карты, выбранное
для записи фотоснимков
(
)
,
,
,
Количество записываемых пикселей для
фотоснимков (
)
Размер снимка не отображается для
фотоснимков, записанных на других
устройствах, в которых размеры изображений
отличаются от вышеприведенных.
R3000
Оставшееся количество
фотоснимков (
(Красный)
Запись фотоснимка (
)
,
,
Режим записи (при отображении пиктограмм) (
)
TC 00:00:00:00
No.0010
50.00p
150M
15 11 2016
15:30
ICONS
M
8.8
M
8.3
2.1
M
M
0.9
10
Номер сцены (при
отображении 9 сцен в
режиме пиктограмм) (
,
,
,
,
,
,
,
,
,
,
Формат записи (при отображении
пиктограмм) (
,
)
Возобновление
воспроизведения (в виде
пиктограммы) (
Защищенные видеозаписи/
фотоснимки (в виде
пиктограммы) (
Воспроизведение на внешнем
устройстве хранения данных
(
Доступ к карте (
)
– –
(Отображение
времени)
Заряд встроенного
аккумулятора заканчивается.
(
Предупреждение относительно
записи собственного
изображения (
)
Карта SD не вставлена.
Карта SD защищена от записи.
Карта SD не совместима с
устройством.
Карта SD заполнена.
Карта SD предназначена только
для воспроизведения
4K
UHD
FHD
DU50
DU8
PH
PS
HA
HE
PM
SA
AG-UX180EJ(DVQP1170ZA)_R.book 206 ページ 2018年8月8日 水曜日 午後3時16分
Содержание
- 2 Информация для вашей безопасности; Предупреждение; ВНИМАНИЕ
- 3 О данном устройстве
- 5 Информация об аккумуляторе
- 6 Информация о SD карте
- 7 Монитор ЖКД/видоискатель
- 8 О частоте системы
- 9 Информация о безопасности
- 10 Оглавление
- 11 Соединение с внешними; Меню; Дисплей
- 12 Аксессуары
- 13 Дополнительные принадлежности
- 14 Возможности данной камеры; Режим устройства USB
- 15 Режим главного устройства USB
- 16 Удаленные операции с помощью iPad
- 17 Идентификация частей и обращение
- 21 Прикрепление/снятие бленды объектива
- 23 Прикрепление переднего микрофона; Прикрепление крышки разъема INPUT
- 24 Зарядка аккумулятора; Информация о зарядном устройстве; Питание
- 26 Как вставлять/извлекать аккумулятор; Как извлечь аккумулятор
- 27 Время зарядки и записи
- 28 Проверка оставшегося заряда аккумулятора
- 29 Подключение к сети переменного тока
- 30 Карты, которые можно использовать с данным устройством; Информация о значениях класса скорости для видеосъемки; Подготовка карт SD
- 31 Как вставлять/извлекать карту SD; Индикатор доступа
- 32 Включение/выключение камеры; Чтобы отключить питание; Выбор режима
- 33 Как изменить настройку с помощью кнопки USER; Использование ЖКД монитора/
- 34 Использование ЖКД монитора
- 35 Использование сенсорного экрана; Касание; Прокрутите касанием
- 36 Регулировка монитора ЖКД; Прикоснитесь к требуемому элементу настроек.
- 37 Регулировка видоискателя; Установка поля обзора
- 38 Для регулировки настроек прикоснитесь к; Съемка автопортрета
- 39 Прикоснитесь к; Установка даты и времени; Часовой пояс
- 41 Использование экрана меню
- 42 Перед началом записи; Выбор носителя для записи
- 43 Форматирование носителей; Запись видеокадров
- 44 Показания на экране в режиме записи
- 45 Переключение между; Переключатель AUTO/MANU
- 46 Элементы управления, отключаемые в автоматическом режиме
- 47 Пункт меню; Настройка качества изображения; Функция детализации
- 48 Функция коррекции цвета
- 49 Функция приближения/удаления; Рычажок трансфокатора
- 50 О скорости изменения масштаба; Использование функции быстрого увеличения
- 51 Изменение режима стабилизатора изображения; Функция стабилизатора изображения
- 53 Настройте фокусировку, поворачивая фокусирующее кольцо.; Фокус
- 54 Как выделить контуры изображений
- 55 Пользовательская функция АФ; Настройка скорости АФ; Настройка согласованности АФ; Настройка автофокусировки для различных условий съемки
- 56 Настройка диапазона участка АФ; АФ одним нажатием; Нажмите кнопку PUSH AUTO.
- 57 Принудительная АФ; Нажмите и удерживайте кнопку PUSH AUTO.; Вспомогательная фокусировка; Выбор способа вспомогательной фокусировки
- 58 Как настроить увеличенное отображение; Чтобы изменить уровень увеличения, коснитесь; Использование вспомогательной фокусировки
- 60 Режим помощи при ручной фокусировке
- 61 Перемещение фокуса; Регистрация положения фокуса
- 62 Использование функции перемещения фокуса
- 64 Баланс белого
- 66 Точная настройка цветового баланса ATW; Настройка ATW для различных условий съемки
- 67 Для точной настройки баланса белого
- 68 Настройка ирисовой диафрагмы; Настройка ирисовой диафрагмы/
- 70 Настройка усиления; Нажмите на поворотный переключатель.
- 71 Как изменить значение усиления для сверхусиления; Сверхусиление
- 72 Нажмите кнопку SHUTTER для переключения на ручной режим затвора.; Ручная установка скорости затвора
- 74 Нажмите кнопку SHUTTER.; Для установки нажмите на поворотный переключатель.; Выполнение настройки синхронного сканирования
- 75 Форматы звукозаписи; Переключение ввода аудио; Использование встроенного микрофона; Аудиовход
- 76 Таблица схем ввода звукового сигнала
- 77 Регулировка входного уровня аудио; Выбор способа настройки
- 79 Установка временного кода
- 81 Настройка пользовательской информации
- 82 Настройка счетчика записи
- 84 Настройка кнопки USER; Прикоснитесь к этому пункту для регистрации.; USER кнопка
- 85 Использование кнопки USER; Переключение отображения/скрытия кнопок USER
- 86 Функции кнопки USER; Перечень функций кнопки USER
- 89 Как изменить коэффициент цифрового увеличения
- 92 Коснитесь экрана записи.
- 95 Коррекция наклона
- 97 Нажмите кнопку USER на экране записи.
- 100 Сохранение настроек файла сцены; Коснитесь названия файла сцены.; Назначение сохраненных файлов сцены номерам сцены; Коснитесь названия файла сцены, который нужно загрузить.
- 101 Нажмите на поворотный переключатель, чтобы завершить настройку.
- 102 Для начала съемки нажмите кнопку начала/остановки записи.
- 105 Значения частоты кадров и их эффекты
- 108 Экран с цветной полосой; Полезные функции; BARS кнопка
- 109 Фильтр ND; Передвиньте переключатель фильтра ND.
- 110 Для отображения информации о режиме
- 111 Прикоснитесь к значку операции.; Использование значков функций
- 112 Использование поворотного; Выбор/установка параметров
- 114 Регулировка громкости наушников; Подключите наушники к разъему для наушников.
- 115 Коснитесь нужного режима записи; Воспроизведение видео/
- 116 Коснитесь сцены или стоп-кадра для воспроизведения.
- 118 Совместимость фильмов; Совместимость стоп-кадров
- 120 Создание стоп-кадра из видеоизображения; в сцене, которую нужно; Об индикации на экране во время записи фотоснимков
- 121 Коснитесь значка выбора даты.
- 123 Удаление воспроизводимой сцены или фотоснимка; Удаление сцен или фотоснимков из экрана пиктограмм
- 125 Коснитесь требуемых элементов после отображения экрана.; Копирование данных между картами SD; Копирование
- 127 Наушники; Пульт дистанционного управления; Подключение наушников, пульта
- 129 Как отобразить экранную информацию на внешнем мониторе
- 130 Установка разрешения для внешнего вывода
- 131 Информация о разрешении для внешнего вывода
- 134 Операционная среда (память большой емкости); При использовании Windows; Подключение к ПК
- 135 Подключите данную камеру к адаптеру переменного тока.
- 136 Для безопасного отключения USB-кабеля; О дисплее ПК
- 138 Подготовка к копированию/воспроизведению; Копирование/воспроизведение с
- 139 Подключите данную камеру к сетевому адаптеру.; Прикоснитесь к требуемому элементу.
- 140 Моменты для проверки перед копированием; Форматирование
- 142 Воспроизведение с внешнего носителя
- 144 Действия перед подключением; Настройка учетного имени пользователя и пароля; Введите учетное имя пользователя.; Приложение iPad/AG ROP
- 145 Еще раз введите пароль.
- 146 Коснитесь нужных параметров и задайте их.
- 147 Подключение данной камеры к iPad; Настройки для выполнения на iPad; Прямое подключение
- 148 Выберите SSID данной камеры из настройки Wi-Fi; Поиск точек беспроводного доступа для установки соединения; Коснитесь точки беспроводного доступа для подключения.; Проверьте подключение к сети.; Подключение к точке беспроводного доступа
- 149 Установка соединения вручную
- 150 Подключение на основе истории; Коснитесь нужного параметра для подключения.
- 152 Файл сцены; Коснитесь; Использование меню
- 161 Режим системы
- 168 Переключатель кнопок User
- 169 Для настройки параметров прикоснитесь к
- 176 Настройка автоматического переключения
- 178 Настройка записи
- 180 Фоновая запись
- 181 Запись на основе двойного кодека
- 187 Настройка звука
- 189 Настройка выхода
- 192 Настройка отображения на экране
- 197 Другие функции
- 200 Настройка сети
- 201 Уход
- 202 Настройка видео
- 204 Обозначения записи; Обозначения
- 206 Подтверждающие сообщения
- 207 Сообщения; Во время записи/воспроизведения
- 209 Во время работы с пиктограммами и меню
- 212 Во время подключения к беспроводной локальной сети
- 213 Предупредительная индикация
- 216 В следующих случаях это не нарушение функционирования.; Поиск и устранение неисправностей
- 217 Индикация
- 218 Работа с другими устройствами
- 219 С ПК
- 220 О восстановлении; Обновление встроенного
- 221 Лицензии; Об авторском праве; ВАЖНАЯ ИНФОРМАЦИЯ
- 223 Функции записи, которые нельзя
- 224 Режимы записи/приблизительное
- 226 Приблизительное количество
- 227 Технические характеристики; Общие сведения; Камера
- 229 Устройство записи на карты памяти
- 230 Цифровое видео; Цифровое аудио; Двойной кодек
- 231 Монитор
- 232 Адаптер переменного тока; Зарядное устройство
- 233 © Panasonic Corporation 2016; Panasonic Corporation












