Видеокамеры JVC GZ-MG530 - инструкция пользователя по применению, эксплуатации и установке на русском языке. Мы надеемся, она поможет вам решить возникшие у вас вопросы при эксплуатации техники.
Если остались вопросы, задайте их в комментариях после инструкции.
"Загружаем инструкцию", означает, что нужно подождать пока файл загрузится и можно будет его читать онлайн. Некоторые инструкции очень большие и время их появления зависит от вашей скорости интернета.

12
Під час відеозйомки та
фотозйомки
2 0 . 0 4 . 2 0 0 8 12:13
200X
±0
1/4000
HDD
F5.6
LCD
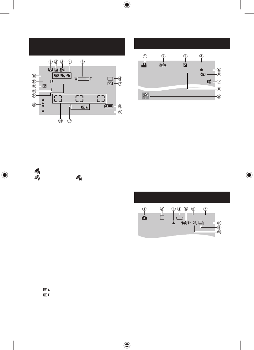
!
Індикатор вибраного операційного
режиму
4
: Автоматичний режим
3
: Ручний режим
#
Індикатор режиму ефектів
$
Індикатор режиму телемакро
%
F
: Індикатор балансу білого
H
: Індикатор режиму програмної AE
: Індикатор колірного режиму
: (ЯСКРАВИЙ),
(ПРИРОДНИЙ)
&
Індикатор зуму
(
Індикатор вибраного носія для запису
)
Індикатор падіння відеокамери
(Відображається при встановленні
функції [ДАТЧИК ПАДЕНИЯ] на [ВЫКЛ].)
*
Індикатор заряду акумулятора
(стор. 36)
+
Дата/час (стор. 14)
,
Витримка затвора
-
± : Індикатор настройки експозиції
.
: Індикатор настройки яскравості
C
: Індикатор фіксації діафрагми
.
Індикатор режиму компенсації
контрового освітлення
/
Величина діафрагми (число F)
0
Приблизна кратність зуму
1
Індикатор ручної настройки
фокусування
2
Рамка зони фотометрії
3
Індикатор підсвічування монітору
LCD
(БІЛЬШ ЯСКРАВИЙ),
LCD
(
СТАНДАРТНИЙ
)
Тільки під час відеозйомки
REC
[ 5 h 5 6 m ]
0 : 0 4 : 0 1
!
Індикатор режиму
#
Індикатор фільтра ND
$
Якість зображення:
B
(СВЕРХЧЕТКОЕ),
C
(ВЫСОКОЕ),
D
(НОРМАЛЬНОЕ),
E
(ЭКОНОМИЧНЫЙ)
%
Залишок часу (стор.
16, 38)
&
M
REC: (Відображається в режимі
зйомки.)
(стор.
16)
MQ
: (Відображається в режимі
очікування
зйомки.)
(
Індикатор цифрового стабілізатора
зображення (ЦСИ) (Відображається при
встановленні функції [ЦСИ] на [ВЫКЛ].)
)
Індикатор зменшення шуму вітру
*
Лічильник
+
Індикато подій
Тільки під час фотозйомки
[ 9 9 9 9 ]
PHOTO
FINE
2592
100
!
Індикатор режиму
#
Чутливість ISO (УСИЛЕНИЕ): При
встановленні на [АВТО] індикація не
відображається.
$
Індикатор фокусування
%
Розмір зображення
&
Індикатор режиму спалаху
(
Якість зображення: FINE (висока) або
STD (стандартна)
)
Число знімків, що залишилось (стор.
38)
*
Індикатор фотозйомки (стор.
17)
+
Індикатор режиму
,
Індикатор фотозйомки з автоспуском
Індикація на РК-моніторі
GZ-MG730&530ER_IB_UK.indb 12
GZ-MG730&530ER_IB_UK.indb 12
1/9/2008 5:00:05 PM
1/9/2008 5:00:05 PM
Содержание
- 2 Воспроизведение
- 3 Выбор режима записи; Откройте ЖК-монитор; Для просмотра изображений
- 4 Меры предосторожности
- 5 Торговые марки
- 6 Выбор позиции из списка меню; OK
- 7 Сделайте пробную запись
- 8 Содержание; ПОДГОТОВКА К ЭКСПЛУАТАЦИИ; ЗАПИСЬ; РЕДАКТИРОВАНИЕ/КОПИРОВАНИЕ; РАБОТА С КОМПЬЮТЕРОМ; компьютере Macintosh; ДОПОЛНИТЕЛЬНАЯ ИНФОРМАЦИЯ
- 9 Принадлежности; Как использовать док-станцию Everio Dock
- 10 Указатель
- 11 Камера
- 12 Только во время видеозаписи; MQ; Индикация на ЖК-мониторе
- 13 Во время воспроизведения видео; DISP
- 14 Установка даты/времени; Установите дату и время.; Зарядка батарейного блока; Необходимые настройки перед использованием
- 15 Другие настройки; Крепление ремня для переноски на плече; Дистанция работы пульта; Повторная установка батарейки
- 16 Запись файлов; Запись видео
- 17 Запись неподвижного изображения
- 18 Воспроизведение файлов; Выберите требуемый файл.
- 19 Включите камеру и телевизор.; Если формат изображения неправильный,; Просмотр изображений на телевизоре
- 20 Удаление/ Защита файлов; После выполнения действий; Работа с файлами
- 22 Копирование файлов; Нажмите кнопку DIRECT DVD.
- 23 Требования к системе; Свободное место на жестком диске:; Резервное копирование файлов на ИК Windows
- 24 Резервное копирование файлов на ИК Windows; Установка программ; CyberLink DVD Solution
- 25 Когда установка завершится
- 26 По окончании действия
- 28 Другие действия на компьютере Windows®
- 29 Структура папок и расширения; Расширения
- 30 Резервное копирование файлов на компьютере Macintosh
- 32 Номера телефонов/факсов службы поддержки; Информация поддержки клиента
- 33 Для сброса настроек камеры в; Устранение неисправностей
- 35 Чистка; Чистка корпуса
- 36 Индикация; Предупреждающая индикация
- 37 Сетевой адаптер; Технические характеристики
- 38 Пульт дистанционного управления; Продолжение на следующей странице
- 40 Аккумуляторный блок; Контакты; Носитель записи; Для продления срока службы
- 41 Основной блок
- 44 ВИКТОР КОМПАНИ ОФ ДЖАПАН, ЛИМИТЕД; Термины