Весы Polaris PKS 1044DG Baguette - инструкция пользователя по применению, эксплуатации и установке на русском языке. Мы надеемся, она поможет вам решить возникшие у вас вопросы при эксплуатации техники.
Если остались вопросы, задайте их в комментариях после инструкции.
"Загружаем инструкцию", означает, что нужно подождать пока файл загрузится и можно будет его читать онлайн. Некоторые инструкции очень большие и время их появления зависит от вашей скорости интернета.

5
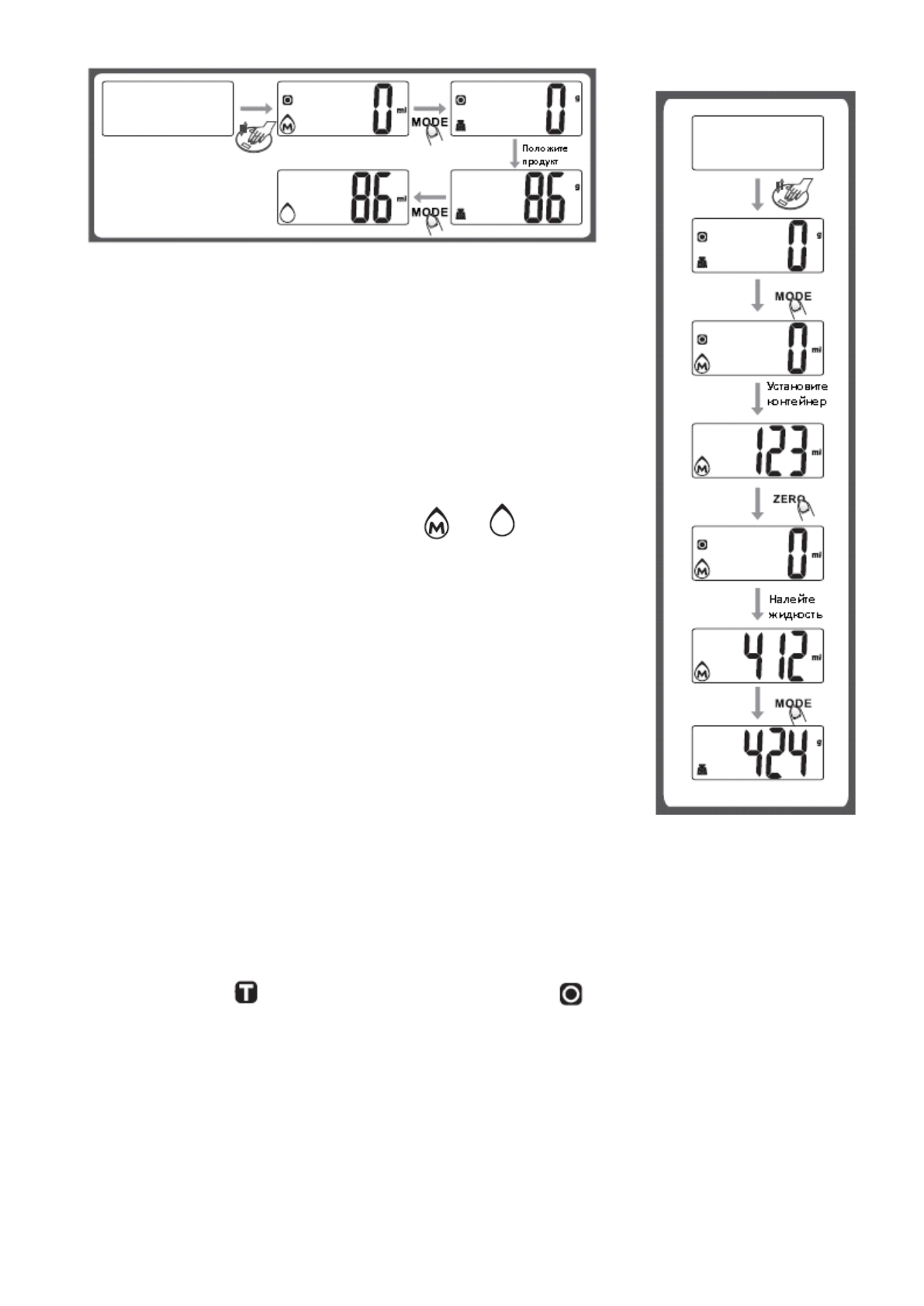
Определение объема молока/воды
1.
Установите весы на ровную, твёрдую, горизонтальную
поверхность.
2.
Включите весы, нажав на центр платформы для взвешивания
3.
Дождитесь
,
пока на дисплее отобразится значение «
0
».
4.
Нажмите на сенсор
MODE
для выбора режима работы –
определение объема воды/молока. В левом нижнем углу дисплея
отобразится выбранный режим работы
или
.
5.
Поставьте пустой контейнер для жидкости на платформу для
взвешивания. На дисплее отобразится вес контейнера.
6.
Нажмите на сенсор
TARE
для обнуления веса контейнера. На
дисплее отобразится значение «
0
».
7.
Налейте воду/молоко в контейнер. На дисплее отобразится объем
воды/молока в мл.
8.
Нажмите на сенсор
MODE
для определения веса воды/молока в г.
Функция ТАРА
Функция “ТАРА” предназначена для взвешивания продуктов в дополнительной емкости, а
также для взвешивания нескольких последовательных загрузок.
1.
Поместите емкость на стеклянную платформу весов. На дисплее отобразится вес данной
емкости.
2.
Нажмите сенсор
TARE
. Индикация на дисплее обнулится. В левом верхнем углу
отобразится
(если вес тары превышает 400 г) или
(если вес емкости до 400 г).
3.
Поместите продукты в емкость. На дисплее отобразится вес продуктов без учета веса
емкости.
4.
Данный процесс можно повторить несколько раз. Перед взвешиванием следующих загрузок
нажмите сенсор
TARA
, дождитесь, пока на дисплее отобразится
0
, затем поместите другие
продукты в емкость.
Максимально допустимый вес 10 кг указан с учётом веса обнулённой тары.
Характеристики
Остались вопросы?Не нашли свой ответ в руководстве или возникли другие проблемы? Задайте свой вопрос в форме ниже с подробным описанием вашей ситуации, чтобы другие люди и специалисты смогли дать на него ответ. Если вы знаете как решить проблему другого человека, пожалуйста, подскажите ему :)