Весы Polaris PKS 1044DG Baguette - инструкция пользователя по применению, эксплуатации и установке на русском языке. Мы надеемся, она поможет вам решить возникшие у вас вопросы при эксплуатации техники.
Если остались вопросы, задайте их в комментариях после инструкции.
"Загружаем инструкцию", означает, что нужно подождать пока файл загрузится и можно будет его читать онлайн. Некоторые инструкции очень большие и время их появления зависит от вашей скорости интернета.

11
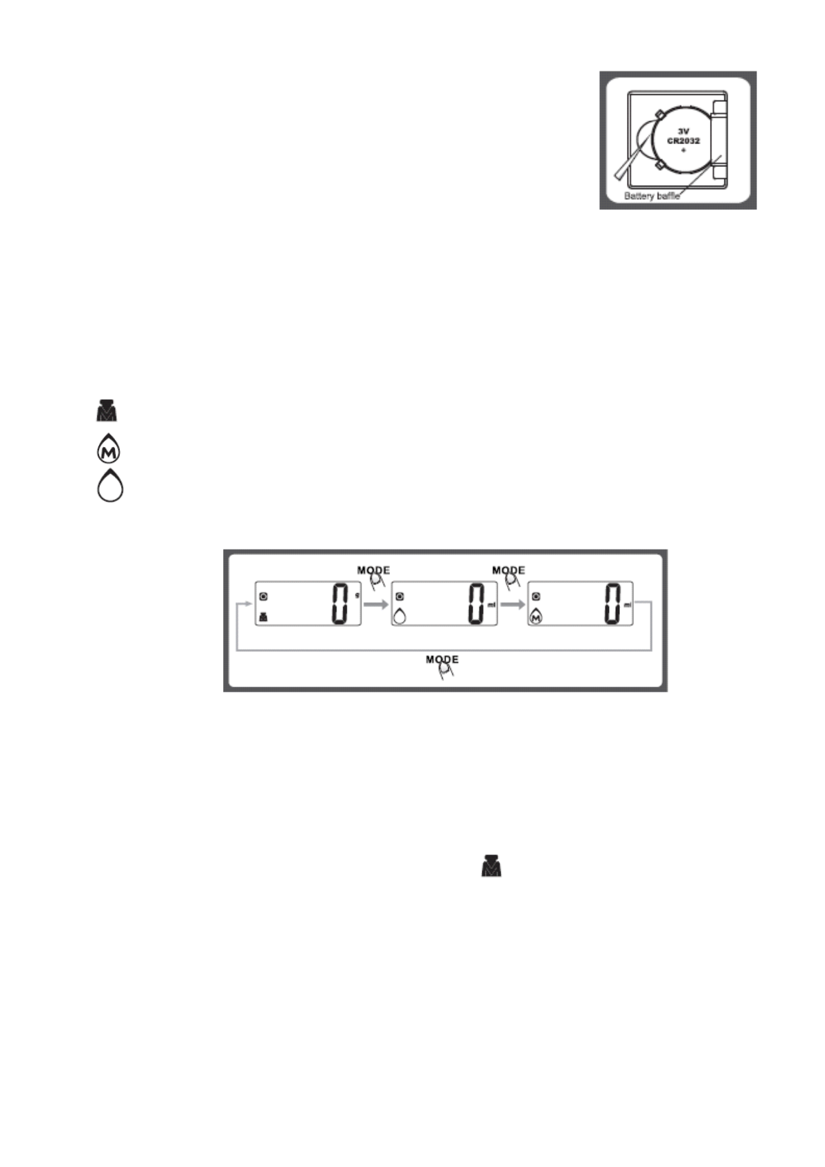
Установка та заміна батарейок
Переверніть ваги.
Відкрийте відсік для батарейок, зсунувши кришку.
Вийміть використану батарейку.
Установіть нову батарейку позитивним полюсом вверх.
(Початково батарейка входить до комплекту поставки. Щоб
розпочати роботу необхідно видалити діелектричну прокладку з
відсіку для батарейок).
Закрийте кришку відсіку.
Увага! Дотримуйтесь полярності під час установки батарейок.
В
и
бір режиму роботи
Для вибору режиму після увімкнення ваг натисніть на сенсор
MODE
. З ліва знизу на дисплеї
відобразиться індикатор вибраного режиму роботи:
Режим зважування у грамах
Режим визначення об’єму молока в мл
Режим визначення об’єму води в мл
Зважування
1.
Встановіть ваги на рівну, тверду, горизонтальну поверхню.
2.
Увімкніть ваги, натиснувши на центр платформи для зважування.
3.
Зачекайте, поки на дисплеї відобразиться значення «
0
».
4.
Натисніть на сенсор
MODE
для вибору режиму роботи – зважування у грамах. З ліва знизу
на дисплеї відобразиться вибраний режим роботи
.
5.
Покладіть продукти на платформу.
6.
Значення маси продуктів висвітиться на дисплеї.
7.
Для коректного відображення маси продуктів, їх загальна маса не повинна складати більше
ніж 10 кг.
Характеристики
Остались вопросы?Не нашли свой ответ в руководстве или возникли другие проблемы? Задайте свой вопрос в форме ниже с подробным описанием вашей ситуации, чтобы другие люди и специалисты смогли дать на него ответ. Если вы знаете как решить проблему другого человека, пожалуйста, подскажите ему :)