Весы Massa-K SI-4D_10.1_2012 - инструкция пользователя по применению, эксплуатации и установке на русском языке. Мы надеемся, она поможет вам решить возникшие у вас вопросы при эксплуатации техники.
Если остались вопросы, задайте их в комментариях после инструкции.
"Загружаем инструкцию", означает, что нужно подождать пока файл загрузится и можно будет его читать онлайн. Некоторые инструкции очень большие и время их появления зависит от вашей скорости интернета.

16
РЭ
SI 4D_ (
Редакция
10.1) 2012
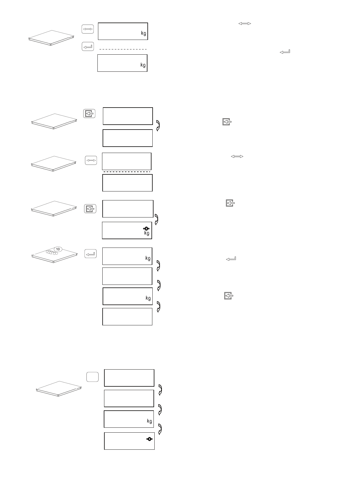
5.4.1.3
Установка
нового
значения
массы
одной
штуки
товара
Установка
нового
значения
возможна
в
любую
из
десяти
ячеек
памяти
.
5.4.2
Режим
процентного
взвешивания
5.4.2.1
Порядок
работы
в
режиме
процентного
взвешивания
Включить
весы
и
во
время
прохождения
теста
нажать
и
удерживать
около
1
се
-
кунды
кнопку
%
.
На
индикаторе
после
-
довательно
высветится
:
надпись
«
Prcnt
»,
величина
массы
принятой
за
100 %
и
«0.0» (
масса
в
%).
Весы
готовы
к
работе
.
P r c n t
1 0 0 %
1 5 7.0
Р
0.0
%
0 1 2.5
U n i t
Находясь
в
счетном
режиме
(
п
. 5.4.1.1),
нажать
кнопку
.
1)
9 1 7.5
0 1 2.5
Нажимая
кнопку
,
выбрать
одну
из
де
-
сяти
(0, 1, …, 9)
ячеек
памяти
,
в
которую
необходимо
записать
новое
значение
.
2)
u 0.0
E n 1 0
Нажать
кнопку
,
на
индикаторе
появит
-
ся
надпись
«
En 10
»,
предлагающая
уста
-
новить
на
платформу
десять
штук
товара
,
и
весы
перейдут
в
режим
взвешивания
.
3)
1 2.5
С
o u n t
1 2 5.5
1 0
Разместить
на
весах
10
штук
товара
.
Нажать
кнопку
.
Весы
рассчитают
мас
-
су
штуки
товара
и
перейдут
в
счётный
режим
(
п
. 5.4.1.1).
Для
возврата
в
режим
без
сохранения
-
нажать
кнопку
.
П р и м е ч а н и е
-
Минимально
допустимая
масса
одной
штуки
товара
не
может
быть
меньше
цены
деления
весов
.
4)
0 1 5.5
9 1 7.5
2)
С
помощью
кнопки
можно
выбрать
одно
из
десяти
значений
массы
штуки
то
-
вара
,
записанного
в
память
.
Выбрав
тре
-
буемое
значение
,
нажать
кнопку
и
пе
-
рейти
в
режим
подсчета
количества
штук
товара
(
п
. 5.4.1.1).
1)