Весы Massa-K SI-4D_10.1_2012 - инструкция пользователя по применению, эксплуатации и установке на русском языке. Мы надеемся, она поможет вам решить возникшие у вас вопросы при эксплуатации техники.
Если остались вопросы, задайте их в комментариях после инструкции.
"Загружаем инструкцию", означает, что нужно подождать пока файл загрузится и можно будет его читать онлайн. Некоторые инструкции очень большие и время их появления зависит от вашей скорости интернета.

10
РЭ
SI 4D_ (
Редакция
10.1) 2012
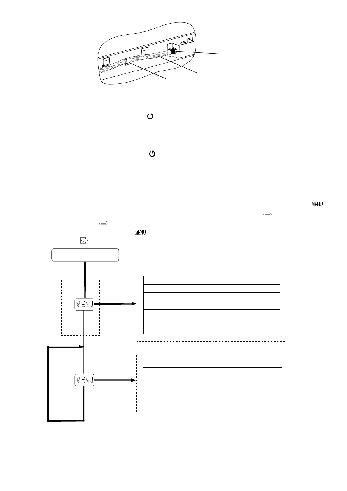
Рис
. 4.5 -
Подключение
кабеля
к
платформе
4.2.2.4
Включить
индикатор
с
помощью
выключателя
на
задней
крышке
(WI 4D-A,
WI 4D-A.W)
или
с
помощью
кнопки
на
передней
панели
(WI 4D-AB, WI 4D-A
В
.W).
4.2.2.5
Установить
параметры
индикатора
в
соответствии
с
п
.
п
. 5.1.2÷5.1.8.
Пара
-
метр
«
Радиоканал
»
должен
быть
выключен
.
4.2.3
Выключение
весов
производить
с
помощью
выключателя
(
индикаторов
WI 4D-A
и
WI 4D-A.W)
или
кнопкой
(WI 4D-AB, WI 4D-A
В
.W).
5
Работа
весов
5.1
Установка
параметров
индикатора
5.1.1
Меню
установки
параметров
Включить
индикатор
и
во
время
прохождения
теста
индикации
нажать
кнопку
(
см
.
рис
. 5.1).
Весы
перейдут
в
меню
установки
параметров
.
Кнопкой
выбрать
нуж
-
ный
параметр
,
кнопкой
войти
в
режим
его
установки
.
Повторным
нажатием
кнопки
индикатор
возвращается
в
меню
установки
пара
-
метров
,
нажатием
в
рабочий
режим
.
Рис
. 5.1 -
Установка
и
контроль
параметров
весов
5.1.2
Параметр
«
Звуковой
сигнал
»
Включает
(
отключает
)
звуковой
сигнал
,
сопровождающий
нажатие
кнопок
и
ряд
сообщений
на
индикаторе
.
Кабель
блочный
Хомут
Разъем
Установка
параметров
индикатора
Включение
звукового
сигнала
Включение
радиоканала
Установка
номера
радиоканала
Установка
яркости
подсветки
Установка
“
спящего
”
режима
Установка
фильтров
сигнала
взвешивания
Установка
протокола
обмена
Включение
питания
Контроль
параметров
индикатора
Контроль
заряда
аккумулятора
индикатора
Контроль
заряда
аккумулятора
приемопередатчика
Просмотр
кода
калибровки
Просмотр
номера
весов
Тест
индикации
Рабочий
режим