Варочная панель WEISSGAUFF HV 431 B - инструкция пользователя по применению, эксплуатации и установке на русском языке. Мы надеемся, она поможет вам решить возникшие у вас вопросы при эксплуатации техники.
Если остались вопросы, задайте их в комментариях после инструкции.
"Загружаем инструкцию", означает, что нужно подождать пока файл загрузится и можно будет его читать онлайн. Некоторые инструкции очень большие и время их появления зависит от вашей скорости интернета.

11
Описание прибора
Вид сверху (схематично)
Модель HI 32 B
Панель управления
1. Индукционная зона нагрева, макс. 1500 Вт
2. Индукционная зона нагрева, макс. 2000 Вт
3. Стеклянная панель
4. Панель управления
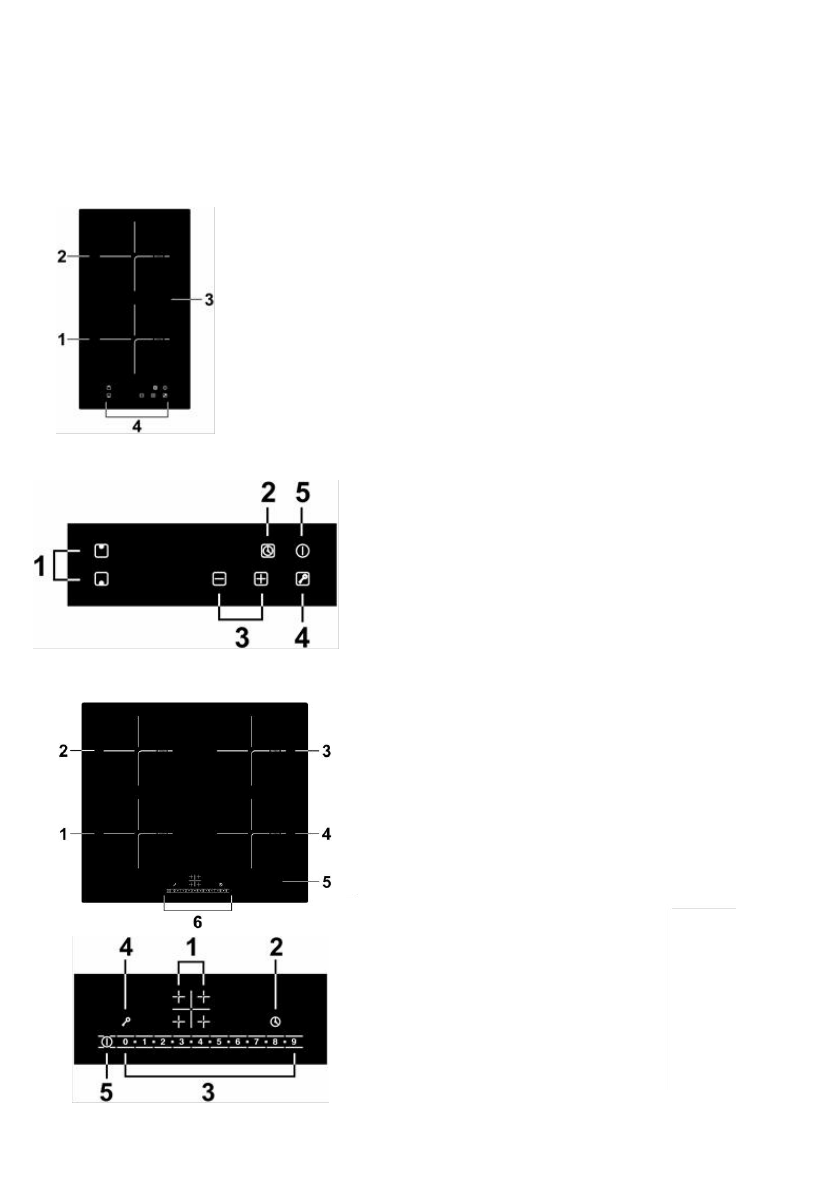
Модель HI 640 BS/HI 640 GS/HI 640 WS
1.
K
нопки
выбора
варочной
зоны
2.
Таймер
K
нопки
регулировки
мощности
/времени
K
нопка
блокировки
K
нопка
включения
/
выключения
1.
K
нопки
выбора
варочной
зоны
2. Таймер
3.
K
нопки
регулировки
мощности
/
времени
4.
K
нопка
блокировки
5.
K
нопка
включения/
выключения
1. Индукционная зона нагрева, макс. 2000 Вт
2.
Индукционная
зона
нагрева,
макс.
1500
Вт
3.
Индукционная
зона
нагрева,
макс.
2000
Вт
4.
Индукционная
зона
нагрева,
макс.
1500
Вт
5.
Стеклянная
панель
6.
Панель
управления
4.
5.
6.
3.