Варочная панель DEXP 1M2IT - инструкция пользователя по применению, эксплуатации и установке на русском языке. Мы надеемся, она поможет вам решить возникшие у вас вопросы при эксплуатации техники.
Если остались вопросы, задайте их в комментариях после инструкции.
"Загружаем инструкцию", означает, что нужно подождать пока файл загрузится и можно будет его читать онлайн. Некоторые инструкции очень большие и время их появления зависит от вашей скорости интернета.

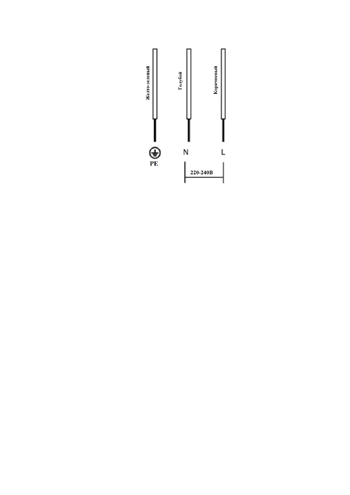
Схема подключения
•
Если кабель поврежден, его замена производится специалистом сервисного центра
с помощью
специальных инструментов, чтобы избежать любых несчастных случаев.
•
Если варочная панель
подключается непосредственно к сети, должен быть установлен
многополюсный автоматический выключатель с минимальным расстоянием между контактами
3 мм.
•
Необходимо
убедиться, что подключение к электрической
сети выполнено
корректно, и что
оно соответствует требованиям безопасности.
•
Кабель нельзя сгибать
или пережимать.
•
Регулярная проверка и замена кабеля осуществляется квалифицированными специалистами.
•
Желтый/зеленый провод кабеля питания должен быть подключен к заземлению источника
питания и устройства.
•
Изготовитель не несет ответственности за несчастные случаи, возникшие в результате
использования прибора, который не подключен к заземлению, или с неисправностью
цепи
заземления.
•
Необходимо обеспечить доступ к розетке прибора в случае ее наличия.
Нижняя поверхность варочной панели и кабель питания не должны быть доступны после
установки.
Правила и условия монтажа, хранения, перевозки (транспортировки),
реализации и утилизации
•
Хранение и транспортировка устройства должны производиться в сухом помещении.
Устройство требует бережного обращения, оберегайте его от воздействия пыли, грязи, ударов,
влаги, огня и т.д.
•
Реализация устройства должна производиться в соответствии с действующим
законодательством РФ.