Варочная панель V-ZUG CookTopInduction V4000 CTI4T64MMSOLD - инструкция пользователя по применению, эксплуатации и установке на русском языке. Мы надеемся, она поможет вам решить возникшие у вас вопросы при эксплуатации техники.
Если остались вопросы, задайте их в комментариях после инструкции.
"Загружаем инструкцию", означает, что нужно подождать пока файл загрузится и можно будет его читать онлайн. Некоторые инструкции очень большие и время их появления зависит от вашей скорости интернета.

3 Прибор
3.2
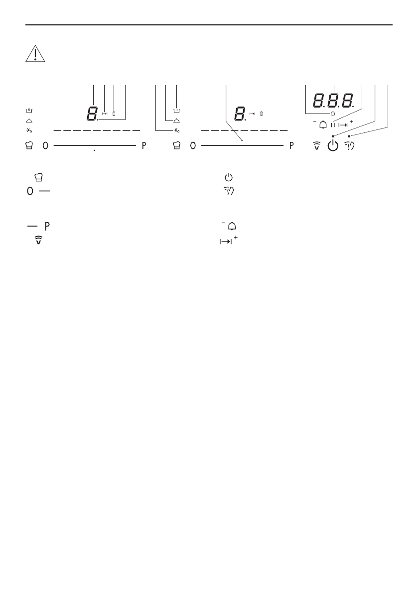
Элементы управления и индикации
Никогда не ставьте предметы на элементы управления! Это может привести к
повреждению прибора и произвольному включению функций.
1 2
10
9
4
7
6
5
8
3
13
12
11
Кнопки
Многофункциональная кнопка
Включение/выключение прибора
Слайдер (настройка уровня
мощности)
Включение/выключение функции
защиты при вытирании/перерыва
в готовке
Функция PowerPlus
Таймер/функция кнопки «минус»
Сохранение настроек
пользователя
Длительность включения/функция
кнопки «плюс»
Индикаторы
1
Уровень мощности конфорки
8
Соотнесение слайдера с
конфоркой
2
Активирована функция длительности
включения
9
Активирован таймер
3
Активирована функция объединения
соседних конфорок
10
Длительность включения/таймер
4
Активирована функция длительности
включения конфорки
11
Активирован перерыв
5
Активирована функция
растапливания
12
Включена варочная поверхность
6
Активирована функция поддержания
в горячем состоянии
13
Активирована защита при
вытирании/доступна функция
восстановления настроек
7
Активирована функция слабого
кипения
3.3
Функция индукционных варочных поверхностей
Принцип действия индукционных варочных панелей значительно отличается от
обычных варочных поверхностей и электроплиток. Расположенная под стеклокера-
мической поверхностью индукционная катушка создает быстро изменяющееся маг-
нитное поле, которое напрямую нагревает намагничивающееся дно кухонной посу-
ды.
Стеклокерамическая поверхность нагревается только от кухонной посуды. Когда ку-
хонная посуда снимается с конфорки, подача мощности сразу же прерывается.
9
Характеристики
Остались вопросы?Не нашли свой ответ в руководстве или возникли другие проблемы? Задайте свой вопрос в форме ниже с подробным описанием вашей ситуации, чтобы другие люди и специалисты смогли дать на него ответ. Если вы знаете как решить проблему другого человека, пожалуйста, подскажите ему :)