Варочная панель Smeg SIM561B - инструкция пользователя по применению, эксплуатации и установке на русском языке. Мы надеемся, она поможет вам решить возникшие у вас вопросы при эксплуатации техники.
Если остались вопросы, задайте их в комментариях после инструкции.
"Загружаем инструкцию", означает, что нужно подождать пока файл загрузится и можно будет его читать онлайн. Некоторые инструкции очень большие и время их появления зависит от вашей скорости интернета.

RU89
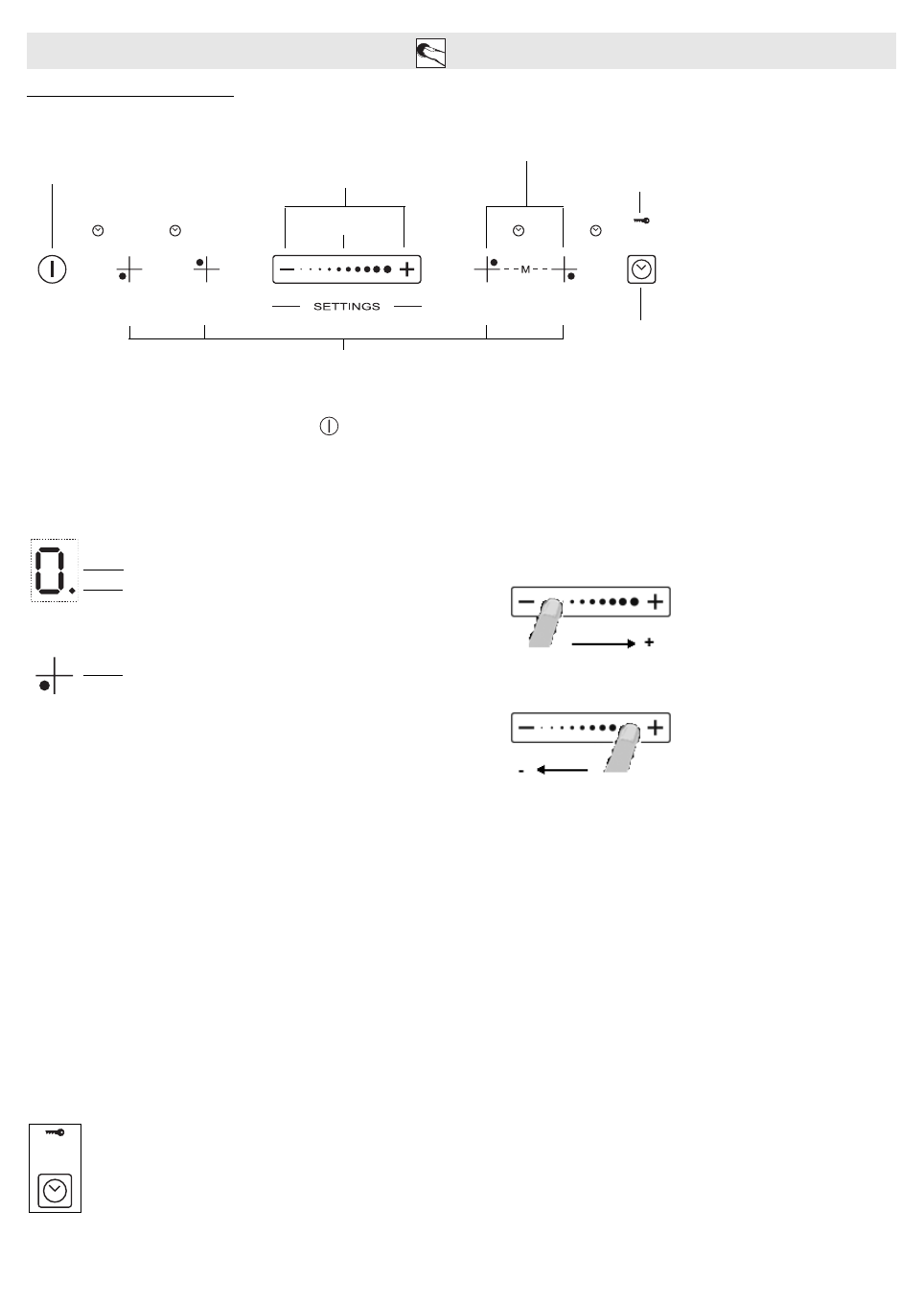
Описание панели управления
Панель управления
Включение/выключение варочной панели
Чтобы включить варочную панель, нажмите кнопку и удерживайте ее в нажатом состоянии приблизительно 2 секунды - пока не загорятся дисплеи зон
нагрева. Чтобы выключить панель, нажмите эту же кнопку и дождитесь, чтобы погас дисплей При этом происходит выключение всех зон нагрева.
После использования варочной панели индикатор остаточного тепла “Н” продолжит гореть до тех пор, пока зоны нагрева не остынут.
Если в течение 10 секунд после включения варочной панели не выбирается ни одна функция, панель автоматически выключается.
Включение и регулировка зон нагрева
После включения варочной поверхности активируйте желаемую зону нагрева нажатием на соответствующую круглую кнопку и поместите кастрюлю на
выбранную зону. Благодаря слайдеру можно выбирать желаемую мощность в диапазоне от 0 (минимум) до 9 (максимум), а также вводить в действие
бустер “P” (там, где он предусмотрен).
Чтобы увеличить уровень мощности, следует провести пальцем по слайдеру несколько раз слева направо, чтобы уменьшить уровень мощности - провести
пальцем справа налево. В качестве альтернативы можно использовать кнопки быстрого доступа “+” и “-”.
Выключение зон нагрева
Для выключения зоны нагрева нажмите на соответствующую кнопку и удержите ее более трех секунд.
Зона нагрева выключится и, если она еще не остыла, на дисплее зоны появится буква “H”.
Блокировка панели управления
Эта функция позволяет блокировать органы управления варочной панели, чтобы предотвратить ее случайное включение. Чтобы активировать блокировку панели
управления, включите варочную панель и на три секунды нажмите кнопку Таймер; активация будет подтверждена подачей звукового сигнала и загоревшимся
индикатором рядом с символом замка. При этом вся панель управления, за исключением функции выключения, блокируется. Чтобы отключить блокировку
управления, повторите процедуру ее активации. При этом светящаяся точка погаснет, и панель вернется в рабочее состояние.
Вода, жидкость, пролившаяся из кастрюль, или любые предметы, помещенные на кнопку под символом блокировки, могут вызвать произвольное
включение или выключение блокировки панели управления.
Таймер
Таймер может использоваться для задания времени готовки до 99 минут(1 час и 39 минут) включительно для всех зон нагрева.
Выберите зону нагрева, для которой будет задан таймер, нажмите на таймер, о включении функции оповестит звуковой сигнал (см.рисунок).
На дисплее отображается “00” и загорается светодиодная индикация. Значения времени по таймеру можно увеличивать или изменять
кнопками “+” и “-” функции слайдера. После истечения заданного времени раздается звуковой сигнал и данная зона нагрева выключается
автоматически. Для отключения таймера нажмите и удержите кнопку Таймера не менее трех секунд.
Для установки таймера для другой зоны нагрева повторите описанную выше процедуру. На дисплее таймера всегда отображается таймер для
выбранной зоны или таймер с ближайшим временем истечения.
Чтобы изменить время по таймеру или отключить его, нажмите на кнопку выбора зоны нагрева для данного таймера.
РУКОВОДСТВО ПО ЭКСПЛУАТАЦИИ
Блокировка панели управления
Органы управления зонами нагрева и соответствующий дисплей
Включение/Выключение
Модель “Flexicook” (при наличии)
Быстрый доступ
Ползунок
Управление мощностью / таймер /
кнопка блокировки функций
Дисплей индикатора мощности
Индикация выбранной зоны нагрева
Расположение зоны нагрева
Работа слайдера
Увеличить уровень мощности
Уменьшить уровень мощности
Содержание
- 5 ПРЕДУПРЕЖДЕНИЕ; Указание на ситуацию, представляющую опасность если; РУССКИЙ
- 6 Удаление в отходы упаковочных материалов; Использовать только кастрюли и сковороды с ровным дном.; ЗАЩИТА ОКРУЖАЮЩЕЙ СРЕДЫ; посуду на нужную зону нагрева.
- 7 обратитесь к продавцу или в сервисный центр.; УЖЕ ИСПОЛЬЗУЕМАЯ ПОСУДА; воздействию пара или влаги.; Multizone
- 8 Подключение к клеммной колодке; приведенные ниже инструкции:; Подключение к сетевой розетке; ЭЛЕКТРИЧЕСКОЕ ПОДКЛЮЧЕНИЕ; Перед подключением силового кабеля удалите две перемычки, как
- 9 Описание панели управления; Панель управления; Включение/выключение варочной панели; Включение и регулировка зон нагрева; Выключение зон нагрева; включение или выключение блокировки панели управления.; Таймер; выбранной зоны или таймер с ближайшим временем истечения.; РУКОВОДСТВО ПО ЭКСПЛУАТАЦИИ
- 10 Предупреждения на панели управления; Индикатор остаточного тепла.; После того как зона нагрева остынет, дисплей выключится.; Индикатор кастрюли неверного размера или отсутствия посуды; которую может достигнуть поверхность.
- 11 Примеры правильного и неправильного размещения кастрюль:
- 12 ЧИСТКА; Запрещается пользоваться пароочистителями.; ПОИСК И УСТРАНЕНИЕ НЕИСПРАВНОСТЕЙ; ШУМ, СОЗДАВАЕМЫЙ ВАРОЧНОЙ ПАНЕЛЬЮ
- 13 ТАБЛИЦА УРОВНЕЙ МОЩНОСТИ; Уровень мощности












