Варочная панель Samsung NZ64R9777GK - инструкция пользователя по применению, эксплуатации и установке на русском языке. Мы надеемся, она поможет вам решить возникшие у вас вопросы при эксплуатации техники.
Если остались вопросы, задайте их в комментариях после инструкции.
"Загружаем инструкцию", означает, что нужно подождать пока файл загрузится и можно будет его читать онлайн. Некоторые инструкции очень большие и время их появления зависит от вашей скорости интернета.

Українська 25
Вик
орис
танн
я
5.
Обмеження потужності можна налаштувати за допомогою
кнопок рівня потужності (3000 Вт, 4000 Вт, 7200 Вт).
6.
Торкніть кнопку , щоб вибрати налаштування.
ПРИМІТКА
•
У режимі низької потужності (3000 Вт) функція
Підсилення потужності
недоступна для правого переднього
пальника (210 мм) і зони Flex Plus.
•
У режимі низької потужності (3000 Вт, 4000 Вт) рівень потужності буде налаштовано автоматично.
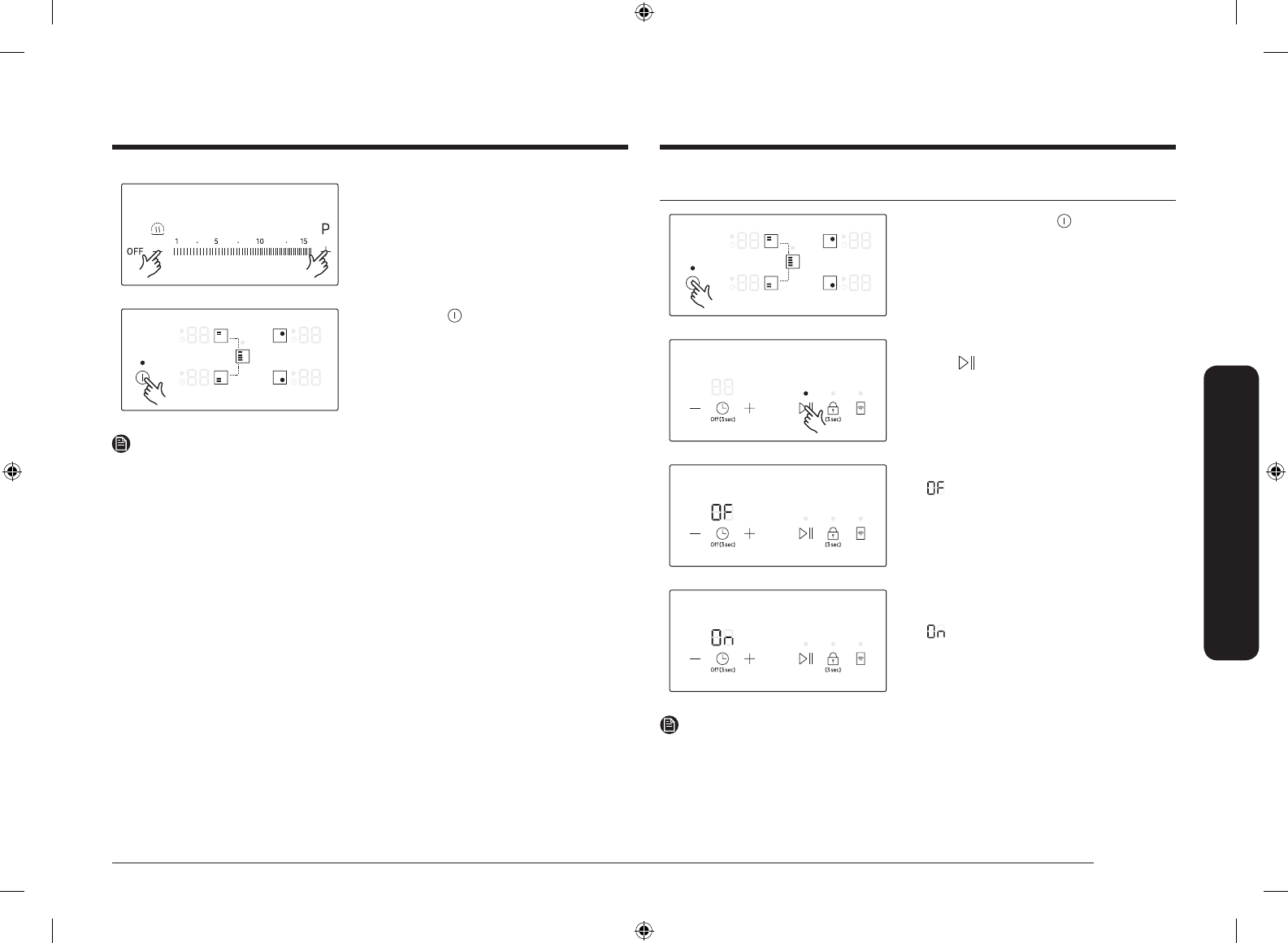
Увімкнення/вимкнення звуку
1.
Натисніть та утримуйте кнопку приблизно 1-2 секунди.
2.
Упродовж 10 секунд після ввімкнення живлення торкніть
кнопку
на 3 секунди.
3.
Звук вимкнеться, і на дисплеї таймера з’явиться індикація
.
4.
Щоб змінити налаштування звуку, повторіть кроки 1 і 2.
Звук увімкнеться, і на дисплеї таймера з’явиться індикація
.
ПРИМІТКА
Коли мине 10 секунд після ввімкнення живлення, налаштування звуку змінити неможливо.
NZ6000K NZ64R9777_WT_DG68-01073B-01_UK.indd 25
4/11/2019 11:15:19 AM
Содержание
- 3 Использование руководства; В данном руководстве используются следующие обозначения:; Инструкции по технике безопасности; ПРЕДУПРЕЖДЕНИЕ
- 5 ВНИМАНИЕ; отключите все конфорки
- 7 Утилизация упаковочных материалов; Утилизация отслужившего устройства
- 8 Требуемые инструменты; Установка варочной панели; Инструкции по безопасной установке
- 9 Установка в кухонную столешницу
- 11 Компоненты
- 12 Подготовка к использованию; Конфорки
- 13 Индукционный нагрев
- 14 Автоматическое выключение; Технология Имитация пламени
- 15 Посуда для приготовления; Индикатор остаточного тепла; Определение температуры
- 19 Включение устройства; Выбор конфорки и уровня мощности; Использование сенсорных кнопок; Первая чистка
- 20 Использование; Максимальная мощность
- 21 Flex zone Plus
- 22 Таймер; Поддержание тепла
- 23 Быстрая остановка; Выключение устройства
- 24 Ограничение максимальной мощности; Блокировка управления
- 25 Включение/выключение звукового сигнала
- 26 Smart Connect; Управление вытяжкой
- 27 Техническое обслуживание устройства; Варочная панель; Легкие загрязнения; Въевшиеся загрязнения; Проблемные загрязнения
- 28 Рама варочной панели (приобретается дополнительно); Во избежание повреждения устройства; Устранение неисправностей и обслуживание; Устранение неисправностей
- 30 Обслуживание; Технические параметры
- 32 Приложение; Заявление об открытом исходном коде













