Варочная панель Samsung NZ64R9777GK - инструкция пользователя по применению, эксплуатации и установке на русском языке. Мы надеемся, она поможет вам решить возникшие у вас вопросы при эксплуатации техники.
Если остались вопросы, задайте их в комментариях после инструкции.
"Загружаем инструкцию", означает, что нужно подождать пока файл загрузится и можно будет его читать онлайн. Некоторые инструкции очень большие и время их появления зависит от вашей скорости интернета.

Українська 23
Вик
орис
танн
я
Швидка зупинка
Ця функція дозволяє зменшити кількість кроків і часу, необхідних для зупинки процесу приготування.
Натисніть і утримуйте кнопку зони нагрівання протягом 2 секунд,
щоб вимкнути зону нагрівання.
ПРИМІТКА
Кнопка не підтримує функцію швидкої зупинки.
Вимкнення пристрою
Щоб вимкнути повністю пристрій, скористайтеся кнопкою .
Натисніть та утримуйте кнопку приблизно 1-2 секунди.
ПРИМІТКА
Після вимкнення окремої зони нагрівання або всієї варильної поверхні наявність залишкового тепла буде зазначено на
цифровому дисплеї відповідної зони нагрівання у вигляді позначки
,
(два позначення «гарячий»).
Температура знизиться, з’явиться індикація
,
.
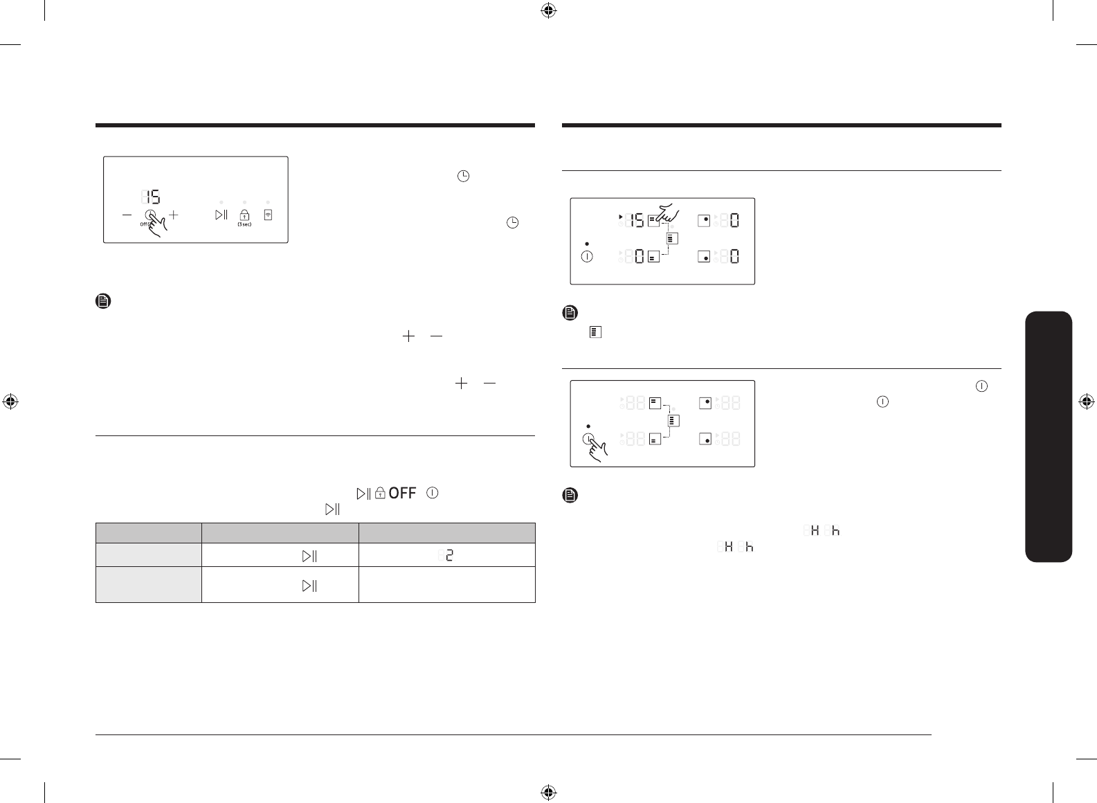
4.
Щоб скасувати налаштування таймера, виберіть відповідну
зону приготування і натисніть кнопку
на 2 секунди.
Налаштування таймера відповідної зони нагрівання буде
скасовано, про що засвідчить звуковий сигнал. Якщо
натиснути та утримувати протягом 2 секунд кнопку ,
не обираючи пальник, це призведе до скасування
налаштувань таймера зони нагрівання, які було змінено
останніми.
ПРИМІТКА
•
Для відображення залишку часу для будь-якої із зон нагрівання торкніть відповідні зони нагрівання.
•
Налаштування можна скинути за допомогою кнопки
Налаштування таймера
( або ). Після того, як мине
встановлений період часу, зона нагрівання автоматично вимкнеться, і на підтвердження цього пролунає звуковий
сигнал, та на дисплеї таймера з’явиться відповідна індикація.
•
Щоб швидше змінити налаштування, натисніть та утримуйте кнопку
Налаштування таймера
( або ), поки не
відобразиться потрібне значення.
Паузи/Відновлення
Функція
Паузи/Відновлення
одночасно перемикає усі ввімкнені зони нагрівання на нижчий рівень потужності, а
тоді назад на встановлений перед тим рівень потужності. Цю функцію можна використовувати, щоб на короткий час
призупинити, а тоді продовжити процес приготування страви, наприклад щоб поговорити по телефону.
Якщо ввімкнуно функцію
Паузи/Відновлення
, всі сенсорні кнопки, окрім
, ,
та буде вимкнено.
Щоб продовжити приготування страви, натисніть ще раз кнопку
.
Панель керування
Дисплей
Увімкнення
Торкніть кнопку
Вимкнення
Торкніть кнопку
Повернення до попереднього рівня
потужності
NZ6000K NZ64R9777_WT_DG68-01073B-01_UK.indd 23
4/11/2019 11:15:17 AM
Содержание
- 3 Использование руководства; В данном руководстве используются следующие обозначения:; Инструкции по технике безопасности; ПРЕДУПРЕЖДЕНИЕ
- 5 ВНИМАНИЕ; отключите все конфорки
- 7 Утилизация упаковочных материалов; Утилизация отслужившего устройства
- 8 Требуемые инструменты; Установка варочной панели; Инструкции по безопасной установке
- 9 Установка в кухонную столешницу
- 11 Компоненты
- 12 Подготовка к использованию; Конфорки
- 13 Индукционный нагрев
- 14 Автоматическое выключение; Технология Имитация пламени
- 15 Посуда для приготовления; Индикатор остаточного тепла; Определение температуры
- 19 Включение устройства; Выбор конфорки и уровня мощности; Использование сенсорных кнопок; Первая чистка
- 20 Использование; Максимальная мощность
- 21 Flex zone Plus
- 22 Таймер; Поддержание тепла
- 23 Быстрая остановка; Выключение устройства
- 24 Ограничение максимальной мощности; Блокировка управления
- 25 Включение/выключение звукового сигнала
- 26 Smart Connect; Управление вытяжкой
- 27 Техническое обслуживание устройства; Варочная панель; Легкие загрязнения; Въевшиеся загрязнения; Проблемные загрязнения
- 28 Рама варочной панели (приобретается дополнительно); Во избежание повреждения устройства; Устранение неисправностей и обслуживание; Устранение неисправностей
- 30 Обслуживание; Технические параметры
- 32 Приложение; Заявление об открытом исходном коде













