Варочная панель Haier HHY-Y64NVW - инструкция пользователя по применению, эксплуатации и установке на русском языке. Мы надеемся, она поможет вам решить возникшие у вас вопросы при эксплуатации техники.
Если остались вопросы, задайте их в комментариях после инструкции.
"Загружаем инструкцию", означает, что нужно подождать пока файл загрузится и можно будет его читать онлайн. Некоторые инструкции очень большие и время их появления зависит от вашей скорости интернета.

11
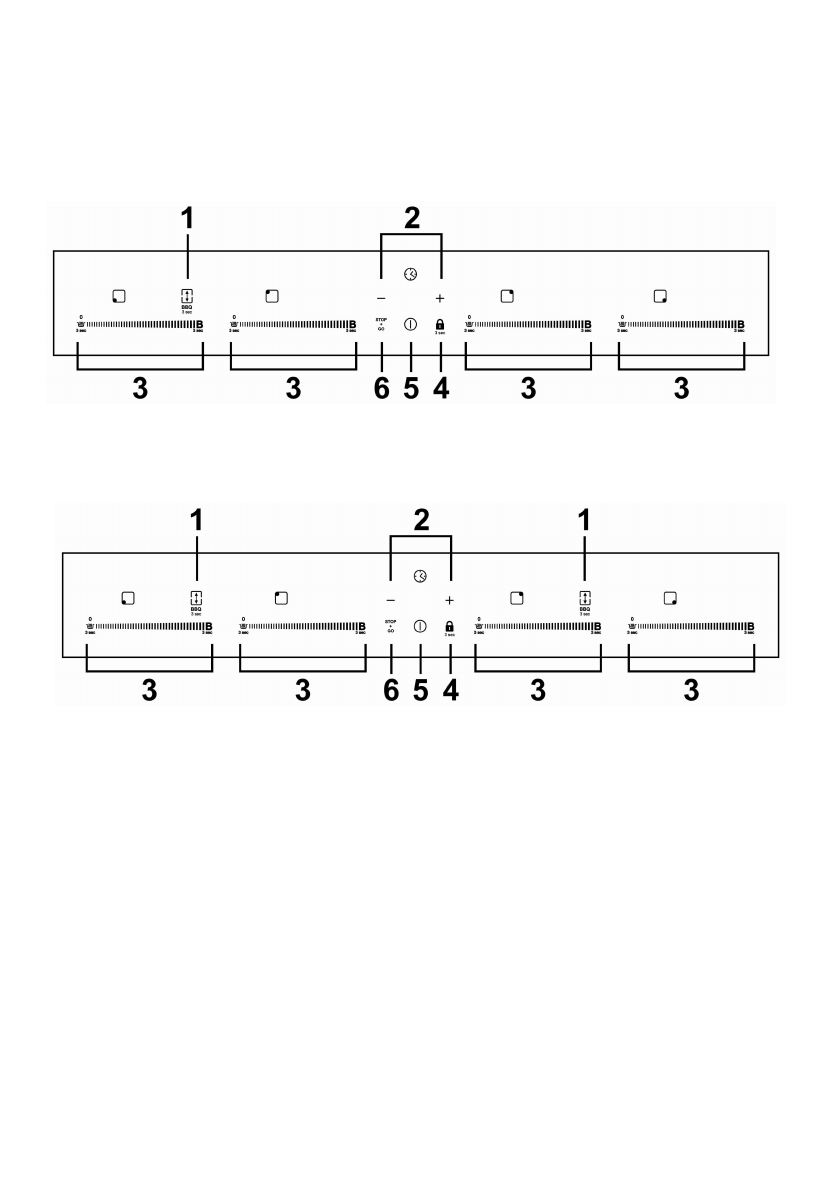
Панель управления
HHY-Y64FVB
HHY-Y64FFVB
1. Зона расширения и управление BBQ
2. Управление таймером
3. Элементы управления зоной
приготовления, Кнопка регулировки
мощности, Управление функцией повышения
мощности, Управление сохранением тепла
4. Управление блокировкой
5. Управление ВКЛ/ВЫКЛ
6. Управление остановками
Содержание
- 5 Важные инструкции по безопасности
- 8 Поздравляем
- 9 Краткие сведения об изделии; Вид сверху
- 11 Панель управления
- 13 Размеры емкостей
- 15 Памятка об индукционной кулинарии; Перед применением новой индукционной варочной
- 16 Выбор кухонной посуды
- 17 Начало приготовления пищи
- 18 Если на дисплее мигает значение; По окончании приготовления пищи; а затем
- 20 Применение функции Boost; Применение Boost для увеличения мощности
- 21 Ограничения при использовании; Группа а
- 22 Зона расширения
- 23 Применение зоны расширения
- 25 Применение функции поддержания тепла
- 26 Применение функции остановки
- 27 Блокировка элементов управления; Защита от перегрева
- 28 Применение таймера; Применение таймера для обратного отсчета
- 31 Настройка таймера на выключение нескольких зон
- 33 Инструкции по приготовлению; Советы по приготовлению пищи
- 34 Настройки нагрева
- 35 Уход и чистка
- 36 Полезные советы
- 38 Индикация неисправностей и осмотр
- 39 Технические характеристики
- 40 Установка; Выбор оборудования для установки
- 42 Внимание
- 43 Подключение варочной панели к источнику питания
- 47 Код материала
- 48 ОБСЛУЖИВАНИЕ КЛИЕНТОВ
- 96 Haier