Варочная панель Haier HHY-Y64NVB - инструкция пользователя по применению, эксплуатации и установке на русском языке. Мы надеемся, она поможет вам решить возникшие у вас вопросы при эксплуатации техники.
Если остались вопросы, задайте их в комментариях после инструкции.
"Загружаем инструкцию", означает, что нужно подождать пока файл загрузится и можно будет его читать онлайн. Некоторые инструкции очень большие и время их появления зависит от вашей скорости интернета.

11
HHY-Y64FFVB
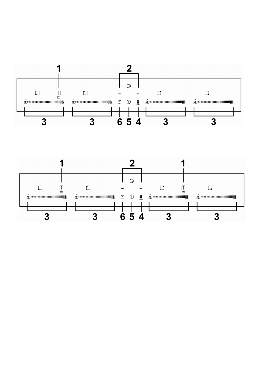
1. Иілгіш аймақты және барбекюді басқару
2. Таймерді басқару батырмасы
3. Қыздыру аймағын таңдау батырмалары
Қуатты реттеу кілті және күшейту
функциясын басқару және жылу басқару
4. пернетақтаны бұғаттау
5. Қосу/Өшіру батырмасы
6. Тоқтату және бару басқару элементі
Басқару
HHY-Y64FVB
Содержание
- 5 Важные инструкции по безопасности
- 8 Поздравляем
- 9 Краткие сведения об изделии; Вид сверху
- 11 Панель управления
- 13 Размеры емкостей
- 15 Памятка об индукционной кулинарии; Перед применением новой индукционной варочной
- 16 Выбор кухонной посуды
- 17 Начало приготовления пищи
- 18 Если на дисплее мигает значение; По окончании приготовления пищи; а затем
- 20 Применение функции Boost; Применение Boost для увеличения мощности
- 21 Ограничения при использовании; Группа а
- 22 Зона расширения
- 23 Применение зоны расширения
- 25 Применение функции поддержания тепла
- 26 Применение функции остановки
- 27 Блокировка элементов управления; Защита от перегрева
- 28 Применение таймера; Применение таймера для обратного отсчета
- 31 Настройка таймера на выключение нескольких зон
- 33 Инструкции по приготовлению; Советы по приготовлению пищи
- 34 Настройки нагрева
- 35 Уход и чистка
- 36 Полезные советы
- 38 Индикация неисправностей и осмотр
- 39 Технические характеристики
- 40 Установка; Выбор оборудования для установки
- 42 Внимание
- 43 Подключение варочной панели к источнику питания
- 47 Код материала
- 48 ОБСЛУЖИВАНИЕ КЛИЕНТОВ
- 96 Haier