Варочная панель Haier HHY-C32DVB - инструкция пользователя по применению, эксплуатации и установке на русском языке. Мы надеемся, она поможет вам решить возникшие у вас вопросы при эксплуатации техники.
Если остались вопросы, задайте их в комментариях после инструкции.
"Загружаем инструкцию", означает, что нужно подождать пока файл загрузится и можно будет его читать онлайн. Некоторые инструкции очень большие и время их появления зависит от вашей скорости интернета.

Меры предосторожности
1. Керамическая варочная панель должна устанавливаться
квалифицированным персоналом или специалистами. У нас есть
профессионалы, готовые обслужить вас. Не выполняйте операции
самостоятельно.
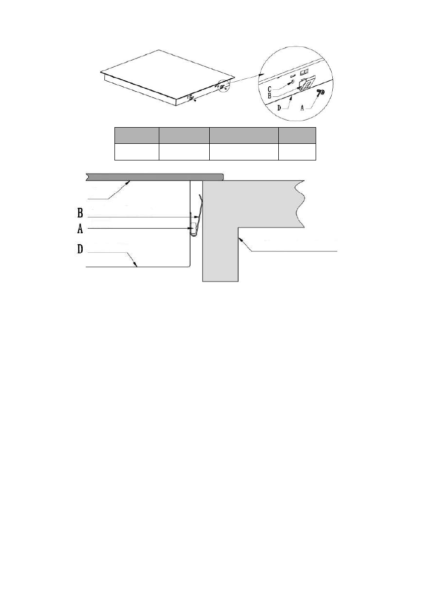
A
B
C
D
винт
кронштейн
отверстие для винта основание
столешница/кухонный шкафчик
Стекло
Фиксирующий винт
для кронштейнов
ST3,5 х 8
Нижний ящик
2. Не следует присоединять керамическую варочную панель к холодильному
оборудованию, посудомоечным машинам и вращающимся сушилкам.
3. Керамическая варочная панель должна быть установлена таким образом,
чтобы обеспечить хорошее тепловыделение, улучшающее ее надежность.
4. Стена и зона индукционного нагрева над рабочей поверхностью должны
выдерживать нагрев.
5. Чтобы избежать какого-либо ущерба, нагрев следует предотвращать с
помощью многослойной прокладки и клейкого материала.
6. Не следует использовать пароочиститель.
7. Керамику следует подключать только к питанию с полным
сопротивлением системы не более 0,427 Ом. В случае необходимости
проконсультируйтесь со своей энергоснабжающей организацией по
вопросу о полном сопротивлении системы.
Подключение панели к основной сети подачи
питания
Подключение к сети подачи питания должно выполняться в соответствии с
применимым
стандартом,
либо
с
применением
однополюсного
автоматического выключателя. Способ подключения показан ниже.
Характеристики
Остались вопросы?Не нашли свой ответ в руководстве или возникли другие проблемы? Задайте свой вопрос в форме ниже с подробным описанием вашей ситуации, чтобы другие люди и специалисты смогли дать на него ответ. Если вы знаете как решить проблему другого человека, пожалуйста, подскажите ему :)