Варочная панель Graude GSK 60.1 EL - инструкция пользователя по применению, эксплуатации и установке на русском языке. Мы надеемся, она поможет вам решить возникшие у вас вопросы при эксплуатации техники.
Если остались вопросы, задайте их в комментариях после инструкции.
"Загружаем инструкцию", означает, что нужно подождать пока файл загрузится и можно будет его читать онлайн. Некоторые инструкции очень большие и время их появления зависит от вашей скорости интернета.

8
УКАЗАНИЯ ДЛЯ МОНТАЖНИКА
ОСТОРОЖНО! Данный прибор должен устанавливаться и использоваться только в
помещениях, в которых обеспечена постоянная вентиляция согласно требованиям
стандартов.
Работы по монтажу и подсоединению прибора к сети электропитания должны выпол-
няться только КВАЛИФИЦИРОВАННЫМИ СПЕЦИАЛИСТАМИ.
Перед выполнением любых работ следует убедитесь, что прибор ОТСОЕДИНЕН от
сети электропитания. Производитель снимает с себя всю ответственность за любой
ущерб, возникший в результате установки прибора с нарушением требований стандар-
тов или в результате несоблюдения указаний по безопасности.
Место монтажа
Для обеспечения надлежащего функционирования газового обо-
рудования в помещение должен естественным образом посту-
пать воздух, необходимый для сжигания газа. Воздух может по-
ступать непосредственно через окно или через выпускные отвер-
стия приточной системы. Эти отверстия должны иметь такое се-
чение, чтобы обеспечивался расход приточного воздуха не ме-
нее 2 м
3
/ч на каждый кВт мощности (см. суммарную мощность в
кВт на заводской табличке прибора).
Эти отверстия должны быть выполнены таким образом, чтобы
исключить их перегораживание как с внутренней, так и с внешней
сторон, или быть изготовлены рядом с полом. Отверстия реко-
мендуется изготавливать с противоположной стороны от места
установки вытяжки. Если вентиляционное отверстие невозможно
изготовить в помещении, в котором установлен прибор, то пода-
чу воздуха можно обеспечить из смежного помещения при со-
блюдении следующих условий:
это помещение не является спальней или помещением с
опасной атмосферой;
это помещении оборудовано системой вентиляции;
между помещением, в котором установлен прибор, и смеж-
ным помещением имеется переточное отверстие;
минимальная высота от варочной панели до предмета кухон-
ной мебели 850 мм.
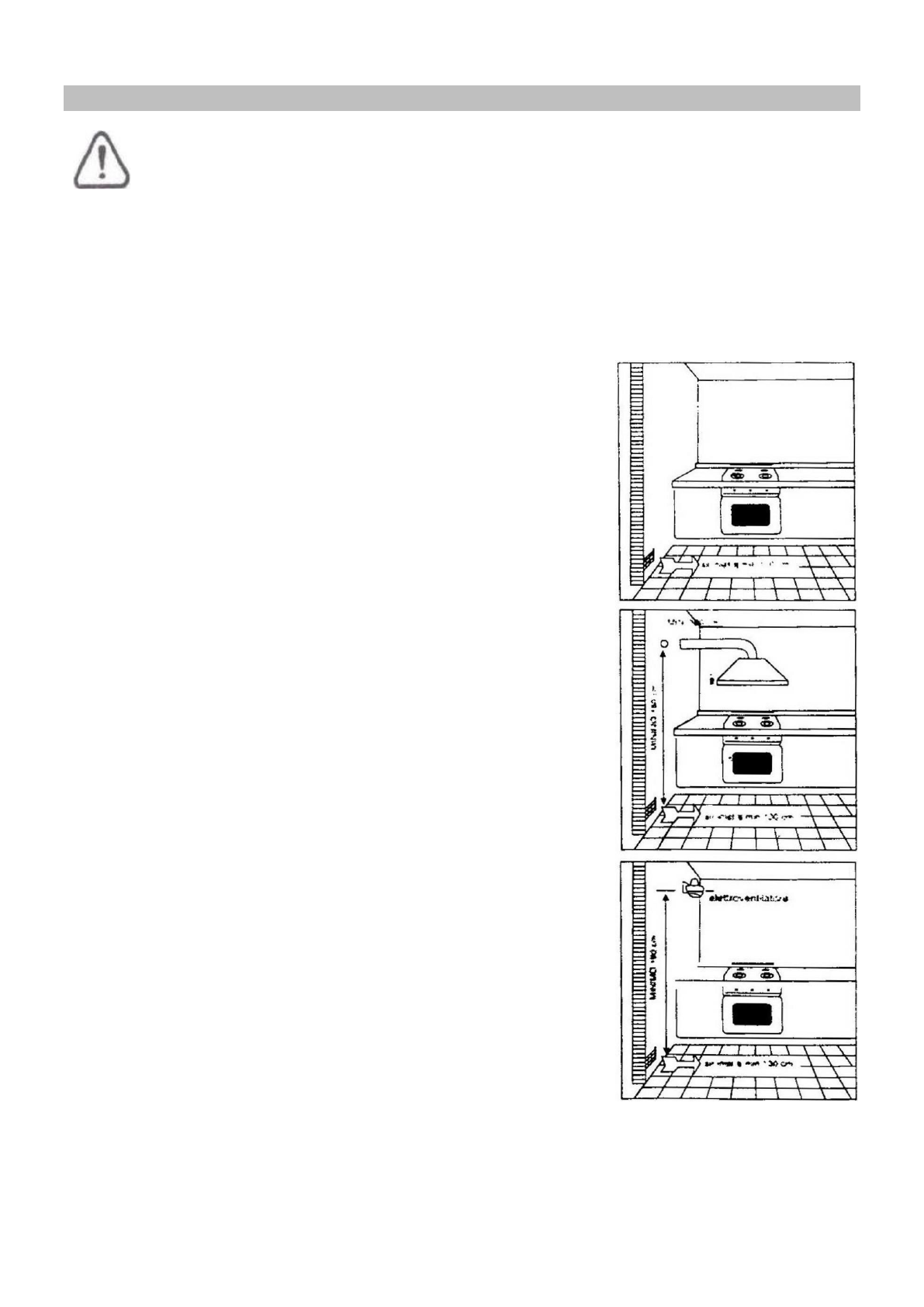
Удаление продуктов сгорания
Отвод продуктов сгорания от газового оборудования должен
осуществляться через вытяжку, подсоединенную непосредствен-
но к дымоходу или воздуховыпускному отверстию в наружной
стене здания (рис. B).
Если установить вытяжку невозможно, то на воздуховыпускном
отверстии в наружной стене здания необходимо установить вен-
тилятор с регулируемым расходом или предусмотреть в поме-
щении окно, створки которого могут открываться в зависимости
от потребностей в удалении продуктов сгорания (рис. C). Крат-
ность воздухообмена в кухонном помещении не должна быть ни-
же 3-5. В любом случае, запрещается использовать один дымо-
ход для отвода продуктов сгорания от различных устройств.
Рис. A
Рис. B
Рис. C
Содержание
- 3 ИНСТРУКЦИИ ПО БЕЗОПАСНОСТИ; Монтаж; Запрещается изменять характеристики прибора.; При использовании
- 5 ИСПОЛЬЗУЕМЫЕ ОБОЗНАЧЕНИЯ; Указания по безопасности
- 8 УКАЗАНИЯ ДЛЯ МОНТАЖНИКА; Место монтажа; это помещении оборудовано системой вентиляции; Удаление продуктов сгорания
- 10 ЭЛЕКТРИЧЕСКИЕ СОЕДИНЕНИЯ; Замена кабеля питания; ДА
- 11 НАСТРОЙКА ПОД РАЗЛИЧНЫЕ ТИПЫ ГАЗА; Замена форсунок; Снимите с крышки конфорок.; Настройка минимального уровня пламени; Зажгите конфорку, как описано данном Руководстве.
- 12 ВСТРАИВАНИЕ В ПРЕДМЕТ КУХОННОЙ МЕБЕЛИ; Установка и крепление; Вырез
- 13 Съемная полка; В напольный шкаф с духовым шкафом
- 14 УКАЗАНИЯ ПО ЭКСПЛУАТАЦИИ; Модели с тройными конфорками
- 15 ЧИСТКА И ТЕХНИЧЕСКОЕ ОБСЛУЖИВАНИЕ; бытовые чистящие средства и отбеливатели