Варочная панель Gefest СГ СН 2340 B81 - инструкция пользователя по применению, эксплуатации и установке на русском языке. Мы надеемся, она поможет вам решить возникшие у вас вопросы при эксплуатации техники.
Если остались вопросы, задайте их в комментариях после инструкции.
"Загружаем инструкцию", означает, что нужно подождать пока файл загрузится и можно будет его читать онлайн. Некоторые инструкции очень большие и время их появления зависит от вашей скорости интернета.

11
СН2120.00.0.000 РЭ [67]
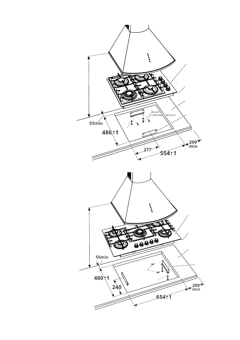
МОДЕЛЬ СН2340
Рис. 7
МОДЕЛЬ СВН2230; -01
Столешница
Кронштейн
Шайба
Min 750
мм
до
выт
яжки
M
in 8
5
0
м
м
д
о
н
а
ве
сн
ы
х
ш
ка
ф
о
в
Уплотнение
стола
Стол
Рис. 6
Стол
Столешница
Кронштейн
Винт
самонарезающий
Шайба
Min 750
мм
до
выт
яжки
M
in
850
мм
до
н
ав
ес
ны
хш
кафов
Уплотнение
стола
Содержание
- 4 ОБЩИЕ УКАЗАНИЯ
- 5 ТРЕБОВАНИЯ БЕЗОПАСНОСТИ
- 6 ВНИМАНИЕ
- 7 ТЕХНИЧЕСКИЕ ХАРАКТЕРИСТИКИ; Стол может работать на природном газе G20 с давлением (20
- 9 шнур питания
- 14 ПОДКЛЮЧЕНИЕ; При подключении стола должен быть заполнен талон установки.
- 16 РЕКОМЕНДАЦИИ РЕМОНТНЫМ СЛУЖБАМ; Регулировка для различных давлений газа
- 17 ОБСЛУЖИВАНИЕ СТОЛА; хлоросодержащие средства и другие агрессивные компоненты; ПРАКТИЧЕСКИЕ СОВЕТЫ; Диаметр
- 18 региональными Правилами.; 2 ТРАНСПОРТИРОВАНИЕ И ХРАНЕНИЕ; требованиям манипуляционных знаков.
- 19 4 ГАРАНТИИ ИЗГОТОВИТЕЛЯ
- 20 Таблица
Характеристики
Остались вопросы?Не нашли свой ответ в руководстве или возникли другие проблемы? Задайте свой вопрос в форме ниже с подробным описанием вашей ситуации, чтобы другие люди и специалисты смогли дать на него ответ. Если вы знаете как решить проблему другого человека, пожалуйста, подскажите ему :)