Варочная панель Electrolux EHG 6833 - инструкция пользователя по применению, эксплуатации и установке на русском языке. Мы надеемся, она поможет вам решить возникшие у вас вопросы при эксплуатации техники.
Если остались вопросы, задайте их в комментариях после инструкции.
"Загружаем инструкцию", означает, что нужно подождать пока файл загрузится и можно будет его читать онлайн. Некоторые инструкции очень большие и время их появления зависит от вашей скорости интернета.

electrolux
9
Cleaning and Mainteinance
Disconnect the appliance from
the electrical supply, before
carrying out any cleaning or
manteinance work.
The hob is best cleaned whilst
it is still warm, as spillage can
be removed more easily than if
it is left to cool.
This appliance cannot be
cleaned with steam or with a
steam cleaning machine.
The burners
z
The burner caps and crowns can be
removed for cleaning.
z
Wash the burners taps and crowns
using hot soapy water, and remove
marks with a mild paste cleaner. A
well moistened soap impregnated
steel wool pad can be used with
caution, if the marks are particularly
difficult to remove.
z
After cleaning, be sure to wipe dry
with a soft cloth.
z
Frequently wash the "caps" and the
"crowns" with hot soapy water,
carefully taking away any built-up of
food.
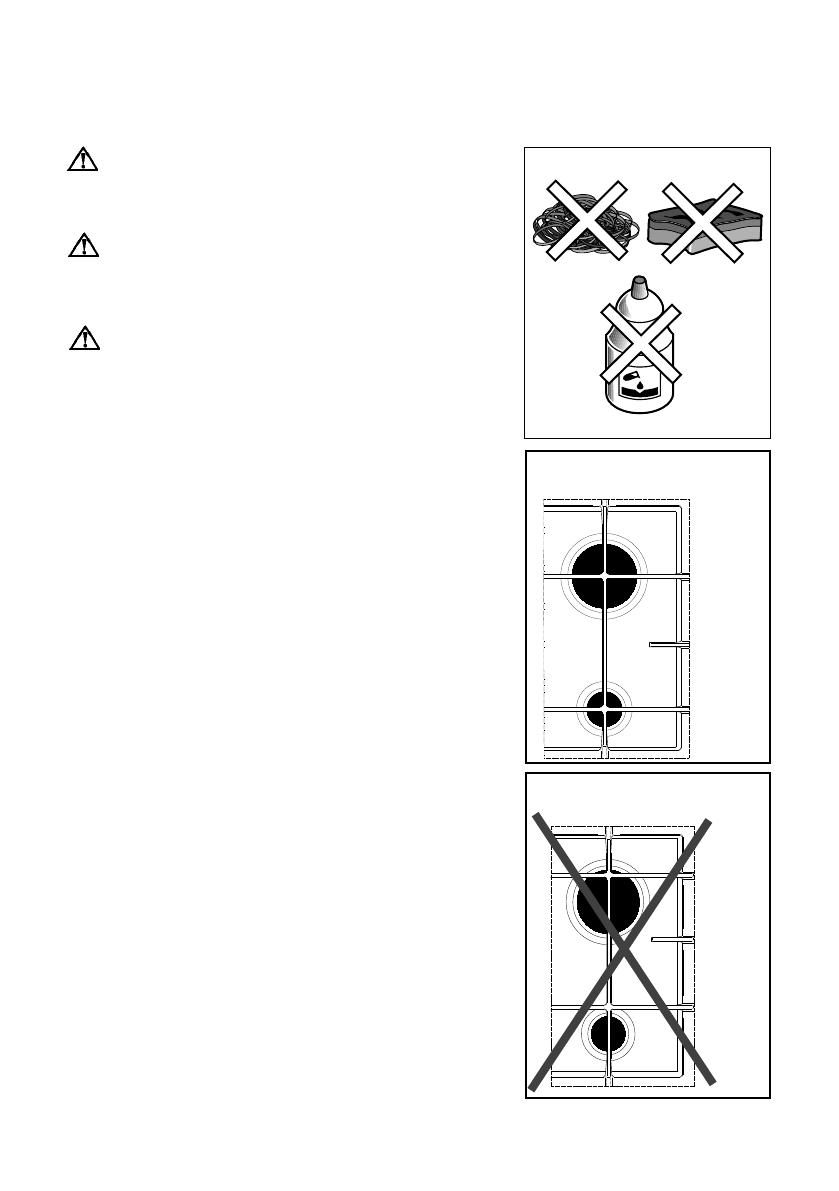
The pan supports
z
After cleaning, make sure that the
pan supports are correctly
positioned.
z
To make burners work properly,
ensure that pan supports are placed
in a way that the arms are centred
upon the burner as shown in the
picture.
z
Pay attention when replacing the
pan supports in order to avoid
damaging the hob top.
NO
YES
Содержание
- 23 Указания по использованию настоящего руководства; Оглавление
- 24 Для Вашей безопасности; Установка; Безопасность людей; РУССКИЙ
- 25 При эксплуатации; Техническая поддержка
- 26 Руководство по эксплуатации; Зажигание горелок
- 29 Чистка и техническое обслуживание; Чистка панели; Решетки варочной панели
- 30 Периодическое обслуживание; ДА
- 31 Технические характеристики; Габариты панели
- 32 Характеристик горелок
- 34 Подключение к газовой магистрали
- 35 ВНИМАНИЕ
- 36 Подключение к сети электроснабжения
- 37 Замена сетевого шнура; НЕТ
- 40 Встраивание в кухонную мебель; TC
- 42 Возможность встраивания
- 45 ЕВРОПЕЙСКАЯ ГАРАНТИЯ