Варочная панель Electrolux EHD 60100 P - инструкция пользователя по применению, эксплуатации и установке на русском языке. Мы надеемся, она поможет вам решить возникшие у вас вопросы при эксплуатации техники.
Если остались вопросы, задайте их в комментариях после инструкции.
"Загружаем инструкцию", означает, что нужно подождать пока файл загрузится и можно будет его читать онлайн. Некоторые инструкции очень большие и время их появления зависит от вашей скорости интернета.

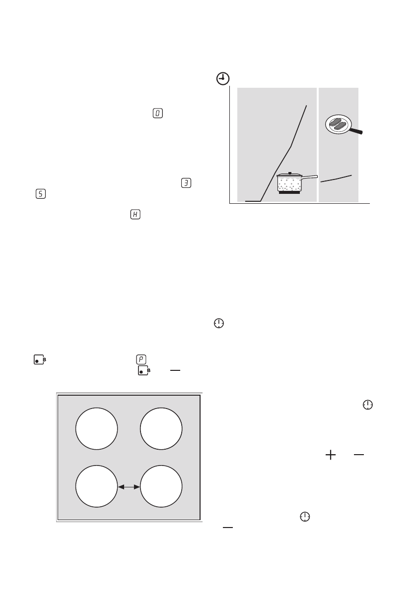
Функция автоматического нагрева
Функция автоматического нагрева доба‐
вляет мощность конфоркам, благодаря
чему быстрее достигается необходимая
ступень нагрева. Функция автоматиче‐
ского нагрева включается при выборе
ступени нагрева, начиная с . В тече‐
ние определенного времени конфорка
работает на максимальной мощности, а
затем автоматически переключается на
выбранную Вами ступень нагрева.
Если во время работы функции автома‐
тического нагрева выбрать более высо‐
кую ступень нагрева (например, от до
), автоматический нагрев изменится.
Если на конфорке еще сохранилось ос‐
таточное тепло (горит ), автоматиче‐
ский нагрев не включится.
Время работы автоматического нагрева
зависит от выбранной ступени нагрева:
1
2
3
4
5
6
7
8
9
10
11
0
1
2
3
4
5
6
7
8
9
Включение и выключение функции
повышения нагрева
Функция повышения мощности усили‐
вает нагрев на индукционных конфор‐
ках. Функция повышения мощности на‐
грева включается максимум на 10 минут.
По истечении этого времени конфорка
автоматически переключается на макси‐
мальный уровень мощности. Чтобы
включить эту функцию, прикоснитесь к
, при этом загорится . Чтобы вы‐
ключить, прикоснитесь к
или .
Система управления мощностью
Система управления мощностью рас‐
пределяет мощность между двумя кон‐
форками, составляющими пару (см. ри‐
сунок). Функция повышения мощности
увеличивает мощность на одной кон‐
форке, входящей в пару, и автоматиче‐
ски уменьшает ее на другой конфорке.
Дисплей конфорки со сниженной мощно‐
стью будет поочередно показывать два
значения.
Использование таймера
Таймер используется для настройки
времени работы конфорки на один цикл
приготовления.
Таймер следует устанавливать после
выбора конфорки.
Ступень нагрева можно выбирать до или
после установки таймера.
• Выбор конфорки: прикоснитесь к
несколько раз до тех пор, пока не за‐
горится индикатор необходимой кон‐
форки.
• Включение или изменение времени
таймера: прикоснитесь к или тай‐
мера, чтобы настроить время (
00
-
99
минут). Когда замедляется мига‐
ние индикатора конфорки, начинается
обратный отсчет времени.
• Выключение таймера: выберите кон‐
форку с помощью и прикоснитесь к
, чтобы выключить таймер. Остав‐
шееся время отсчитывается обратно
до
00
. Индикатор конфорки гаснет.
8 electrolux












