Варочная панель Electrolux EGT 7355 NOK - инструкция пользователя по применению, эксплуатации и установке на русском языке. Мы надеемся, она поможет вам решить возникшие у вас вопросы при эксплуатации техники.
Если остались вопросы, задайте их в комментариях после инструкции.
"Загружаем инструкцию", означает, что нужно подождать пока файл загрузится и можно будет его читать онлайн. Некоторые инструкции очень большие и время их появления зависит от вашей скорости интернета.

6. ДОГЛЯД ТА ЧИСТКА
Попередження!
Див. розділи з інформацією щодо тех‐
ніки безпеки.
Попередження!
Для очищення пристрою вимкніть йо‐
го та зачекайте, доки він охолоне.
Перш ніж чистити пристрій або вико‐
нувати технічні роботи, відключіть йо‐
го від електромережі.
Подряпини або темні плями на по‐
верхні не впливають на роботу при‐
ладу.
Попередження!
Висока концентрація вологи або за‐
надто тривале занурення конфорок у
воду може пошкодити їх поверхню.
• Підставки для посуду можна знімати для
зручності миття варильної поверхні.
• Щоб очистити емальовану кришку, помийте
її теплою водою з милом і ретельно вису‐
шіть перед встановленням.
• Латунний розсікач на конфорці може тьмя‐
ніти з часом. Щоб видалити темні плями,
виконайте наступні дії:
– Підготуйте суміш води та винного оцту
(50% і 50% відповідно).
– Помістіть розсікачі в цю суміш не більше
ніж на 10 хвилин. Видаліть плями губкою.
– Прополощіть розсікачі у воді, щоб вида‐
лити залишки суміші, і ретельно їх вит‐
ріть.
• Деталі з іржостійкої сталі промийте водою,
а потім насухо витріть м’якою ганчіркою.
• Підставки для посуду не можна мити в пос‐
удомийній машині. Мийте їх вручну.
• Будьте обережні під час витирання вимитих
вручну підставок для посуду, оскільки в
процесі нанесення емалі іноді залишаються
гострі краї. Якщо потрібно, видаляйте стійкі
плями за допомогою пастоподібного засобу
для чищення.
• Після миття підставок для посуду встано‐
віть їх у належному положенні.
• Переконайтеся, що ручки підставок для
посуду знаходяться в центрі конфорки: це
забезпечить належну роботу конфорки.
• Будьте дуже обережні, замінюючи підстав‐
ки для посуду, щоб запобігти пошкодженню
варильної поверхні.
Після чищення насухо протріть прилад м’якою
тканиною.
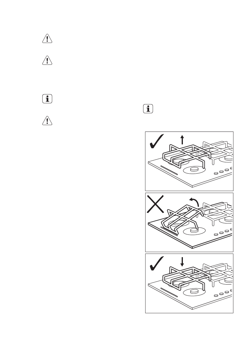
Щоб підставки займали правильне положен‐
ня, вони встановлюються на металевих штир‐
ях, розташованих по боках варильної поверх‐
ні. Для полегшення чищення підставки можна
зняти з варильної поверхні. Підніміть підстав‐
ку, утримуючи її в горизонтальному положен‐
ні, як показано на останньому малюнку.
Не піднімайте підставки під кутом, ос‐
кільки це призведе до тиску на мета‐
леві штирі. Так можна пошкодити або
зламати штирі.
Форма підставок для посуду та кількість кон‐
форок можуть відрізнятися, залежно від моде‐
лі пристрою.
66 www.electrolux.com
Содержание
- 43 ПОДДЕРЖКА ПОТРЕБИТЕЛЕЙ И СЕРВИСНОЕ ОБСЛУЖИВАНИЕ
- 45 УКАЗАНИЯ ПО БЕЗОПАСНОСТИ
- 48 Функциональные элементы варочной панели; ЕЖЕДНЕВНОЕ ИСПОЛЬЗОВАНИЕ
- 49 Выключение горелки
- 52 ПОИСК И УСТРАНЕНИЕ НЕИСПРАВНОСТЕЙ
- 53 принадлежностями; Подключение к газовой
- 54 Сжиженный газ
- 56 ТЕХНИЧЕСКИЕ ДАННЫЕ
- 58 ОХРАНА ОКРУЖАЮЩЕЙ СРЕДЫ