Варочная панель AEG IKK64545XB - инструкция пользователя по применению, эксплуатации и установке на русском языке. Мы надеемся, она поможет вам решить возникшие у вас вопросы при эксплуатации техники.
Если остались вопросы, задайте их в комментариях после инструкции.
"Загружаем инструкцию", означает, что нужно подождать пока файл загрузится и можно будет его читать онлайн. Некоторые инструкции очень большие и время их появления зависит от вашей скорости интернета.

4.4 Индикация конфорок
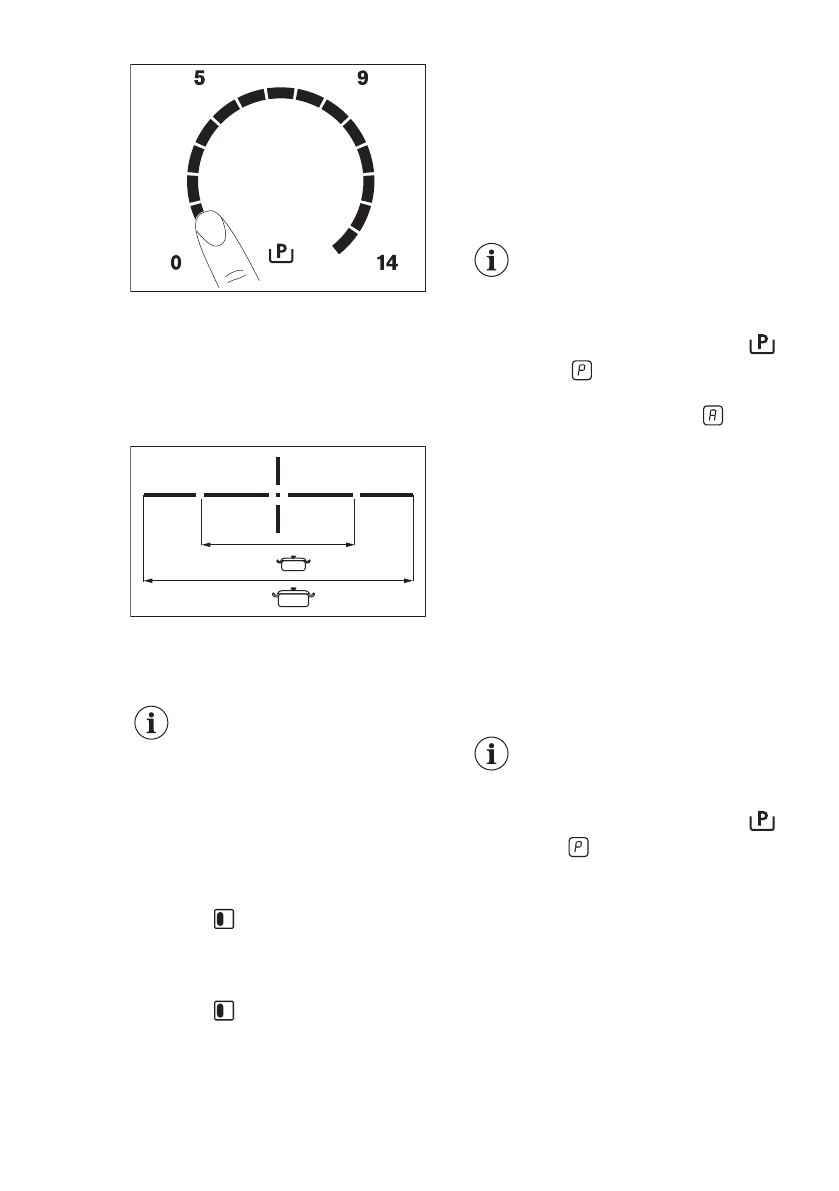
Горизонтальная линия указывает на
максимальные размеры кухонной
посуды. Разрыв в горизонтально
линии указывает на минимальный
диаметр кухонной посуды.
min.
max.
См. Главу «Технические данные».
4.5 Функция Bridge
Функция действует, когда
посуда накрывает центры
двух конфорок.
Функция служит для объединения двух
левых конфорок, в результате чего
они работают как одна конфорка.
Сначала следует установить степень
нагрева для одной из левых конфорок.
Для включения этой функции:
коснитесь . Чтобы задать или
изменить уровень нагрева, коснитесь
одного из сенсоров управления.
Чтобы выключить эту функцию:
коснитесь . Теперь конфорки будут
работать независимо друг от друга.
4.6 Автоматический нагрев
Включение данной функции позволяет
достичь нужной мощности нагрева в
более короткий срок. При ее
включении конфорка сначала
работает на максимальной мощности,
а затем продолжает работу на
требуемом уровне мощности.
Для включения функции
конфорка должна быть
холодной.
Для включения этой функции для
выбранной конфорки: коснитесь
(высветится ). Сразу же коснитесь
требуемого уровня мощности нагрева.
Через 5 секунды высветится .
Чтобы выключить эту функцию:
измените уровень мощности нагрева.
4.7 Клавиша функции
«Бустер»
Данная функция усиливает нагрев на
индукционных конфорках. Функцию
можно включить для индукционной
конфорки только на ограниченный
период времени. По истечении этого
времени индукционная конфорка
автоматически переключается
обратно на максимальный уровень
мощности.
См. Главу «Технические
данные».
Для включения этой функции для
выбранной конфорки: коснитесь
.
Высветится .
Чтобы выключить эту функцию:
измените уровень мощности нагрева.
4.8 Таймер
Таймер обратного отсчета
Данная функция используется для
отсчета продолжительности работы
конфорки за один цикл приготовления.
Сначала задайте ступень нагрева
нужной конфорки, а затем выберите
функцию.
РУССКИЙ
31
Содержание
- 24 Общие правила техники безопасности
- 25 УКАЗАНИЯ ПО БЕЗОПАСНОСТИ; электросети
- 29 Индикаторы ступеней нагрева
- 30 индикатор остаточного; ЕЖЕДНЕВНОЕ ИСПОЛЬЗОВАНИЕ; выключение; Значение мощности
- 34 Шум во время работы
- 35 использования варочной
- 36 Чистка варочной панели
- 37 ПОИСК И УСТРАНЕНИЕ НЕИСПРАВНОСТЕЙ
- 40 Если решение найти не; Серийный; варочные панели
- 42 ТЕХНИЧЕСКИЕ ДАННЫЕ; техническими данными
- 43 Спецификация конфорок; ЭНЕРГОЭФФЕКТИВНОСТЬ
- 44 электроэнергии; ОХРАНА ОКРУЖАЮЩЕЙ СРЕДЫ
Характеристики
Остались вопросы?Не нашли свой ответ в руководстве или возникли другие проблемы? Задайте свой вопрос в форме ниже с подробным описанием вашей ситуации, чтобы другие люди и специалисты смогли дать на него ответ. Если вы знаете как решить проблему другого человека, пожалуйста, подскажите ему :)