Варочная панель AEG IKK64545XB - инструкция пользователя по применению, эксплуатации и установке на русском языке. Мы надеемся, она поможет вам решить возникшие у вас вопросы при эксплуатации техники.
Если остались вопросы, задайте их в комментариях после инструкции.
"Загружаем инструкцию", означает, что нужно подождать пока файл загрузится и можно будет его читать онлайн. Некоторые инструкции очень большие и время их появления зависит от вашей скорости интернета.

4.4 Пісіру алаңының
индикаторы
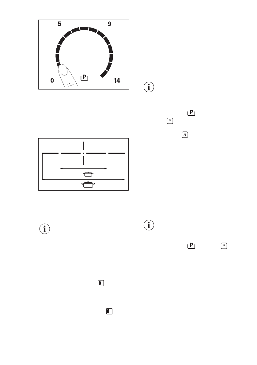
Көлденең сызық ыдыстың ең үлкен
өлшемін көрсетеді. Көлденең
сызықтағы үзік ыдыстың ең кіші
диаметрін көрсетеді.
min.
max.
“Техникалық ақпарат” тарауын
қараңыз.
4.5 Bridge функциясы
Бұл функция қазан екі
аймақтың орталсын
жапқанда жұмыс істейді.
Бұл функция екі сол жақ пісіру алаңын
өзара қосады да, олар бір пісіру алаңы
ретінде жұмыс істейді.
Әуелі сол жақ пісіру алаңдарының
біріне қызу параметрін орнатыңыз.
Функцияны қосу үшін: түймешігін
басыңыз. Қызу параметрін орнату
немесе өзгерту үшін басқару
сенсорларының бірін түртіңіз.
Функцияны сөндіру үшін:
түймешігін басыңыз. Пісіру алаңдары
дербес жұмыс істейді.
4.6 Автоматты түрде
қыздыру
Қажетті қызу параметрін қысқа уақытта
алу үшін осы функцияны қосыңыз.
Қосулы тұрғанда пісіру алаңы басында
ең үлкен параметр бойынша жұмыс
істейді, содан кейін қажетті қызу
параметрі бойынша жұмысын
жалғастырады.
Бұл функцияны іске қосу
үшін, пісіру алаңы суық
болуы керек.
Функцияны пісіру алаңы үшін
қосқыңыз келсе:
түймешігін
басыңыз ( жанады). Қажетті
қыздыру параметрін дереу басыңыз. 5
секундтан кейін жанады.
Функцияны сөндіру үшін: қызу
параметрін өзгертіңіз.
4.7 Қуат функциясы
Бұл функция индукциялық пісіру
алаңдарына көп қуат береді. Бұл
функцияны индукциялық пісіру алаңы
үшін уақытын шектеп қосуға болады.
Осы уақыт аяқталғаннан кейін,
индукциялық пісіру алаңы автоматты
түрде ең үлкен қызу параметріне
қойылады.
“Техникалық ақпарат”
тарауын қараңыз.
Функцияны пісіру алаңы үшін
қосқыңыз келсе:
басыңыз.
жанады.
Функцияны сөндіру үшін: қызу
параметрін өзгертіңіз.
4.8 Таймер
Кері санақ таймері
Бұл функцияны қолданып пісіру
алаңының бір пісіру циклы кезінде
қанша уақыт жұмыс істейтінін
көрсетіңіз.
Алдымен пісіру алаңы үшін қыздыру
параметрін, содан кейін функцияны
орнатыңыз.
www.aeg.com
10
Содержание
- 24 Общие правила техники безопасности
- 25 УКАЗАНИЯ ПО БЕЗОПАСНОСТИ; электросети
- 29 Индикаторы ступеней нагрева
- 30 индикатор остаточного; ЕЖЕДНЕВНОЕ ИСПОЛЬЗОВАНИЕ; выключение; Значение мощности
- 34 Шум во время работы
- 35 использования варочной
- 36 Чистка варочной панели
- 37 ПОИСК И УСТРАНЕНИЕ НЕИСПРАВНОСТЕЙ
- 40 Если решение найти не; Серийный; варочные панели
- 42 ТЕХНИЧЕСКИЕ ДАННЫЕ; техническими данными
- 43 Спецификация конфорок; ЭНЕРГОЭФФЕКТИВНОСТЬ
- 44 электроэнергии; ОХРАНА ОКРУЖАЮЩЕЙ СРЕДЫ
Характеристики
Остались вопросы?Не нашли свой ответ в руководстве или возникли другие проблемы? Задайте свой вопрос в форме ниже с подробным описанием вашей ситуации, чтобы другие люди и специалисты смогли дать на него ответ. Если вы знаете как решить проблему другого человека, пожалуйста, подскажите ему :)