Варочная панель AEG HKP87420IB - инструкция пользователя по применению, эксплуатации и установке на русском языке. Мы надеемся, она поможет вам решить возникшие у вас вопросы при эксплуатации техники.
Если остались вопросы, задайте их в комментариях после инструкции.
"Загружаем инструкцию", означает, что нужно подождать пока файл загрузится и можно будет его читать онлайн. Некоторые инструкции очень большие и время их появления зависит от вашей скорости интернета.

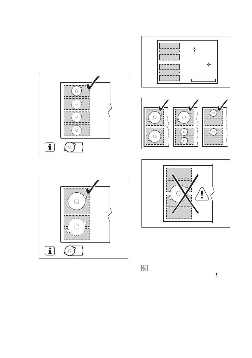
Выбирайте режим, подходящий к
размеру и форме кухонной посуды.
Кухонная посуда должна как можно
полнее накрывать выбранную зону
приготовления. Помещайте кухонную
посуду в центр выбранной зоны!
Если диаметр дна кухонной посуды
составляет менее 160 мм, размещайте
ее в центре одиночной секции.
125-160mm
Если диаметр дна кухонной посуды
составляет более 160 мм, размещайте
ее посередине между двумя секциями.
> 160 mm
5.2 FlexiBridge Стандартный
режим
Данный режим включается
автоматически при включении
варочной панели. Он объединяет
секции двух отдельных конфорок.
Стороны конфорок, которые в данном
режиме работают совместно,
подсвечиваются и соединяются более
короткими подсвеченными
линиями.Мощность нагрева можно
задать для каждой конфорки
отдельно. Используйте две линейки
управления с левой стороны.
Правильное размещение посуды:
Неправильное размещение посуды:
5.3 FlexiBridge Режим «Биг
Бридж» («Большое
объединение»)
Для включения режима нажимайте на
до тех пор, пока не увидите
индикатор требуемого режима .
Данный режим объединяет три задние
секции в одну конфорку. Одна
передняя секция остается
необъединенной и работает как
отдельная конфорка. Мощность
нагрева можно задать для каждой
конфорки отдельно. Для выбора
мощности нагрева воспользуйтесь
двумя линейками управления с левой
стороны. Для управления зоной
РУССКИЙ
41
Содержание
- 30 Общие правила техники безопасности
- 31 УКАЗАНИЯ ПО БЕЗОПАСНОСТИ
- 32 электросети
- 35 Индикаторы ступеней нагрева
- 36 индикатор остаточного; ЕЖЕДНЕВНОЕ ИСПОЛЬЗОВАНИЕ; выключение
- 37 Значение мощности
- 39 OffSound Control
- 40 управления мощностью; ИНДУКЦИОННАЯ КОНФОРКА С; Функция FlexiBridge
- 41 FlexiBridge Режим «Биг
- 42 FlexiBridge Режим «Макс; Функция PowerSlide
- 44 Шум во время работы
- 46 Чистка варочной панели; ПОИСК И УСТРАНЕНИЕ НЕИСПРАВНОСТЕЙ
- 50 Если решение найти не
- 51 Серийный; варочные панели
- 53 ТЕХНИЧЕСКИЕ ДАННЫЕ; техническими данными
- 54 ЭНЕРГОЭФФЕКТИВНОСТЬ; электроэнергии
- 55 ОХРАНА ОКРУЖАЮЩЕЙ СРЕДЫ
Характеристики
Остались вопросы?Не нашли свой ответ в руководстве или возникли другие проблемы? Задайте свой вопрос в форме ниже с подробным описанием вашей ситуации, чтобы другие люди и специалисты смогли дать на него ответ. Если вы знаете как решить проблему другого человека, пожалуйста, подскажите ему :)













