Варочная панель AEG HKP87420IB - инструкция пользователя по применению, эксплуатации и установке на русском языке. Мы надеемся, она поможет вам решить возникшие у вас вопросы при эксплуатации техники.
Если остались вопросы, задайте их в комментариях после инструкции.
"Загружаем инструкцию", означает, что нужно подождать пока файл загрузится и можно будет его читать онлайн. Некоторые инструкции очень большие и время их появления зависит от вашей скорости интернета.

5. ИКЕМДІ ИНДУКЦИЯЛЫҚ ПІСІРУ АЛАҢЫ
ЕСКЕРТУ!
Қауіпсіздік тарауларын
қараңыз.
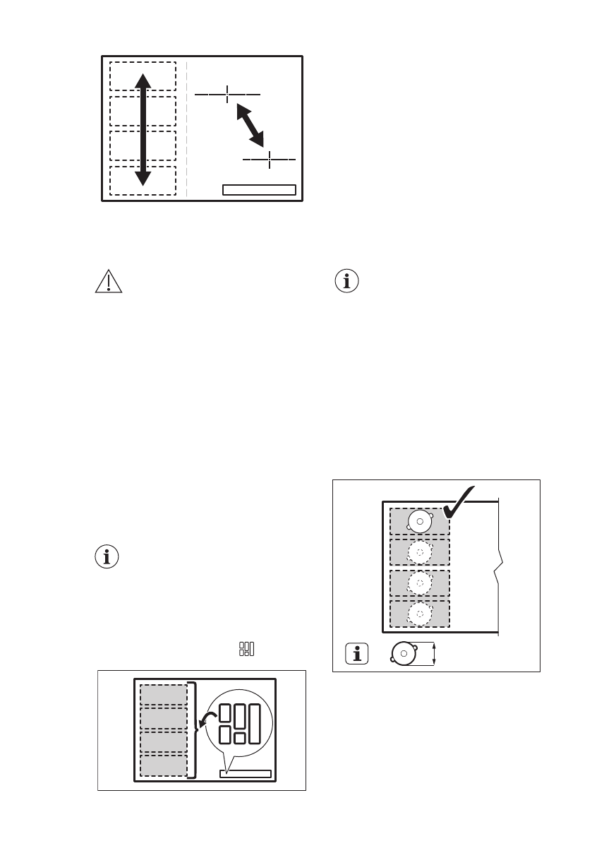
5.1 FlexiBridge функциясы
Икемді индукциялық пісіру алаңы төрт
алаңнан тұрады. Секцияларды
өлшемдері әр түрлі екі пісіру алаңына
немесе бір үлкен пісіру алаңына
біріктіруге болады. Бірге жұмыс
істейтін алаңдардың жиектері жанып,
қысқа жанған сызықпен қосылып
тұрады.Қолданылатын ыдыстың
өлшеміне қарай, сай келетін режимді
таңдап, алаңдар комбинациясын
таңдауға болады. Үш режим бар:
Стандартты (пешті қосқанда
автоматты түрде қосылады), Үлкен
көпір және Макс. көпір.
Қыздыру параметрін
орнату үшін сол жақтағы
екі басқару жолағын
пайдаланыңыз.
Режимдер арасын ауыстыру
Режимдер арасын ауыстыру үшін
сенсорды пайдаланыңыз: .
Режимдердің арасын
ауыстырғанда, қыздыру
параметрі 0 қалпына
қайтарылады.
Ыдыс диаметрі және орналасқан
орны
Ыдыстың өлшемі мен пішіміне сәйкес
келетін режимді таңдаңыз. Ыдыс
таңдаған алаңды мүмкіндігінше толық
жауып тұруы керек. Ыдысты таңдалған
алаңның ортасына қойыңыз!
Табанының диаметрі 160 мм-ден кіші
ыдысты бір алаңның ортасына
қойыңыз.
125-160mm
Табанының диаметрі 160 мм-ден
үлкен ыдысты екі алаңның ортасына
қойыңыз.
ҚАЗАҚ
13
Содержание
- 30 Общие правила техники безопасности
- 31 УКАЗАНИЯ ПО БЕЗОПАСНОСТИ
- 32 электросети
- 35 Индикаторы ступеней нагрева
- 36 индикатор остаточного; ЕЖЕДНЕВНОЕ ИСПОЛЬЗОВАНИЕ; выключение
- 37 Значение мощности
- 39 OffSound Control
- 40 управления мощностью; ИНДУКЦИОННАЯ КОНФОРКА С; Функция FlexiBridge
- 41 FlexiBridge Режим «Биг
- 42 FlexiBridge Режим «Макс; Функция PowerSlide
- 44 Шум во время работы
- 46 Чистка варочной панели; ПОИСК И УСТРАНЕНИЕ НЕИСПРАВНОСТЕЙ
- 50 Если решение найти не
- 51 Серийный; варочные панели
- 53 ТЕХНИЧЕСКИЕ ДАННЫЕ; техническими данными
- 54 ЭНЕРГОЭФФЕКТИВНОСТЬ; электроэнергии
- 55 ОХРАНА ОКРУЖАЮЩЕЙ СРЕДЫ
Характеристики
Остались вопросы?Не нашли свой ответ в руководстве или возникли другие проблемы? Задайте свой вопрос в форме ниже с подробным описанием вашей ситуации, чтобы другие люди и специалисты смогли дать на него ответ. Если вы знаете как решить проблему другого человека, пожалуйста, подскажите ему :)













