Усилители Yamaha RX-V650 - инструкция пользователя по применению, эксплуатации и установке на русском языке. Мы надеемся, она поможет вам решить возникшие у вас вопросы при эксплуатации техники.
Если остались вопросы, задайте их в комментариях после инструкции.
"Загружаем инструкцию", означает, что нужно подождать пока файл загрузится и можно будет его читать онлайн. Некоторые инструкции очень большие и время их появления зависит от вашей скорости интернета.

ɉɈȾɄɅɘɑȿɇɂə
ɉɨɞɤɥɸɱɟɧɢɟ ɚɭɞɢɨɤɨɦɩɨɧɟɧɬɨɜ
§
ɉɨɞɤɥɸɱɟɧɢɹ ɞɥɹ ɚɭɞɢɨɤɨɦɩɨɧɟɧɬɨɜ
§
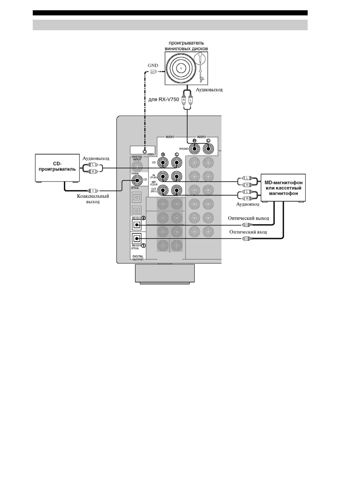
ɉɨɞɤɥɸɱɟɧɢɟ ɩɪɨɢɝɪɵɜɚɬɟɥɹ
ɜɢɧɢɥɨɜɵɯ ɞɢɫɤɨɜ
Ɋɚɡɴɟɦɵ
PHONO
ɩɪɟɞɧɚɡɧɚɱɟɧɵ ɞɥɹ ɩɨɞɤɥɸɱɟɧɢɹ
ɩɪɨɢɝɪɵɜɚɬɟɥɹ ɬɢɩɚ ɆɆ ɥɢ Ɇɋ ɫ ɜɵɫɨɤɢɦ
ɜɵɯɨɞɨɦ
,
ɜ ɫɥɭɱɚɟ ɩɪɢɦɟɧɟɧɢɹ ɩɪɨɢɝɪɵɜɚɬɟɥɹ ɬɢɩɚ
Ɇɋ ɫ ɧɢɡɤɢɦ ɜɵɯɨɞɨɦ ɢɫɩɨɥɶɡɭɣɬɟ
ɩɪɟɨɛɪɚɡɨɜɚɬɟɥɶ ɢɥɢ ɭɫɢɥɢɬɟɥɶ Ɇɋ
.
Ɋɚɡɴɟɦ
GND
ɧɟ ɹɜɥɹɟɬɫɹ ɷɥɟɤɬɪɢɱɟɫɤɢɦ
ɡɚɡɟɦɥɟɧɢɟɦ
,
ɨɧ ɩɪɟɞɧɚɡɧɚɱɟɧ ɞɥɹ ɭɦɟɧɶɲɟɧɢɹ
ɲɭɦɨɜ ɜ ɫɢɝɧɚɥɟ
.
ȼ ɧɟɤɨɬɨɪɵɯ ɫɥɭɱɚɹɯ ɦɟɧɶɲɟ
ɲɭɦɨɜ ɛɭɞɟɬ ɩɪɢ ɨɬɤɥɸɱɟɧɢɢ ɤɚɛɟɥɹ ɨɬ ɷɬɨɝɨ
ɪɚɡɴɟɦɚ
.
20
Содержание
- 3 Использование тестового тонального; СОДЕРЖАНИЕ
- 4 Описание звукового поля; означает совет для облегчения управления.; ОПИСАНИЕ
- 5 ВВЕДЕНИЕ; Пожалуйста, убедитесь в получении всех следующих аксессуаров.; Нажмите на; Примечания по батарейкам; • В случае снижения зоны действия пульта ДУ, или когда; ПОДГОТОВКА К ЭКСПЛУАТАЦИИ; Поставляемые аксессуары; Установка батареек в пульт ДУ
- 6 Гнездо OPTIMIZER MIC; Прием сигналов от пульта ДУ.; Дисплей фронтальной панели; СИСТЕМЫ УПРАВЛЕНИЯ И ФУНКЦИИ; Фронтальная панель; J K; (Только модели для Соединенного Королевства; Примечание
- 7 Переключение функции PRESET/TUNING
- 11 Загорается при выборе режима ночного прослушивания.; CD; F G
- 13 Задняя панель
- 14 ОДГ; Сабвуфер; УСТАНОВКА КОЛОНОК; Размещение колонок
- 15 • До выполнения подключений колонок,; Отпустите защелку для закрепления провода.; Подключение колонок; ПРЕДОСТЕРЕЖЕНИЕ; “Банановый” штекер
- 16 звуковых полей, звучание от них отсутствует.
- 17 Схема расстановки колонок
- 18 Индикации кабелей; Пылезащитный колпачок; Видеогнезда; Гнездо VIDEO; Для обычных композитных видеосигналов.; Гнездо S VIDEO; ПОДКЛЮЧЕНИЯ
- 19 Подключения для воспроизведения программы DVD; Подключение видеокомпонентов; проигрыватель
- 20 Подключение к гнездам MULTI CH INPUT; Примечания; Для 6-канального приема; Для 8-канального приема
- 21 Подключения для других видеокомпонентов; Кабельное
- 23 Подключение к внешнему усилителю; Гнезда FRONT PRE OUT; Выходные гнезда линии фронтального канала.; Гнезда SURROUND PRE OUT; Выходное гнездо линии центрального канала.; Гнезда SURROUND BACK PRE OUT
- 24 Подключение рамочной АМ-антенны; • Рамочная AM-антенна должна быть установлена на; Подключение антенн
- 25 Общая модель; Резервная копия памяти; Подключение кабеля питания; VOLTAGE SELECTOR
- 27 Включение питания; или
- 28 ФУНКЦИЯ АВТОМАТИЧЕСКОЙ НАСТРОЙКИ; Введение; Расположение микрофона оптимизатора
- 29 AUTO; Начало настройки; SET MENU
- 30 • Для отображения информации об; Нажав кнопку; SET; • При отображении индикации E-10 во время проверки,; При появлении экрана ошибки; Нажимайте кнопку; RETRY; ERROR
- 31 Нажмите кнопку; • При изменении колонок, расположения колонок, или
- 32 для переключения сообщений об ошибках.; Предостережения после процедуры автоматической настройки
- 33 ВОСПРОИЗВЕДЕНИЕ; Основные операции; D V D
- 34 ОСНОВНЫЕ; • Данный аппарат не установится на режим “SILENT; Настройка тональности; • Выберите параметр BASS для настройки; Приглушение звучания; Пульт ДУ
- 35 Выбор функции MULTI CH INPUT; Управление с фронтальной панели; J A Z Z
- 36 Управление с пульта ДУ; • При выборе источника поступающего сигнала, данный
- 37 PRO LOGIC SUR. STANDARD
- 38 • Для избежания внезапного шума, не воспроизводите; Режимы ночного прослушивания; • При просмотре кинофильмов, выберите режим; Нажимая кнопку; Это позволяет настроить уровень сжатия.; • Режимы ночного прослушивания недоступны при
- 39 -канальное микширование; ch Stereo; Прослушивание несжатых поступающих сигналов; Virtual CINEMA DSP; – Если выбрана функция MULTI CH INPUT как; * Если данный аппарат обнаруживает сигнал; Выбор режимов
- 40 – Режим декодирования DTS может быть отключен,; in; затем
- 41 Автоматическая настройка; Нажмите кнопку PRESET/TUNING; НАСТРОЙКА; AM; Загорается; A M
- 42 Ручная настройка; Отключается
- 43 • Любая информация о радиостанции, сохраненной под; Опции автоматической предустановки; кнопку PRESET/TUNING; Настройтесь на радиостанцию.; Около 5 секунд мигает индикатор MEMORY.; M H z; k H z; Мигает; k H z; Группа предустановки
- 44 Нажимая кнопку PRESET/TUNING
- 45 E D I T
- 46 Смотрите раздел “Функция EON” на следующей странице.; Частота
- 47 Нажав кнопку PRESET/TUNING; • Аппарат прекращает поиск при нахождении; Отмена данной функции; Дважды нажмите кнопку PTY SEEK MODE.; Функция PTY SEEK; POP M
- 48 • При начале трансляции выбранного типа; Функция EON
- 49 ЗАПИСЬ
- 50 ПРОГ; ОПИСАНИЕ ПРОГРАММ ЗВУКОВОГО ПОЛЯ; Для видеоисточников и кинофильмов; Программа; MULTI
- 53 Для музыкальных источников
- 54 Полный экран; Установка таймера сна; ДОПОЛНИТЕЛЬНЫЕ ОПЕРАЦИИ; P08 MOVIE THEATER; Полный экран; Применение таймера сна; SLEEP OFF; S L E E P; C O N C E R T; Индикатор SLEEP
- 55 Отмена таймера сна; FRONT L; SLEEP OFF
- 57 AUTO SETUP; Используйте для настройки параметров колонок и системы вручную.; SOUND MENU; Настройка дополнительных параметров системы.; МЕНЮ НАСТРОЙКИ
- 58 Использование SET MENU; MANUAL SETUP
- 59 Набор колонок; Центральная колонка; SML; FRONT SP; LARGE; CENTER SP
- 60 PRESENCE SP; CROSS OVER
- 61 Уровень колонок; UNIT; SUBWOOFER PHASE
- 62 Уровень низкочастотного эффекта; В зависимости от настроек “LFE LEVEL; Динамический диапазон
- 63 • Выберите OFF для выключения эффекта; INPUT MENU
- 64 • Вы не можете выбрать определенный параметр; Режим приема; • Выберите AUTO для автоматического; Настройка дисплея; DIMMER; OPTION MENU; OPTION
- 65 Защита памяти; OFF; Инициализация параметра; SP B; GUARD
- 67 , выберите компонент для
- 68 Управление другими компонентами
- 73 ЬНА; Элементы звукового поля; Ранние отражения; РЕДАКТИРОВАНИЕ ПАРАМЕТРОВ ЗВУКОВОГО; Понятие звукового поля; No программы
- 74 до исчезновения звездочки
- 75 DSP LEVEL; ОПИСАНИЕ ПАРАМЕТРОВ ЗВУКОВОГО ПОЛЯ
- 76 LIVENESS
- 77 Чем больше значение, тем сильнее реверберация.
- 78 Постепенное стягивание звукового поля вперед или назад.
- 79 Общая часть; ВОЗМОЖНЫЕ НЕИСПРАВНОСТИ И СПОСОБЫ ИХ; Неисправность; Отсутствует звук
- 82 Тюнер
- 84 Reset; СБРОС НАСТРОЕК В ИСХОДНЫЕ НАСТРОЙКИ
- 85 Dolby Digital; СПРАВОЧНИК; Аудиоформаты
- 86 CINEMA DSP; Программы звукового поля
- 87 Компонентный видеосигнал; и P; Композитный видеосигнал



