Усилители Yamaha PC4801N - инструкция пользователя по применению, эксплуатации и установке на русском языке. Мы надеемся, она поможет вам решить возникшие у вас вопросы при эксплуатации техники.
Если остались вопросы, задайте их в комментариях после инструкции.
"Загружаем инструкцию", означает, что нужно подождать пока файл загрузится и можно будет его читать онлайн. Некоторые инструкции очень большие и время их появления зависит от вашей скорости интернета.

7
+
–
+
–
or
+
–
5W
10W
15W
5
1
30
1
1
20
5W
10W
15W
5 Вт х 5 громкоговорителей(25 Вт) 10 Вт х 30 громкоговорителей (300 Вт) 15 Вт х 20 громкоговорителей (300 Вт)
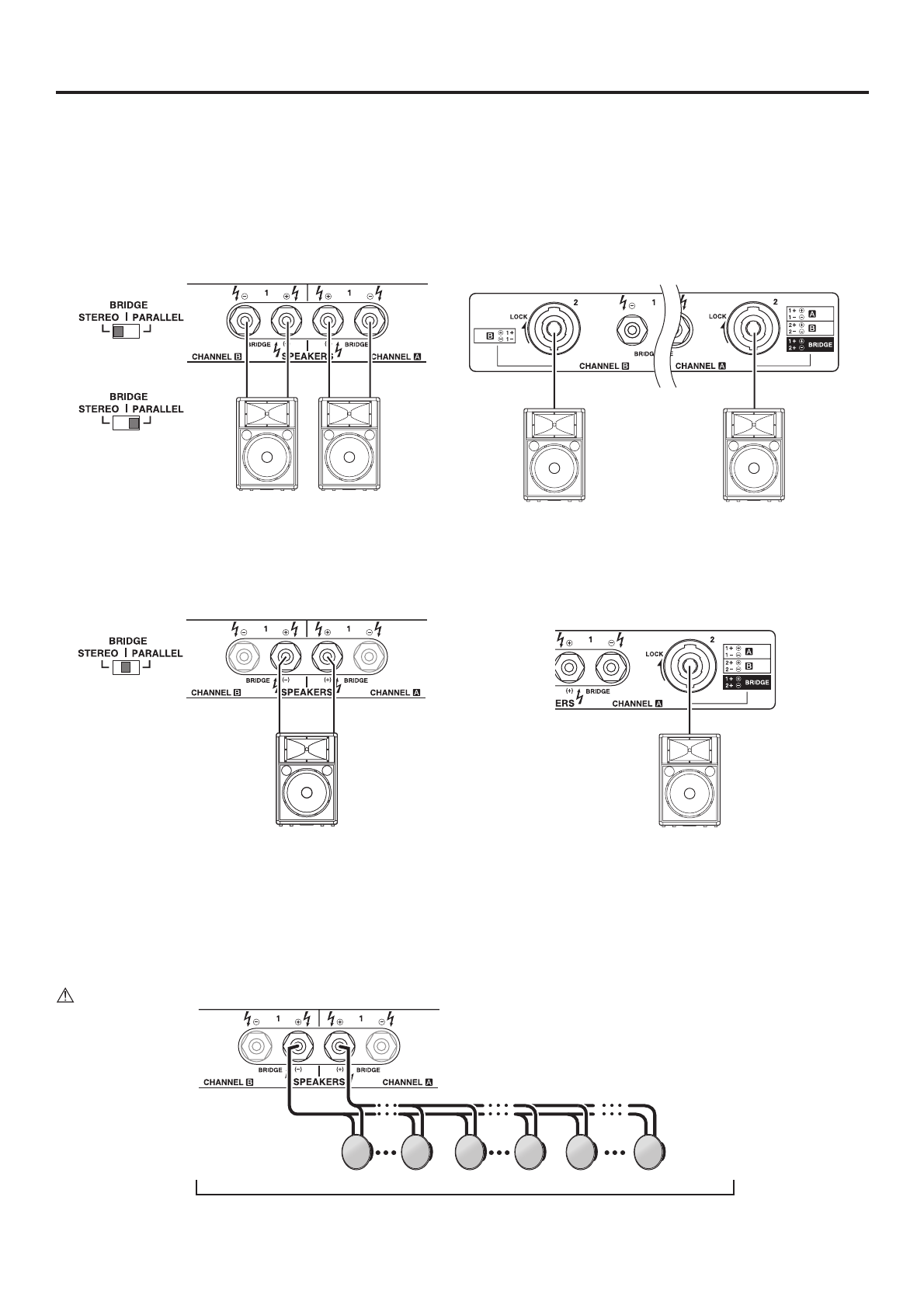
Типы подключения громкоговорителей
Ниже приведены способы подключения громкоговорителей к усилителю. Пожалуйста, обратите внимание, что
импеданс громкоговорителей меняется в зависимости от схемы подключения и количества громкоговорителей.
Убедитесь в том, что значение импеданса Ваших громкоговорителей не менее соответствующего значения,
указанного ниже.
Схемы подключения для режимов STEREO и PARALLEL.
Использование 5-контактной клеммы
Использование разъема типа Speakon
Минимальный импеданс
громкоговорителя: 4 Ом
Минимальный импеданс
громкоговорителя: 4 Ом
Минимальный импеданс
громкоговорителя: 4 Ом
Минимальный импеданс
громкоговорителя: 4 Ом
Схемы подключения для режима BRIDGE
Использование 5-контактной клеммы
Использование разъема типа Speakon
Минимальный импеданс
громкоговорителя: 8 Ом
Минимальный импеданс
громкоговорителя: 8 Ом
Параллельное подключение громкоговорителей с высоким импедансом (только для PC3301N)
Количество подключаемых громкоговорителей зависит от их номинальной потребляемой мощности. К усилителю
PC3301N можно подключить любое количество громкоговорителей, общая потребляемая мощность которых не
превышает 625 Вт. Например, к усилителю можно подключить 5 громкоговорителей с потребляемой мощностью
5 Вт (25 Вт), тридцать громкоговорителей с потребляемой мощностью 10 Вт (300 Вт) и двадцать громкоговорителей с
номинальной потребляемой мощностью 15 Вт (300 Вт). В этом случае Вы будете эксплуатировать усилитель с общей
потребляемой мощностью в 625 Вт в соответствие с иллюстрацией:
ВНИМАНИЕ
Убедитесь в том, что громкоговорители совместимы с линейным выходом 100 В.
Содержание
- 3 МЕРЫ ПРЕДОСТОРОЖНОСТИ; ПРЕДУПРЕЖДЕНИЕ
- 4 Введение; Содержание
- 5 Передняя панель; Управление и функции
- 6 Задняя панель
- 7 Типы подключения громкоговорителей; Схемы подключения для режимов STEREO и PARALLEL.; Схемы подключения для режима BRIDGE
- 8 Разъем типа Euroblock; Подсоединение; Подключение громкоговорителей; Вилки Neutrik NL4FC
- 9 Вентиляция; Вид; Монтаж устройства в стойке
- 10 Технические характеристики; Основные технические характеристики
- 13 Устранение неполадок; Характеристики усилителей