Тепловентиляторы Elenberg WH11-20 - инструкция пользователя по применению, эксплуатации и установке на русском языке. Мы надеемся, она поможет вам решить возникшие у вас вопросы при эксплуатации техники.
Если остались вопросы, задайте их в комментариях после инструкции.
"Загружаем инструкцию", означает, что нужно подождать пока файл загрузится и можно будет его читать онлайн. Некоторые инструкции очень большие и время их появления зависит от вашей скорости интернета.

7
1. если Вы не собираетесь пользоваться обогревателем длительное вре-
мя, вытрите его и положите в картонную упаковочную коробку. По-
местите коробку в вентилируемое и сухое место. Высокая влажность
и давление со стороны посторонних предметов не допускаются.
2. Перед чисткой аппарата дайте ему остыть и выньте вилку шнура пи-
тания из розетки. Не мойте аппарат струей воды и не допускайте
попадания воды внутрь аппарата. Не чистите аппарат кислотой, рас-
творителем, бензином, бензолом и т.п.
3. Перед повторным использованием аппарата убедитесь, что его воз-
духо-впускное и воздуховыпускное отверстия не заблокированы
посторонними предметами.
Напряжение:
220-240 В
частота:
50 гц
мощность:
2000 Вт
Дополнительно:
с пультом дистанционного управления
По истечении срока службы товара, необходимо обратиться в сервисный
центр за консультацией по дальнейшей эксплуатации товара. В про-
тивном случае дальнейшая эксплуатация может повлечь невозможность
нормального использования товара.
чисТКа и УХОД
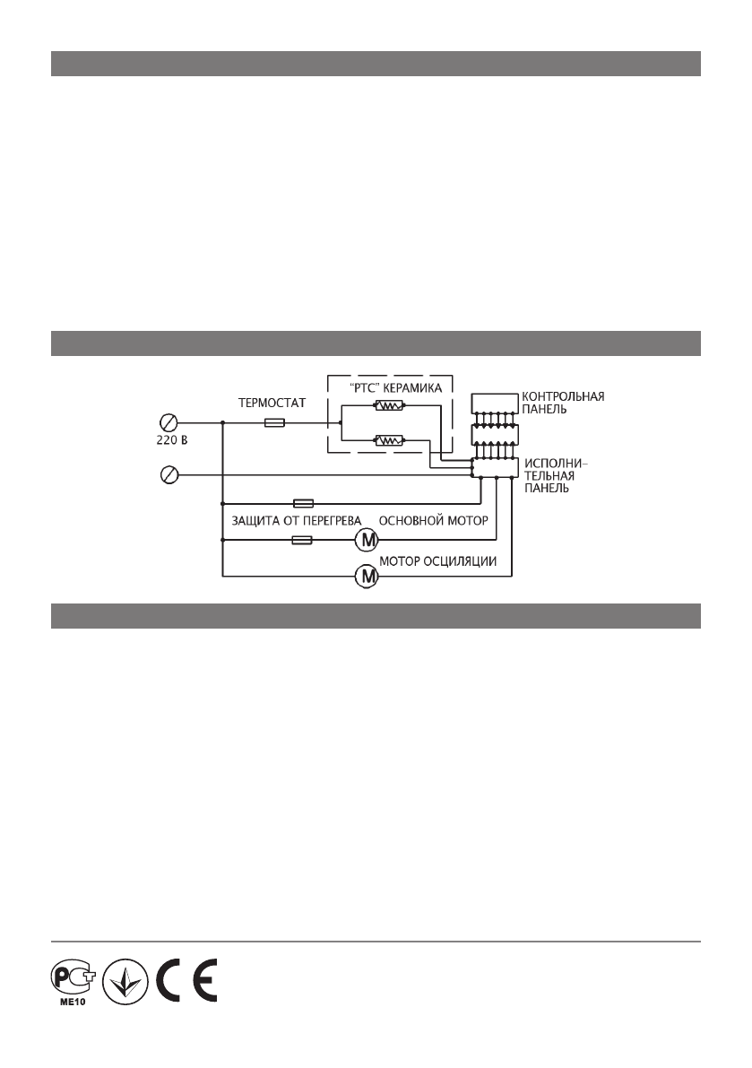
ЭЛеКТричесКаЯ сХема
ТеХНичесКие ПарамеТры
изготовитель “ЭЛеНберг ЛимиТеД”, Великобритания
адрес: 35 бромптон роад, Кнайтсбридж Лондон сВ3 иДе
сделано в Китае. ”ЭЛеНберг ЭЛеКТриК КОмПаНи ЛТД”
а08 р2-б4 билдинг, Кеджинан 2 роад, с энд Т индастри Парк,
Шензень, гуандонг Провинс, Китай.
срок службы данного изделия -
года с момента продажи