Тепловентиляторы Elenberg WH11-20 - инструкция пользователя по применению, эксплуатации и установке на русском языке. Мы надеемся, она поможет вам решить возникшие у вас вопросы при эксплуатации техники.
Если остались вопросы, задайте их в комментариях после инструкции.
"Загружаем инструкцию", означает, что нужно подождать пока файл загрузится и можно будет его читать онлайн. Некоторые инструкции очень большие и время их появления зависит от вашей скорости интернета.

13
1. If you don’t use the heater for a long time, please wipe the surface and
put it into the box. Lay the carton on the ventilated and dry place. Hu-
midity and force press was prohibited.
2. Wait for the machine being cool and pull out the plug, then clean it. Wipe
it clean with wet wash cloth or cleaner. Never directly wash with water,
do not drop the water into the machine. Never clean it with acids, chemi-
cal thinner, gasoline, benzene etc.
3. Before use it again, please check it and make sure the outlet ventilation
have no sundries.
Voltage:
220-240 V
Frequency:
50 Hz
Power:
2000 W
Speciication: Remote control
Address to service centre for consultation, when the service life of prod-
uct has expired. Otherwise the further operation can entail impossibility of
normal use of the product.
CLEANING AND MAINTENANCE
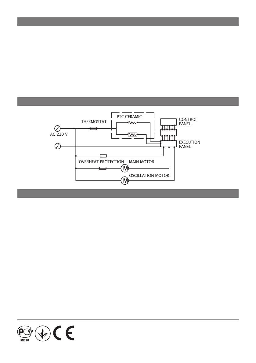
ELECTRIC DRAWING
TECHNICAL PARAMETERS
Service life of the given product -
years from the moment of sale