Телевизоры U50H8000E - инструкция пользователя по применению, эксплуатации и установке на русском языке. Мы надеемся, она поможет вам решить возникшие у вас вопросы при эксплуатации техники.
Если остались вопросы, задайте их в комментариях после инструкции.
"Загружаем инструкцию", означает, что нужно подождать пока файл загрузится и можно будет его читать онлайн. Некоторые инструкции очень большие и время их появления зависит от вашей скорости интернета.

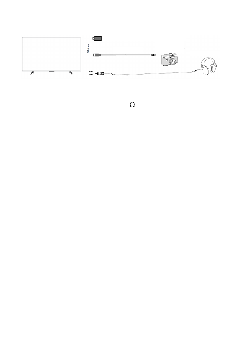
Құлаққаптарды, USB-құрылғыларды қосу
Теледидардың USB-құрылғысын қосуға арналған жалғағыш USB режимінде
ғана белсенді болады.
1. Цифрлық фотоаппаратты USB-кабель арқылы теледидарға қосыңыз.
2. Құлаққаптарды жалғағышына қосыңыз . Құлаққаптар дыбысының қат-
тылығы теледидар динамиктерінің қаттылығы сияқты реттеледі.
3. Сіздің USB-дискіңізді тікелей USB2.0 жалғағышына қосыңыз.
Назар аударыңыз!
• Қатты дискіні немесе USB-тасығышын қосу кезінде, қосылып тұрған құрылғы-
ның желілік бейімдегішін әрқашан қуат көзіне қосып тұрыңыз. Тоқты жалпы
тұтынудан асып кету құрылғының ақауына ұшыратуына мүмкін. USB 2.0
құрылғылары үшін токтың ең жоғары күші 500 мА құрайды.
• Қатты дискінің ток күші 1 А мәнінен үлкен немесе оған тек болса, оны қосу
кезінде теледидар артық жүктелуі немесе өздігінен бұғатталуы мүмкін.
• USB-порты 5 В кернеуді қолдайды.
USB-тасығышы (флеш-жад, қатты диск)
USB кабелі
Цифрлық
фотоаппарат
Құлаққаптар
Содержание
- 4 Мазмұны
- 7 Меры предосторожности
- 9 Установка телевизора; Советы по установке телевизора
- 12 Сборка подставки и настенная установка; Сборка подставки
- 13 Спецификация настенного крепления
- 14 Схема телевизора; Передняя и боковая панели
- 15 Задняя панель
- 16 Внешние подключения; Подключение антенны
- 17 Подключение HDMI устройств; Подключение усилителя НЧ; Подключение компьютера
- 18 Подключение DVD-проигрывателя; Подключение карты условного доступа CI+; Установка CAM-модуля в слот COMMON INTERFACE
- 20 Пульт дистанционного управления
- 22 Первое включение
- 23 Домашний экран
- 24 Настройка; Подключить пульт или другое устройство через Bluetooth; Изменить дату и время
- 25 Изменить настройки экрана; Изменить настройки звука
- 27 Обновить прошивку; Сбросить настройки; Другие настройки
- 29 Искать видео на КиноПоиске или в сети; Смотреть видео с внешнего устройства
- 30 Транслировать звук на внешнюю аудиосистему; Как пользоваться приложениями; Транслировать изображение со смартфона или
- 34 Справка и поддержка
- 35 Стандарт ISO 13406-2 различает 4 типа дефектных пикселей; Технические характеристики SMART-системы
- 36 Технические характеристики
- 37 Правила и условия монтажа, хранения, перевоз ки
- 38 Дополнительная информация; Техническое обслуживание
- 41 Гарантийный талон; Дата постановки на гарантию:
Характеристики
Остались вопросы?Не нашли свой ответ в руководстве или возникли другие проблемы? Задайте свой вопрос в форме ниже с подробным описанием вашей ситуации, чтобы другие люди и специалисты смогли дать на него ответ. Если вы знаете как решить проблему другого человека, пожалуйста, подскажите ему :)