Телевизоры Sony KDL-19L40xx / KDL-26L40xx / KDL-32L40xx - инструкция пользователя по применению, эксплуатации и установке на русском языке. Мы надеемся, она поможет вам решить возникшие у вас вопросы при эксплуатации техники.
Если остались вопросы, задайте их в комментариях после инструкции.
"Загружаем инструкцию", означает, что нужно подождать пока файл загрузится и можно будет его читать онлайн. Некоторые инструкции очень большие и время их появления зависит от вашей скорости интернета.

33
RU
Дополнительн
ы
е
свед
ения
KDL-32L40xx
KDL-26L40xx
KDL-19L40xx
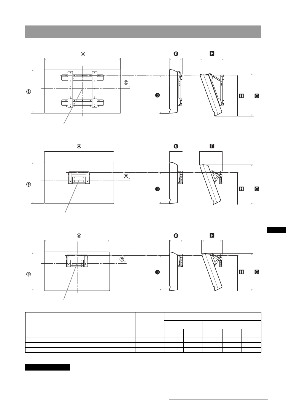
Единицы измерения: мм
Рисунки над таблицей могут немного отличаться в зависимости от установки.
Стена, на которую будет устанавливаться телевизор, должна быть достаточно прочной, чтобы
выдержать вес, по крайней мере, в четыре раза превышающий вес устанавливаемого
телевизора. Для определения веса телевизора см. пункт “Технические характеристики” (стр. 35).
Таблица установочных размеров телевизора
Название модели
Размеры экрана
Координата
положения
центра
экрана
Длина для каждого угла установки
Угол (0
°
)
Угол (20
°
)
A
B
C
D
E
F
G
H
KDL-32L40xx
807
548
172
485
167
304
532
513
KDL-26L40xx
674
470
92
352
153
258
456
357
KDL-19L40xx
479
376
125
339
136
215
362
340
Центральная точка экрана
Центральная точка экрана
Центральная точка экрана
ПРЕДУПРЕЖДЕНИЕ
Продолжение на следующей странице